| ||||||||||||||||||||||||||||||
Скачать ОСТ 153-34.0-984-99А Сборочные единицы и детали подвесок станционных трубопроводов атомных станций Pу <= 4,0 МПа (40 кгс/см2). Общие технические требованияДата актуализации: 10.08.2017
|
| Обозначение: | ОСТ 153-34.0-984-99А |
| Обозначение англ: | OST 153-34.0-984-99А |
| Статус: | отменен |
| Название рус.: | Сборочные единицы и детали подвесок станционных трубопроводов атомных станций Pу <= 4,0 МПа (40 кгс/см2). Общие технические требования |
| Дата добавления в базу: | 01.09.2013 |
| Дата актуализации: | 05.05.2017 |
| Дата введения: | 25.08.2004 |
| Область применения: | Стандарт распространяется на сборочные единицы и детали подвесок станционных трубопроводов низкого давления групп В и С атомных станций по ПН АЭ Г-7-008-89 "Правила устройства и безопасной эксплуатации оборудования и трубопроводов атомных энергетических установок" с рабочей температурой среды не более 300 градусов Цельсия. Подвески трубопроводов относятся к классу 2 безопасности по ОПБ-88/97 "Общие положения обеспечения безопасности атомных станций" и к категории 1 сейсмостойкости по ПН АЭ Г-5-006-89 "Нормы проектирования сейсмостойких атомных станций". Допускается применение сборочных единиц и деталей подвесок по настоящему стандарту для станционных трубопроводов атомных станций, на которые распространяются РД 03-94 "Правила пара и горячей воды" и СНиП 3.05.05-94 |
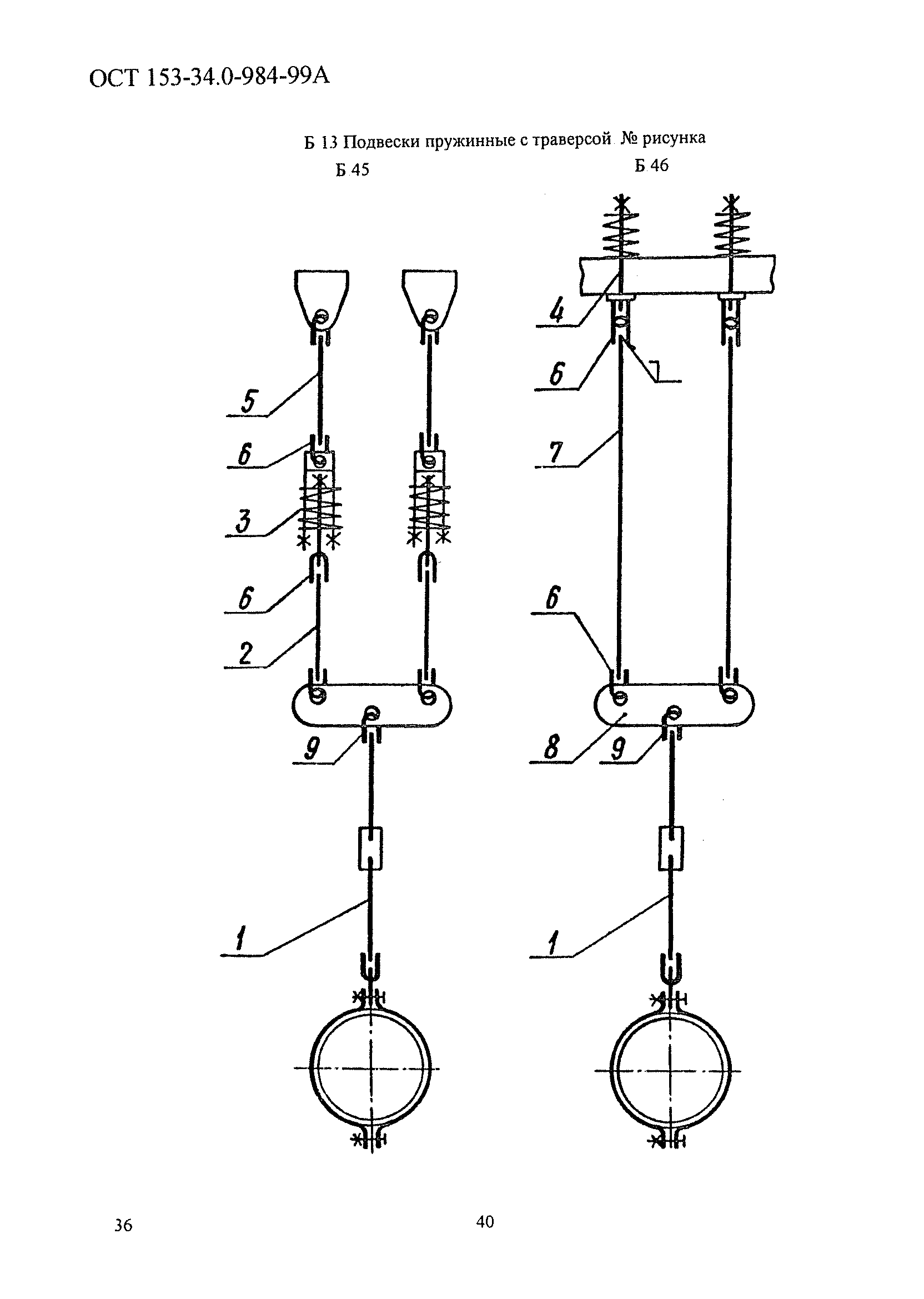
| Оглавление: | 1. Область применения 2. Нормативные ссылки 3. Конструкция и размеры 4. Требования Приложение А. Допускаемые длины пролетов и масса трубопроводов Приложение Б. Типы подвесок, собираемые из унифицированных элементов Приложение В. Допускаемые нагрузки на тяги подвесок Приложение Г. Библиография |
| Разработан: | ОАО Энергомонтажпроект ОАО Севзапэнергомонтажпроект |
| Утверждён: | 23.01.2001 Министерство энергетики РФ (Russian Federation Ministry of Energy 19) |
| Расположен в: | |
| Нормативные ссылки: |
|










































