| ||||||||||||||||||||||||||||
Скачать Шифр М27.38/07 Ветрозащита из материала JUTA в многослойных стенах и покрытиях с теплоизоляцией из минерало- и стекловатных плит и матов. Материалы для проектирования и рабочие чертежи узловДата актуализации: 10.08.2017
|
| Обозначение: | Шифр М27.38/07 |
| Обозначение англ: | М27.38/07 |
| Статус: | не определен законодательством |
| Название рус.: | Ветрозащита из материала "JUTA" в многослойных стенах и покрытиях с теплоизоляцией из минерало- и стекловатных плит и матов. Материалы для проектирования и рабочие чертежи узлов |
| Дата добавления в базу: | 01.09.2013 |
| Дата актуализации: | 05.05.2017 |
| Дата введения: | 15.12.1988 |
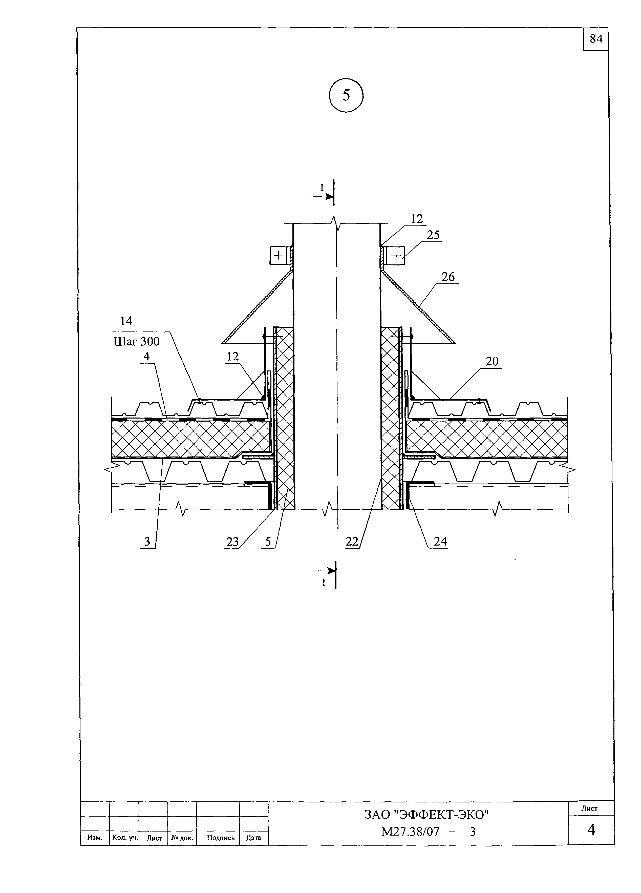
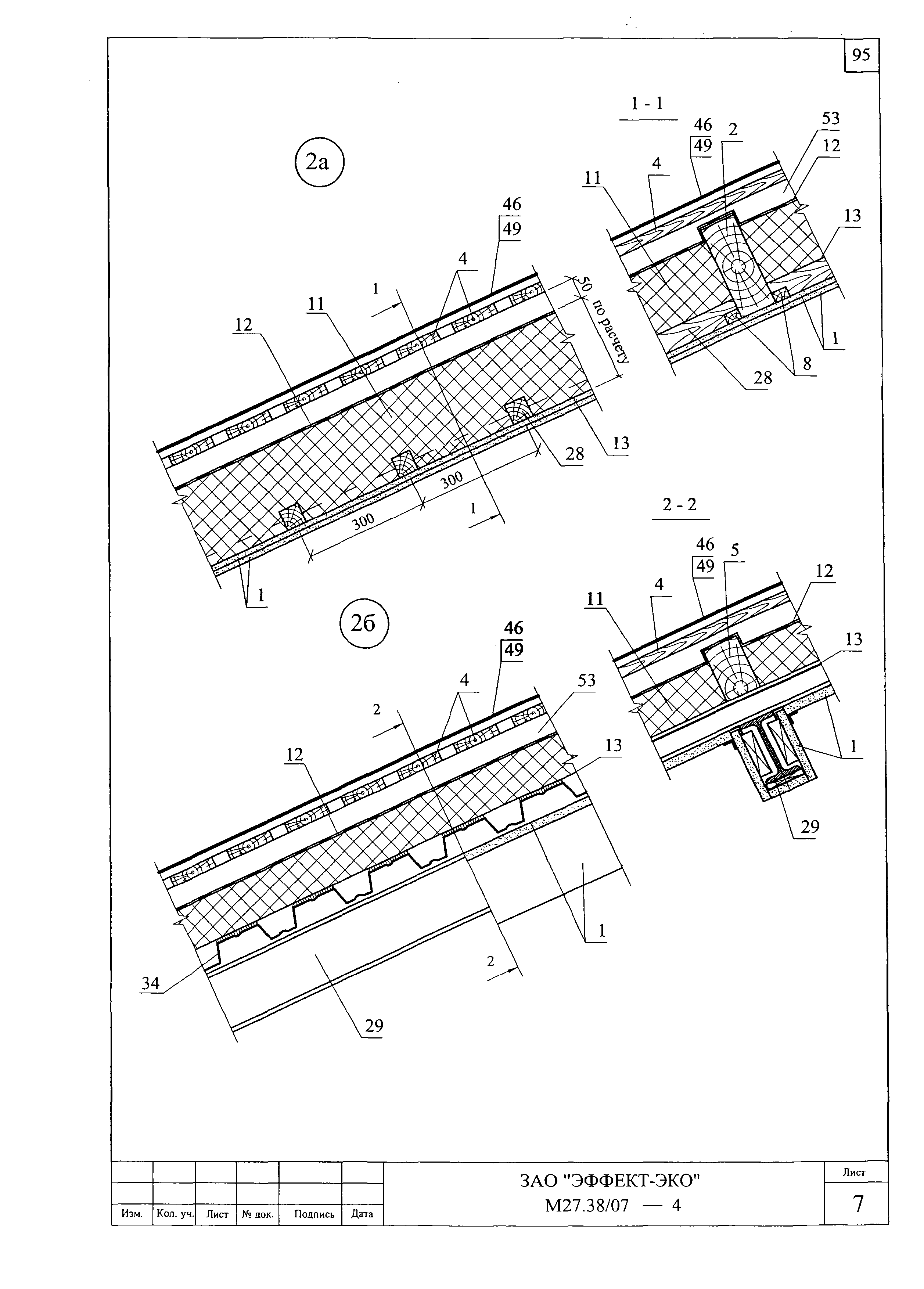
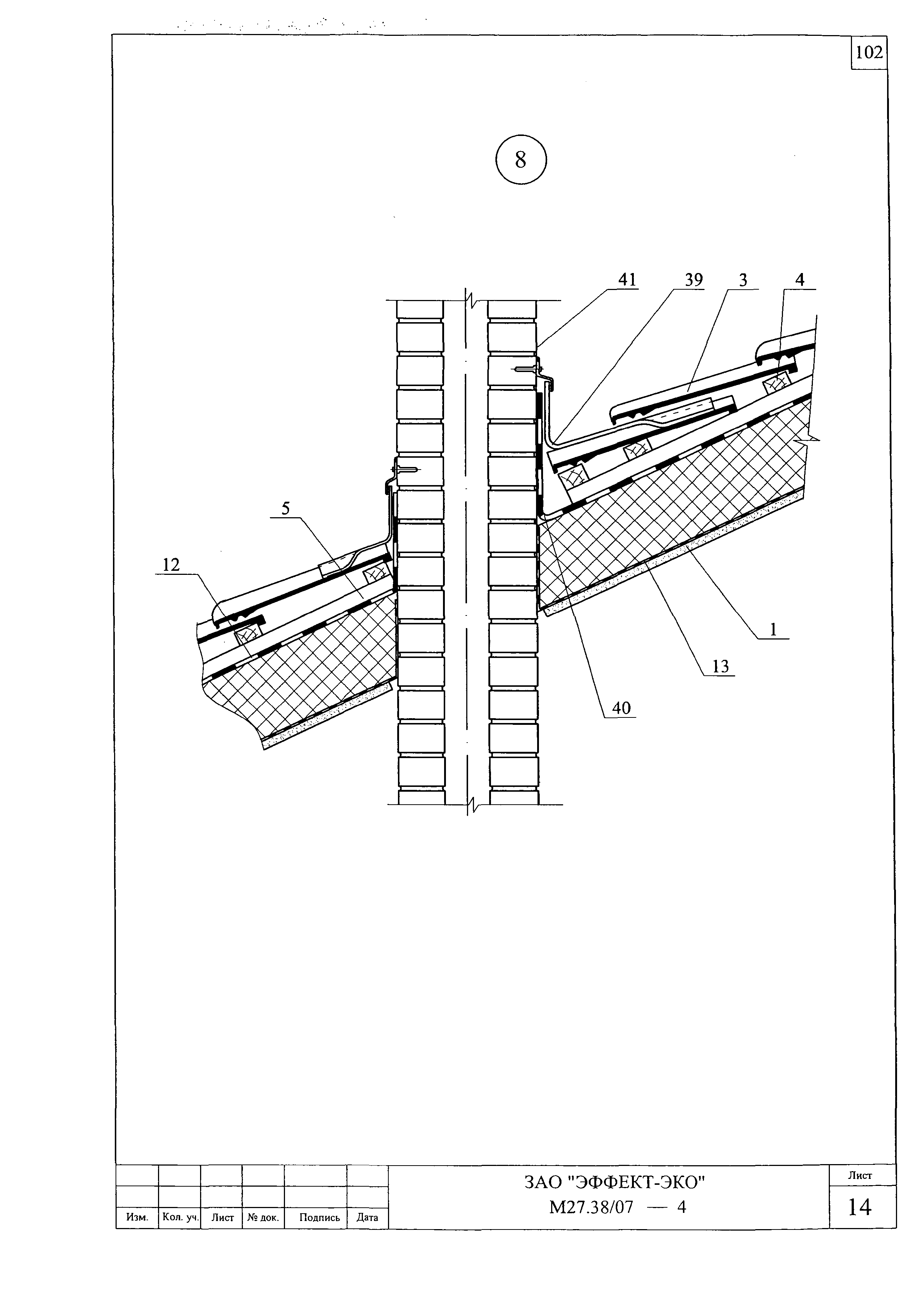
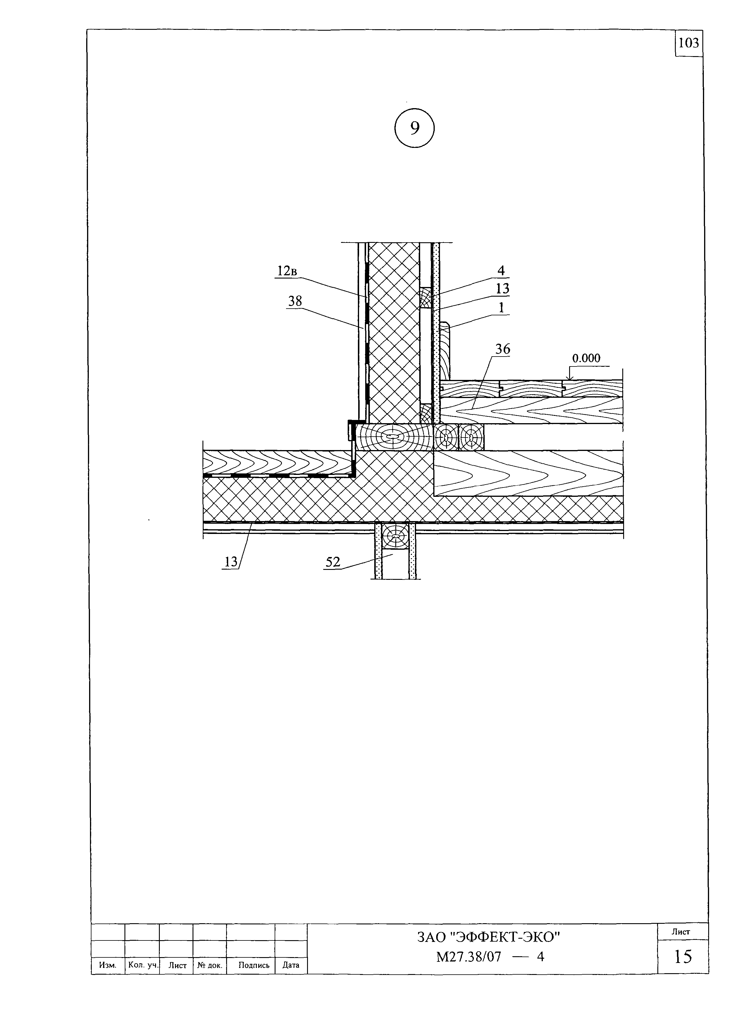
| Область применения: | Альбом содержит материалы для проектирования и рабочие чертежи узлов с применением ветро-, гидро- и пароизоляционных материалов "JUTA" в многослойных стенах и покрытиях зданий различного назначения с минерало- или стекловолокнистой теплоизоляцией |
| Оглавление: | М27.38/07 Сертификат М27.38/07-ПЗ Пояснительная записка М27.38/07-ПЗ 1. Общие положения М27.38/07-ПЗ 2. Применяемые материалы М27.38/07-ПЗ 3. Нормы теплозащиты и данные по толщине теплоизоляции М27.38/07-ПЗ 4. Стены с экранами из плиток М27.38/07-ПЗ 5. Стены с облицовкой из оцинкованных стальных профлистов М27.38/07-ПЗ 6. Покрытия с кровлей из оцинкованных стальных профлистов М27.38/07-ПЗ 7. Ограждающие конструкции мансард М27.38/07-ПЗ 8. Конструктивные решения чердачных перекрытий М27.38/07-ПЗ 9. Конструктивные решения полов М27.38/07-1 Раздел 1. Стены с экранами из плиток М27.38/07-2 Раздел 2. Стены с облицовкой из оцинкованных стальных профлистов М27.38/07-3 Раздел 3. Покрытия с кровлей из оцинкованных стальных профлистов М27.38/07-4 Раздел 4. Ограждающие конструкции мансард М27.38/07-1 Раздел 5. Чердачные перекрытия М27.38/07-1 Раздел 6. Полы М27.38/07 Приложение 1. Расчет приведенного сопротивления теплопередаче и температурно-влажностного режима многослойных конструкций стен с вентилируемой воздушной прослойкой. М27.38/07 Приложение 2. Расчет покрытия с вентилируемой воздушной прослойкой. |
| Разработан: | ОАО ЦНИИпромзданий |
| Утверждён: | 07.03.2008 ОАО ЦНИИпромзданий (TsNIIpromzdaniy OAO ) |
| Расположен в: |
















































































































































