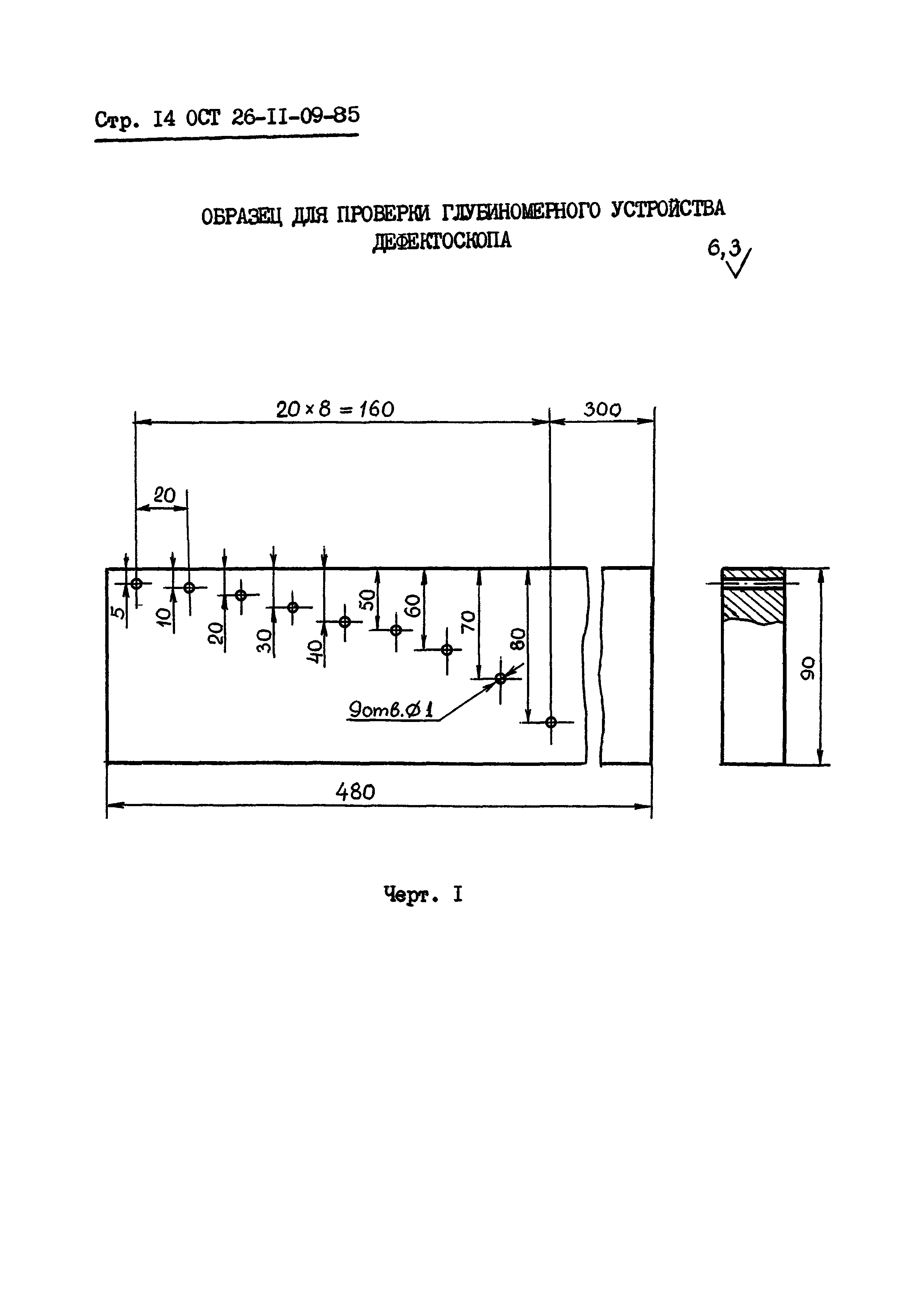
Скачать ОСТ 26-11-09-85 Поковки и штамповки сосудов и аппаратов, работающих под давлением. Методика ультразвукового контроляДата актуализации: 10.08.2017 ОСТ 26-11-09-85
Поковки и штамповки сосудов и аппаратов, работающих под давлением. Методика ультразвукового контроляОбозначение: | ОСТ 26-11-09-85 | Обозначение англ: | OST 26-11-09-85 | Статус: | не определен законодательством | Название рус.: | Поковки и штамповки сосудов и аппаратов, работающих под давлением. Методика ультразвукового контроля | Дата добавления в базу: | 01.09.2013 | Дата актуализации: | 12.02.2016 | Дата введения: | 01.07.1986 | Дата окончания срока действия: | 30.06.2003 | Область применения: | Стандарт устанавливает методику ручного ультразвукового контроля качества поковок и штамповок, работающих под давлением до 16 МПа, изготавливаемых из углеродистых и низколегированных сталей и имеющих толщину стенки для полых заготовок не менее 200 мм и один из габаритных размеров не менее 50 мм.
Допускается применение стандарта для ультразвукового контроля поковок, изготовленных из аустенитных сталей и имеющих габаритные размеры от 50 до 200 мм и толщину стенки полных заготовок от 10 до 50 мм, если требование контроля оговорено в технической документации | Оглавление: | 1. Основные положения 2. Аппаратура 3. Подготовка к контролю 4. Проведение контроля 5. Оценка качества поковок и штамповок по результатам контроля 6. Оформление результатов контроля 7. Техника безопасности при ультразвуковом контроле Приложения Литература | Расположен в: |
|
                                                                  
|