| ||||||||||||||||||||||||||||
Скачать Серия 1.464-13 Выпуск 0. Техническое описание и узлыДата актуализации: 10.08.2017
|
| Обозначение: | Серия 1.464-13 |
| Обозначение англ: | Series 1.464-13 |
| Статус: | не действует |
| Название рус.: | Выпуск 0. Техническое описание и узлы |
| Дата добавления в базу: | 01.09.2013 |
| Дата актуализации: | 05.05.2017 |
| Дата окончания срока действия: | 01.02.1983 |
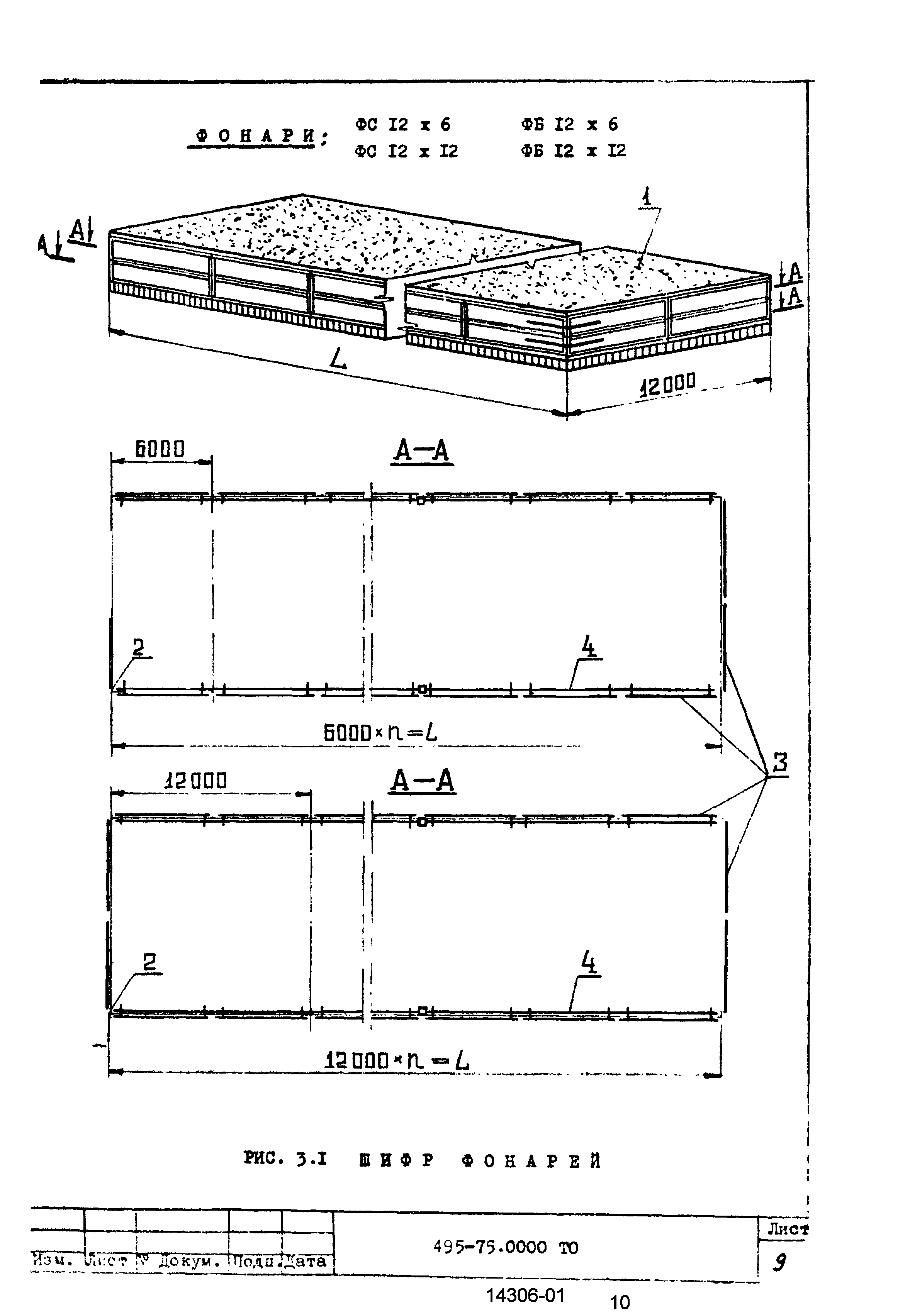
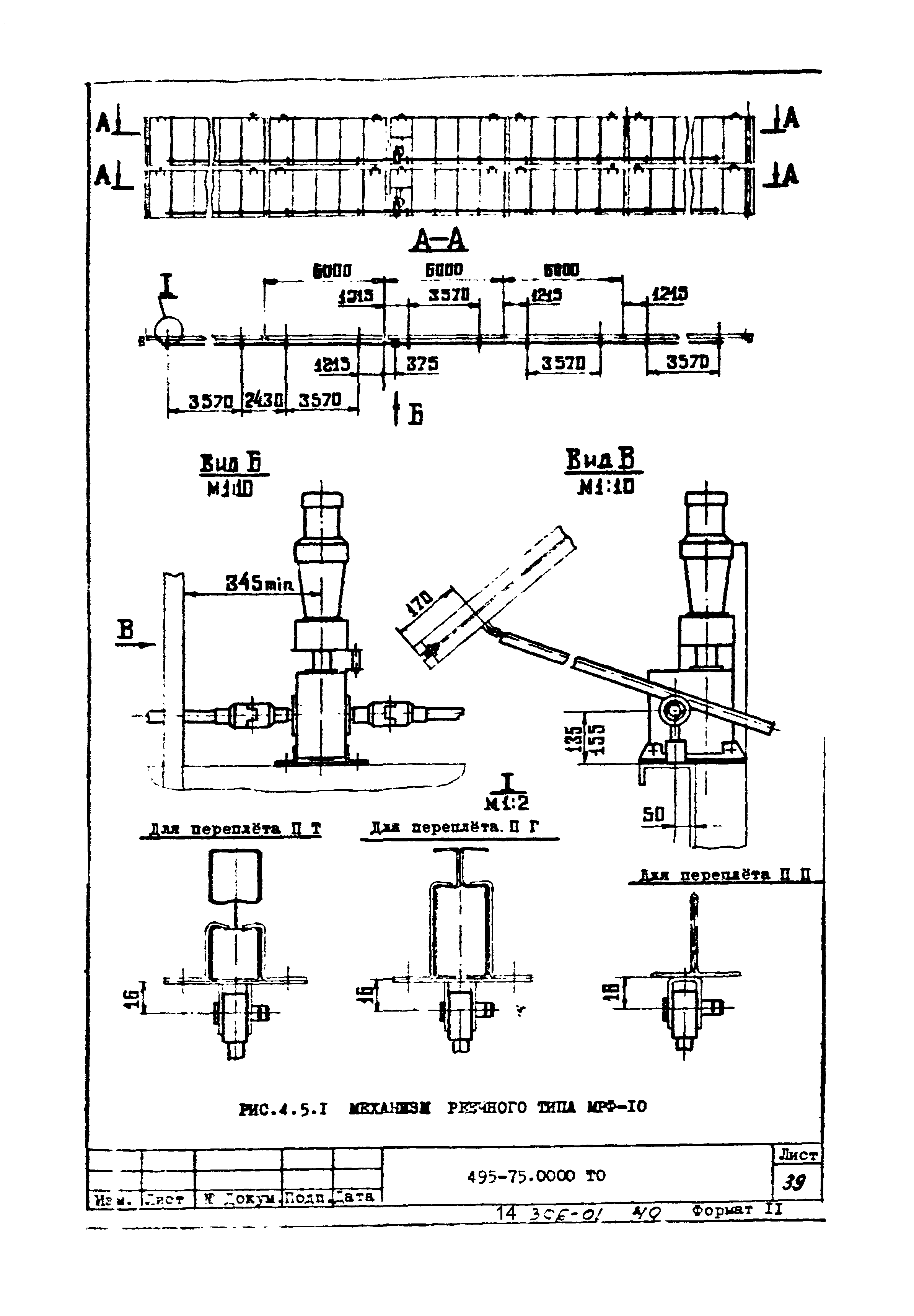
| Оглавление: | Содержание 1 Введение 2 Назначение и область применения 3 Технические данные 4 Описание 5 Монтаж 6 Опробование, обкатка и сдача в эксплуатацию . 7 Проверка технического состояния 8 Характерные неисправности и методы их устранения 9 Техническое обслуживание 10 Изобретения |
| Разработан: | ЦНИИпромзданий ЦНИИпроектстальконструкция |
| Утверждён: | 27.07.1976 Госстрой СССР (Государственный комитет Совета Министров СССР по делам строительства) (USSR Gosstroy 76) |
| Расположен в: | |
| Чем заменён: |















































