| ||||||||||||||||||||||||||||||
Скачать Руководство Руководство по проектированию сборных железобетонных колонн одноэтажных зданий промышленных предприятийДата актуализации: 10.08.2017
|
| Обозначение: | Руководство |
| Обозначение англ: | Guide |
| Статус: | действует |
| Название рус.: | Руководство по проектированию сборных железобетонных колонн одноэтажных зданий промышленных предприятий |
| Дата добавления в базу: | 01.09.2013 |
| Дата актуализации: | 05.05.2017 |
| Дата введения: | 30.06.1971 |
| Область применения: | Руководство распространяется на проектирование сборных железобетонных колонн одноэтажных производственных зданий без мостовых кранов и с мостовыми кранами легкого, среднего и тяжелого режима работы. |
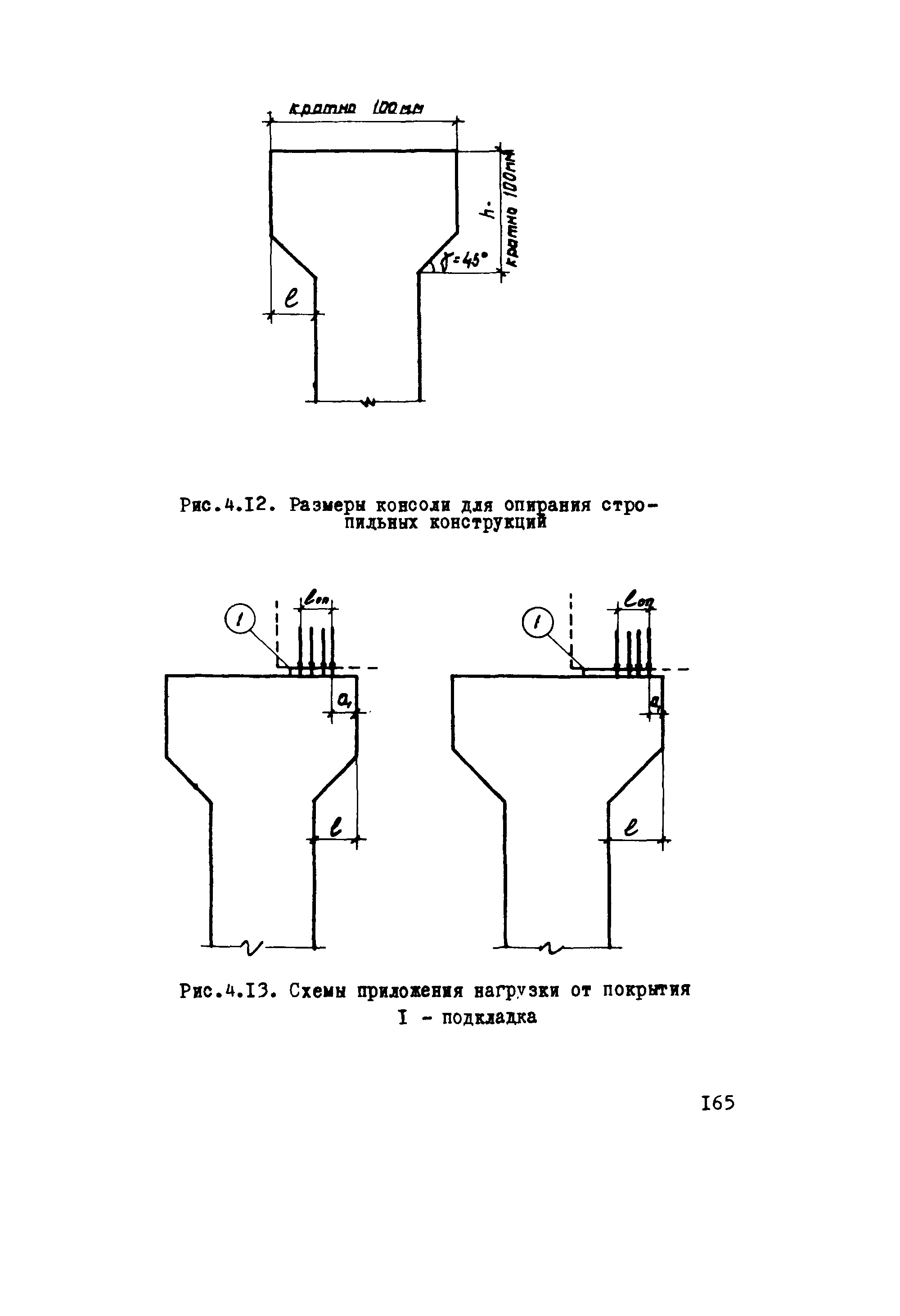
| Оглавление: | Предисловие 1 Общие положения 2 Нагрузки и воздействия Постоянные и временные длительные нагрузки Нагрузка от мостовых кранов Нагрузка от подвесных кранов Снеговая нагрузка Ветровая нагрузка Прочие нагрузки и воздействия Сочетания нагрузок Пример определения нагрузок на колонны от мостовых кранов 3 Расчет Общие положения Статический расчет рам по недеформированной схеме Особенности расчета рам с двухветвевыми колоннами Расчет колонн Пример определения усилий в призматических колоннах от температурных воздействий и удлинения нижних поясов подстропильных ферм Пример расчета каркасов здания со ступенчатыми колоннами прямоугольного сечения Пример расчета каркаса здания с двухветвевыми колоннами 4 Конструирование колонн Продольное и поперечное армирование Заделка колонн в фундамент Консоли Элементы двухветвевых колонн Закладные детали и сетки Приложение. Расчет каркасов одноэтажных зданий по деформированной схеме |
| Разработан: | ЦНИИпромзданий |
| Утверждён: | 30.06.1971 ЦНИИ промзданий (TsNII promzdaniy ) |
| Издан: | ЦИНИС Госстроя СССР (1971 г. ) |
| Расположен в: |






























































































































































































































































