| ||||||||||||||||||||||||||||||||
Скачать Шифр М24.12/06 Кровли и гидроизоляция с применением мембраны FATRAFOL из пластифицированного поливинилхлорида (PVC-P) фирмы FATRA (ЧЕХИЯ). Материалы для проектирования и рабочие чертежи узловДата актуализации: 10.08.2017
|
| Обозначение: | Шифр М24.12/06 |
| Обозначение англ: | М24.12/06 |
| Статус: | не определен законодательством |
| Название рус.: | Кровли и гидроизоляция с применением мембраны "FATRAFOL" из пластифицированного поливинилхлорида (PVC-P) фирмы "FATRA" (ЧЕХИЯ). Материалы для проектирования и рабочие чертежи узлов |
| Дата добавления в базу: | 01.09.2013 |
| Дата актуализации: | 05.05.2017 |
| Дата введения: | 20.05.2006 |
| Область применения: | Материалы для проектирования и рабочие чертежи узлов (деталей) из полимерного рулонного материала "Fatrafol" разработаны для зданий одно- и многоэтажных, I-IV степеней огнестойкости, с различными температурно-влажностными режимами для строительства на всей территории страны. В их числе: 1) жилые здания, лечебно-профилактические и детские учреждения, школы-интернаты; 2) общественные, административные и бытовые эдания; 3) производственные здания. |
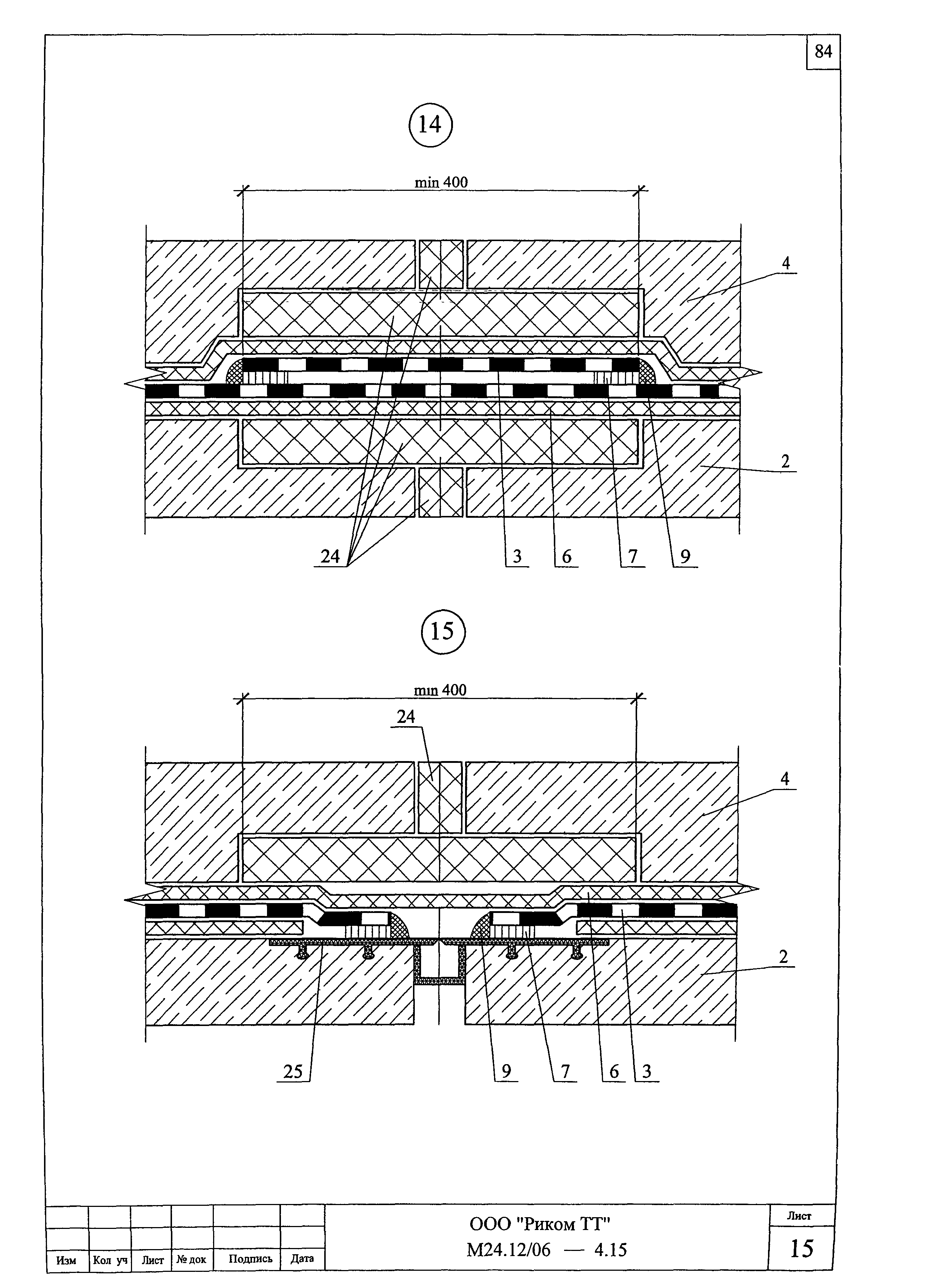
| Оглавление: | Сертификат Пояснительная записка 1. Общие положения 2. Область применения 3. Кровли 3.1. Применяемые материалы 3.2. Конструктивные решения 4. Подземная гидроизоляция и бассейны 4.1. Применяемые материалы 4.2. Основание под гидроизоляцию 4.3. Соединение полотнищ мембраны Fatrafol-H и Fatrafol-B 4.4. Конструктивные решения Раздел 1. Кровля на покрытии со сборными или монолитными ж/б несущими элементами Раздел 2. Инверсионная кровля Раздел 3. Кровля на покрытии с несущими профилированными настилами Раздел 4. Подземная гидроизоляция Раздел 5. Гидроизоляция бассейнов Приложение |
| Разработан: | ОАО ЦНИИпромзданий |
| Утверждён: | 19.12.2005 ОАО ЦНИИпромзданий (TsNIIpromzdaniy OAO ) |
| Издан: | ОАО ЦНИИпромзданий (2006 г. ) |
| Расположен в: | |
| Нормативные ссылки: |
|







































































































