| ||||||||||||||||||||||||||||||||
 Скачать АТК 24.218.07-90 Устройства теплообменные наружные и внутренние сосудов и аппаратов. Конструкция, размеры и общие технические требованияДата актуализации: 10.08.2017
 | 
| Обозначение: |   АТК 24.218.07-90 | 
| Обозначение англ: |   ATK 24.218.07-90 | 
| Статус: | действует | 
| Название рус.: | Устройства теплообменные наружные и внутренние сосудов и аппаратов. Конструкция, размеры и общие технические требования | 
| Дата добавления в базу: | 01.09.2013 | 
| Дата актуализации: | 05.05.2017 | 
| Дата введения: | 15.12.1997 | 
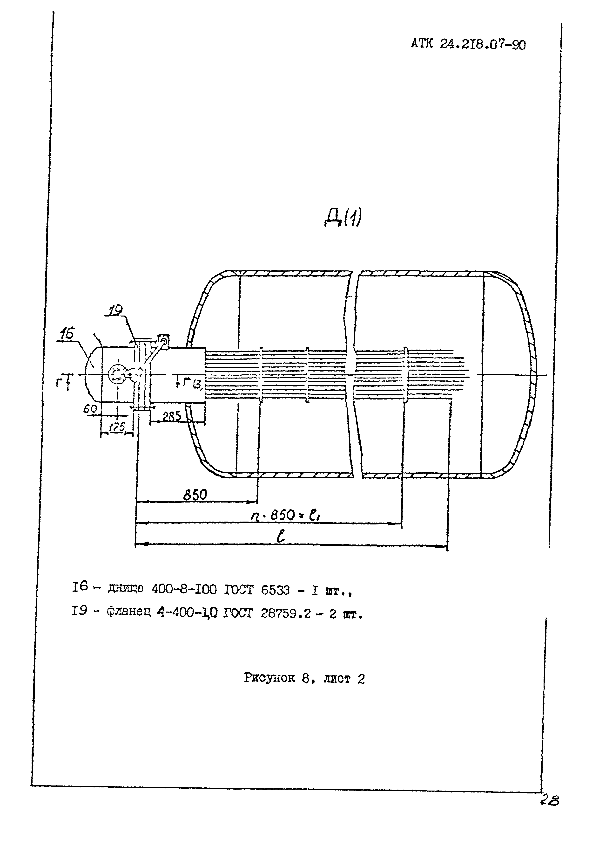
| Область применения: | Настоящий альбом распространяется на устройства теплообменные трубчатые стальные наружные и внутренние, работающие при внутреннем давлении не более 2,5 МПа, предназначенные для подогрева или охлаждения жидких технологических веществ в емкостных аппаратах теплоносителем с температурой от минус 40 до плюс 380 градусов С. | 
| Оглавление: | 1 Область применения 2 Нормативные ссылки 3 Конструкция и размеры 4 Общие технические требования Приложение А. Конструкции крепления и защитных кожухов теплообменных устройств  | 
| Разработан: |  АО ЦКБН | 
| Утверждён: | 25.12.1990 Министерство тяжелого машиностроения СССР (USSR Ministry of Heavy Machinery Manufacturing ВА-002-1-12011) | 
| Издан: |  АО ЦКБН | 
| Расположен в: | |
| Заменяет собой: | 
  | 
















































































