| ||||||||||||||||||||||||||||||||
Скачать Шифр М24.09/07 Стены, покрытия, полы, перегородки, ограждающие конструкции мансард и чердачные перекрытия с применением минераловатных плит LINEROCK. Материалы для проектирования и рабочие чертежи узловДата актуализации: 10.08.2017
|
| Обозначение: | Шифр М24.09/07 |
| Обозначение англ: | М24.09/07 |
| Статус: | не определен законодательством |
| Название рус.: | Стены, покрытия, полы, перегородки, ограждающие конструкции мансард и чердачные перекрытия с применением минераловатных плит "LINEROCK". Материалы для проектирования и рабочие чертежи узлов |
| Дата добавления в базу: | 01.09.2013 |
| Дата актуализации: | 05.05.2017 |
| Дата введения: | 09.11.2007 |
| Область применения: | Альбом содержит материалы для проектирования и рабочие чертежи узлов трехслойных стен, стен подвала, покрытий, чердачных перекрытий, перегородок, ограждающих конструкций мансард и полов отапливаемых зданий различного назначения с теплоизоляцией из минераловатных плит, изготавливаемых из минеральной ваты ВМТ или ВМ типа А по ГОСТ 4640 ЛАЙНРОК ЛАЙТ, ЛАЙНРОК СТАНДАРТ, ЛАЙНРОК ВЕНТИ, ЛАЙНРОК ФАСАД, ЛАЙНРОК РУФ, ЛАЙНРОК РУФ Н, ЛАЙНРОК РУФ В, ЛАЙНРОК СТАНДАРТ М, ЛАЙНРОК ВЕНТИ ОПТИМАЛ. Материалы разработаны для следующих условий: здания одно- и многоэтажные, I-IV степени огнестойкости с сухим нормальным температурно-влажностным режимом для строительства на всей территории страны; стены несущие или самонесущие из штучных материалов (кирпич, камни, бетонные блоки) или монолитного железобетона; температура холодной пятидневки обеспеченностью 0,92 - до минус 55 град. Цельсия. |
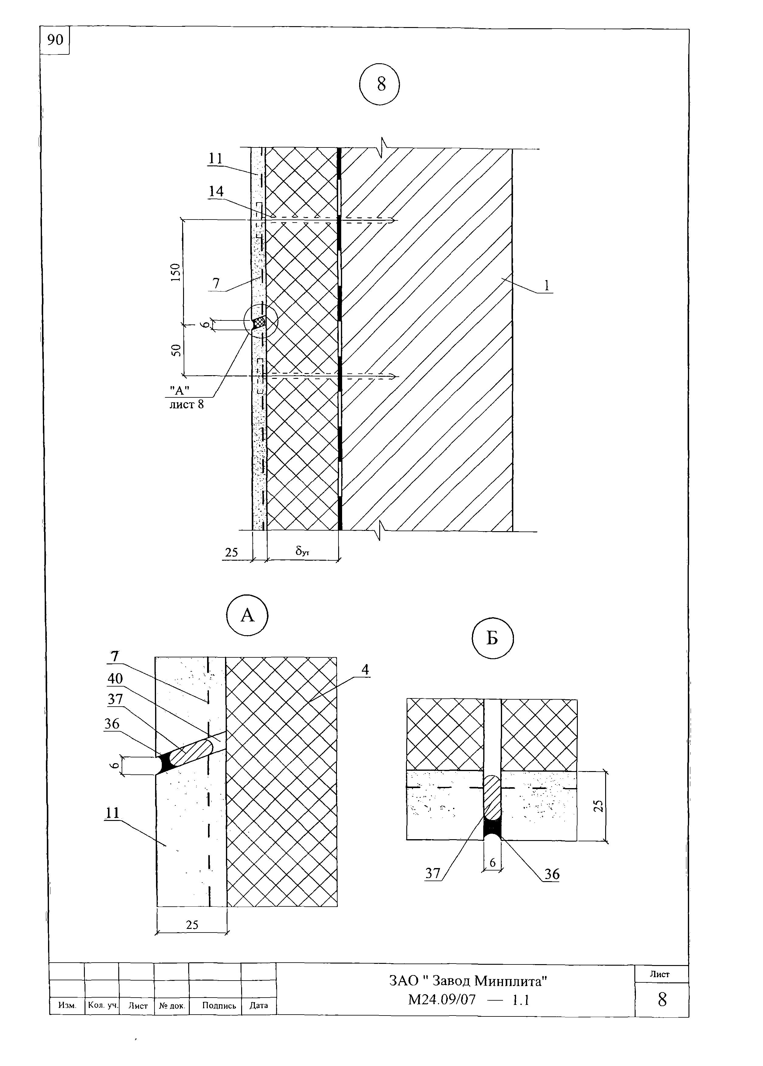
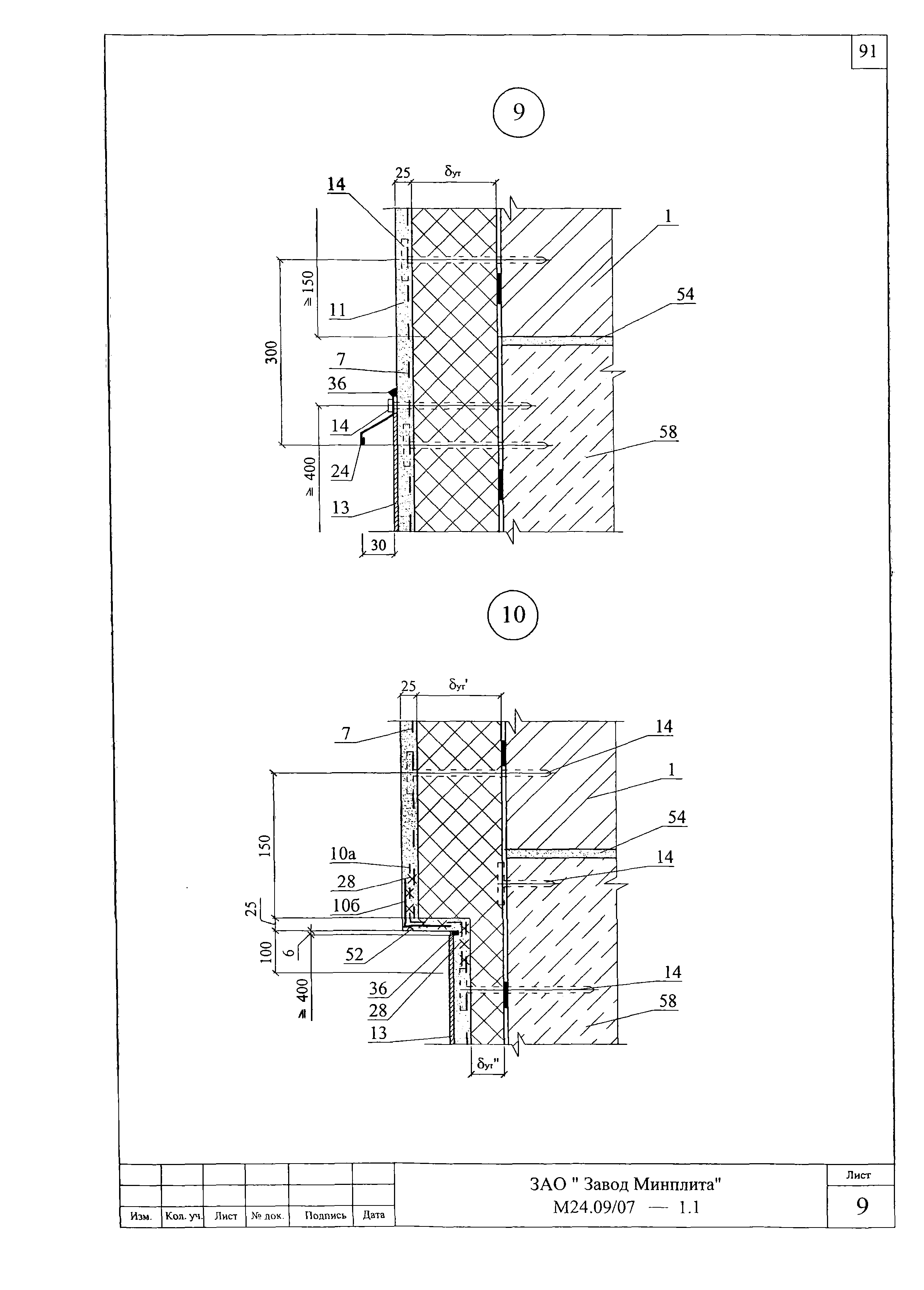
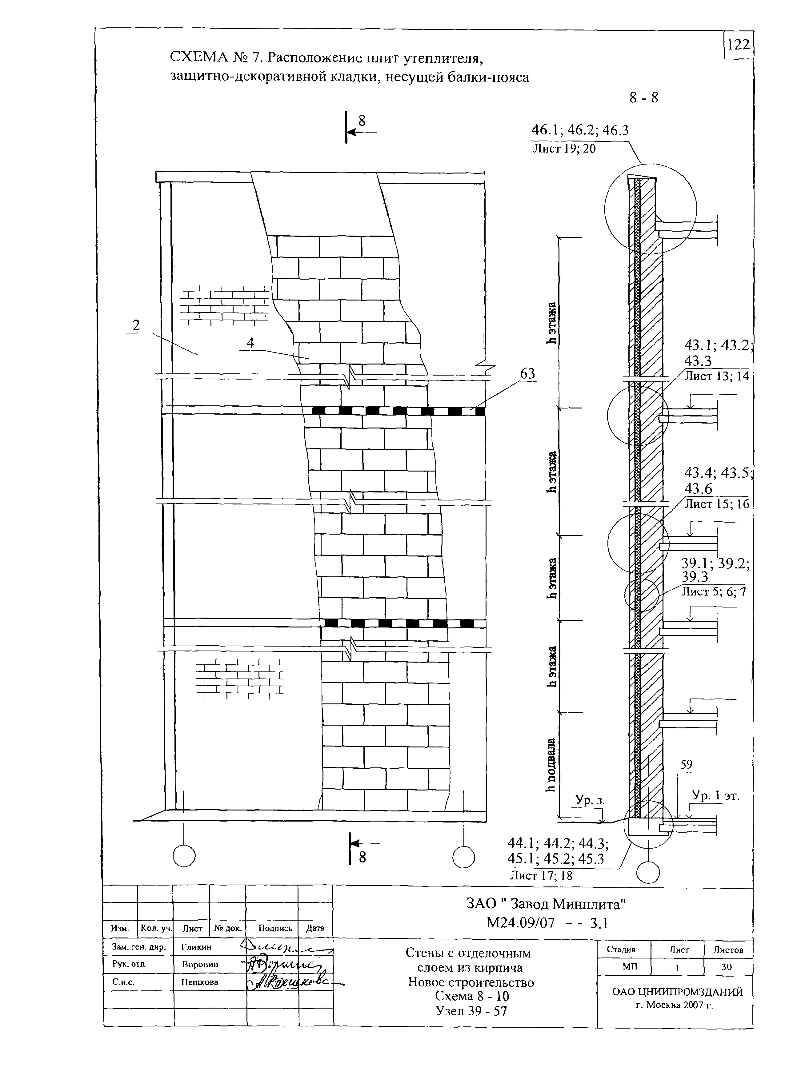
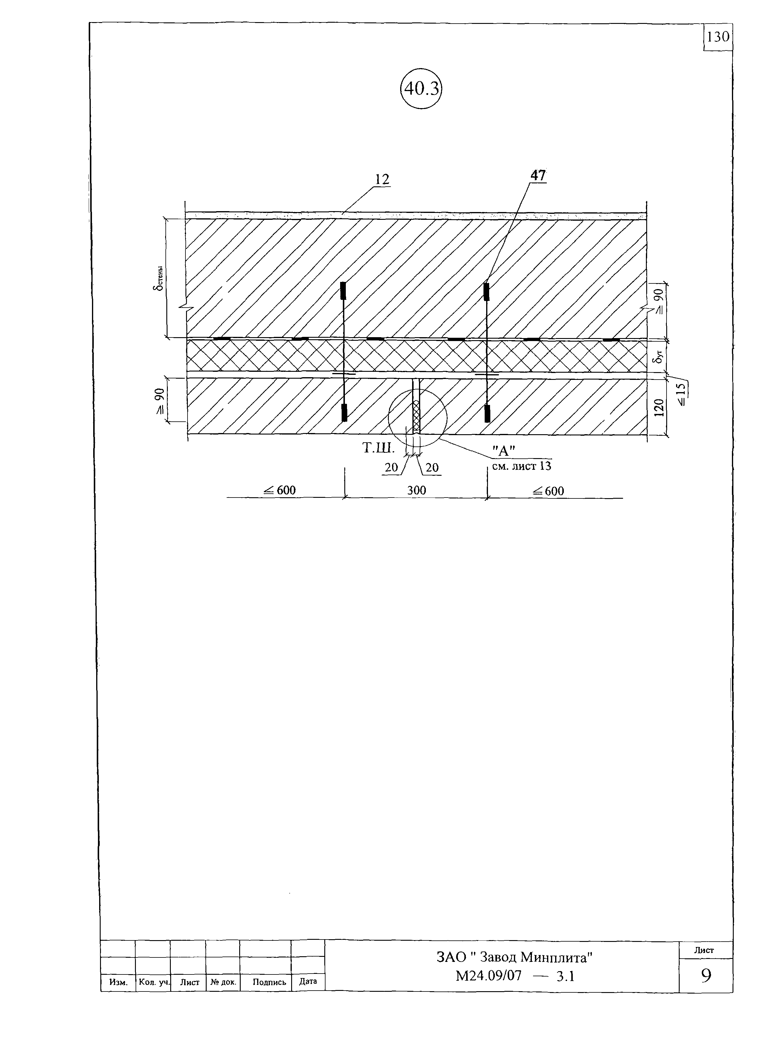
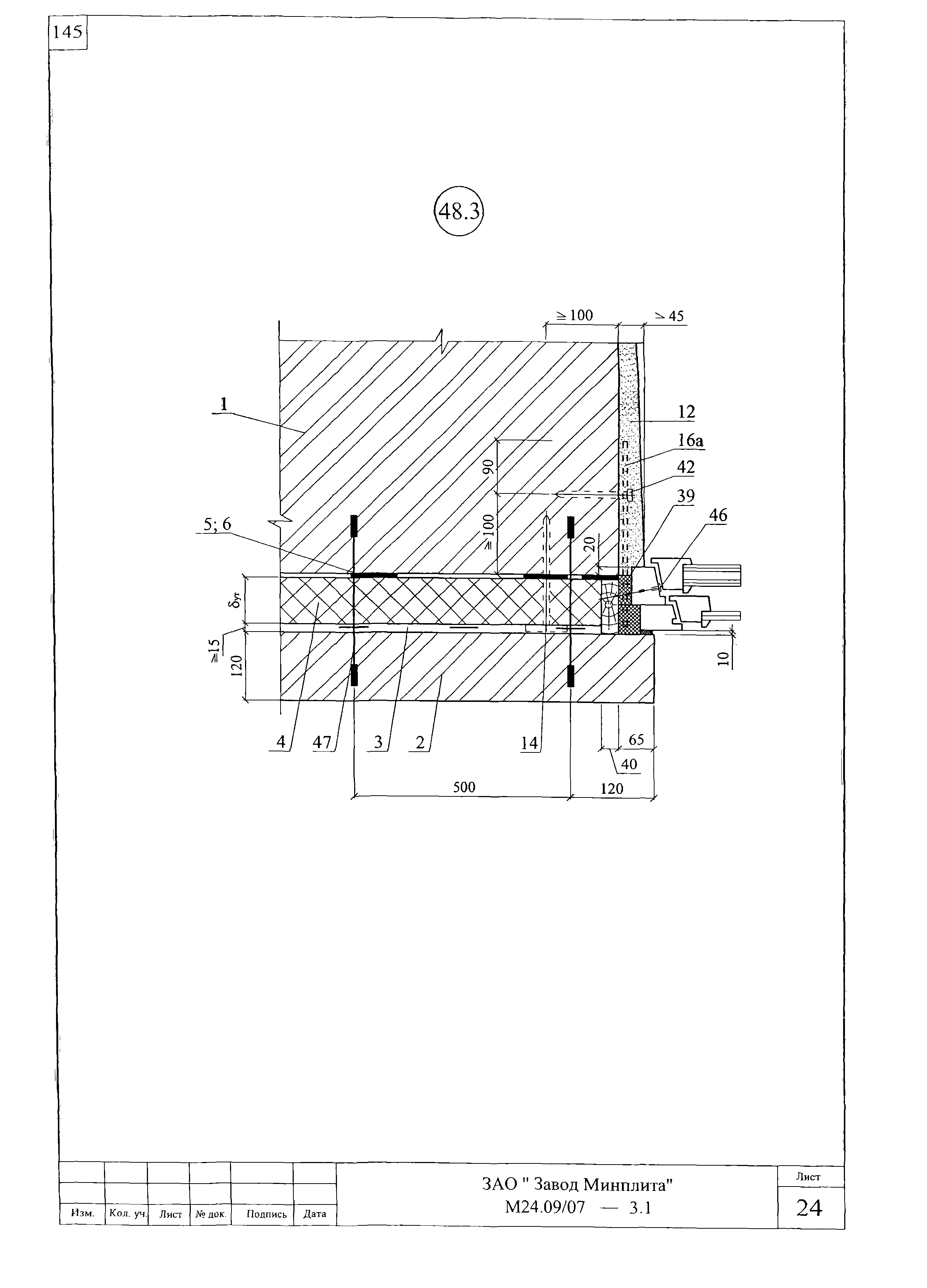
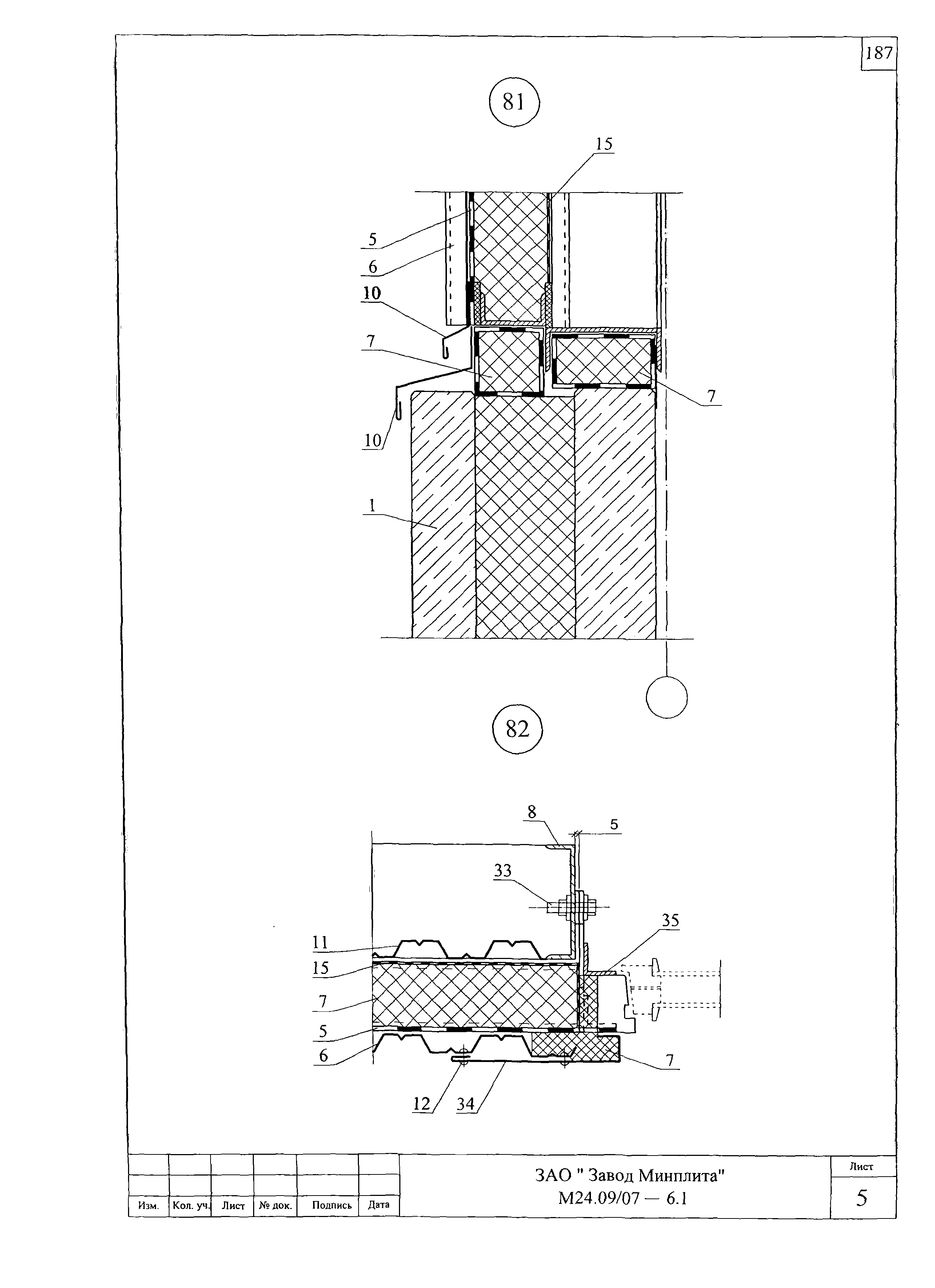
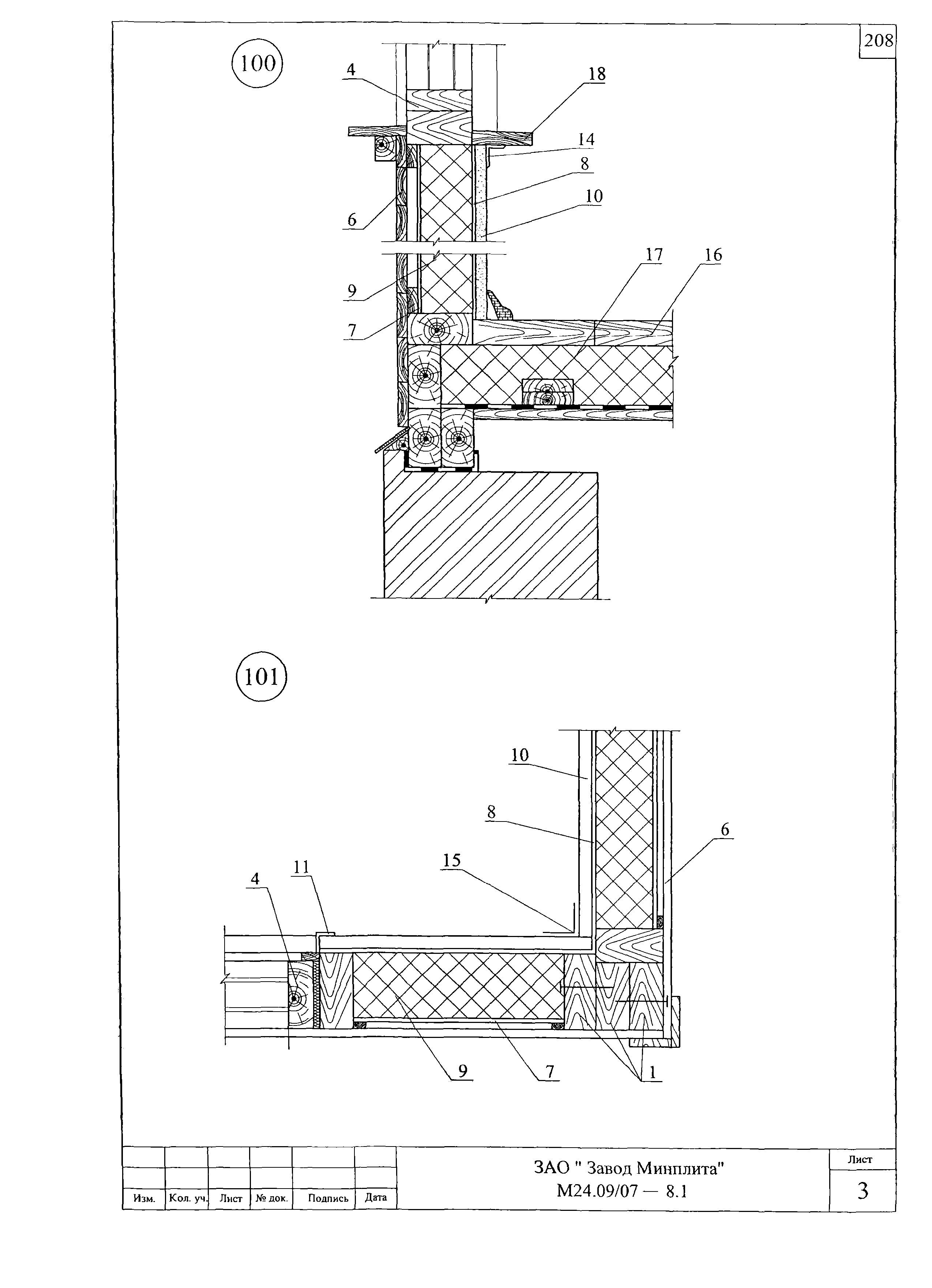
| Оглавление: | М24.09/07-ПЗ Сертификат Пояснительная записка 1. Общие положения 2. Теплоизоляция 3. Нормы теплозащиты и данные по толщине теплоизоляции Конструктивные решения стен 4. Стены без вентилируемой воздушной прослойки с отделочным слоем из штукатурки и кирпича 4.1. Стены с отделочным слоем из традиционной штукатурки 4.2. Стены с отделочным слоем из тонкослойной штукатурки 4.3. Стены с отделочным слоем из кирпича 5. Каркасные стены с обшивками из стального профлиста 6. Стены с вентилируемой воздушной прослойкой 7. Стены подвала 8. Конструктивное решение покрытий 9. Железобетонные покрытия с рулонной кровлей 10. Покрытия с профилированным настилом и рулонной кровлей 11. Покрытия с профилированным настилом и кровлей из оцинкованных стальных профлистов 12. Конструктивные решения чердачных перекрытий 13. Ограждающие конструкции мансард 14. Конструктивные решения полов 15. Перегородки М24.09/07-1 Раздел 1. Стены с защитно-декоративным слоем из традиционной штукатурки. Новое строительство и реконструкция М24.09/07-2 Раздел 2. Стены с защитно-декоративным слоем из тонкослойной штукатурки. Новое строительство и реконструкция М24.09/07-3 Раздел 3. Стены с отделочным слоем из кирпича. Новое строительство М24.09/07-4 Раздел 4. Самонесущая стена из кирпича с облицовкой кирпичом в здании с несущим каркасом М24.09/07-5 Раздел 5. Стены с отделочным слоем из кирпича. Реконструкция. М24.09/07-6 Раздел 6. Каркасные конструкции стен с обшивками из стального профлиста М24.09/07-7 Раздел 7. Стены с вентилируемой воздушной прослойкой М24.09/07-8 Раздел 8. Деревянные каркасно-обшивные стены М24.09/07-9 Раздел 9. Стены подвала М24.09/07-10 Раздел 10. Перегородки с металлическим каркасом М24.09/07-11 Раздел 11. Перегородки с деревянным каркасом М24.09/07-12 Раздел 12. Чердачные перекрытия М24.09/07-13 Раздел 13. Полы М24.09/07-14 Раздел 14. Ограждающие конструкции мансард М24.09/07-15 Раздел 15. Покрытие со сборным или монолитным железобетонным основанием М24.09/07-16 Раздел 16. Покрытия по стальным профилированным настилам с рулонной кровлей. М24.09/07-17 Раздел 17. Покрытия по стальным профилированным настилам с кровлей из стальных профилированных листов. М24.09/07-18 Раздел 18. Изделия комплектующие Приложение 1. Пример расчета повышения теплозащиты стены Приложение 2. Пример расчета толщины теплоизоляции стены подвала Приложение 3. Пример расчета парозащиты стены Приложение 4. Пример определения показателя теплоусвоения поверхности пола по СНиП 23-02-2003 Приложение 5. Пример определения индекса изоляции воздушного шума междуэтажным перекрытием жилого дома. Перекрытие состоит из железобетонной плиты у = 2400 кг/куб. м толщиной 14 см, звукоизоляционного слоя из минераловатной плиты марки «ЛАЙНРОК ФАСАД» толщиной толщиной 4,0 см, сборной стяжки из гипсоволокнистых листов (ГВЛ) плотностью 1150 кг/м? толщиной 2,0 см. Приложение 6. Пример определения индекса изоляции воздушного шума междуэтажным перекрытием жилого дома. Перекрытие состоит из железобетонной плиты у = 2500 кг/куб. м толщиной 10 см, звукоизоляционного слоя из минераловатных плит марки «ЛАЙНРОК ЛАЙТ» толщиной 5,0 см и дощатого пола толщиной 4,0 см на лагах толщиной 5,0 см и шириной 10,0 см, уложенных с шагом 50 см Приложение 7. Пример определения индекса приведенного уровня ударного шума под железобетонным перекрытием жилого дома. Перекрытие состоит из железобетонной плиты у = 2400 кг/куб. м толщиной 14 см, звукоизоляционного слоя из минераловатных плит марки «ЛАЙНРОК ФАСАД» толщиной 4,0 см, сборной стяжки из гипсоволокнистых листов (ГВЛ) плотностью 1150 кг/м? толщиной 2,0 см и паркетного пола толщиной 1,8 см |
| Разработан: | ОАО ЦНИИпромзданий |
| Утверждён: | 19.12.2005 ОАО ЦНИИпромзданий (TsNIIpromzdaniy OAO ) |
| Издан: | ЦНИИпромзданий (2007 г. ) |
| Расположен в: | |
| Нормативные ссылки: |
|




























































































































































































































































































































