Информационная система
«Ёшкин Кот»

Скачать базу одним архивом
Скачать обновления
История создания базы
Карта сайта

Скачать ГОСТ 26519-85 Конструкции железобетонные заглубленных помещений с перекрытием балочного типа. Технические условия

Дата актуализации: 10.08.2017

ГОСТ 26519-85

Конструкции железобетонные заглубленных помещений с перекрытием балочного типа. Технические условия

Обозначение: ГОСТ 26519-85
Обозначение англ: GOST 26519-85
Статус:действует
Название рус.:Конструкции железобетонные заглубленных помещений с перекрытием балочного типа. Технические условия
Дата добавления в базу:01.09.2013
Дата актуализации:05.05.2017
Дата введения:01.01.1986
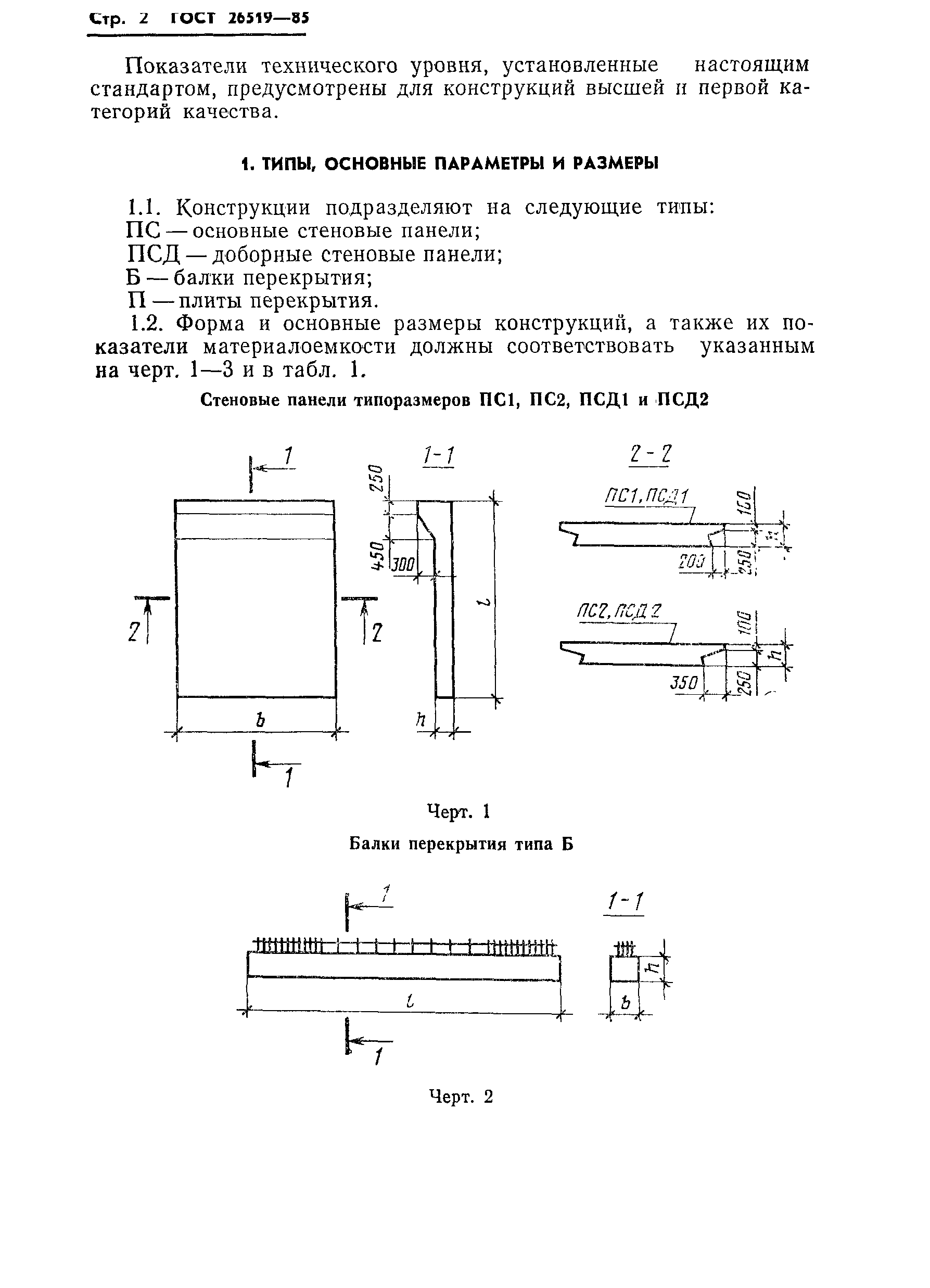
Область применения:Стандарт распространяется на сборные железобетонные конструкции, изготовляемые из тяжелого бетона по типовой проектной документации серии У-01-01/80 и предназначенные для заглубленных помещений гражданской обороны (убежищ) классов А-II-А-IV с перекрытием балочного типа.
Оглавление:1 Типы, основные параметры и размеры
2 Технические требования
3 Правила приемки
4 Методы контроля
5 Маркировка, транспортирование и хранение
Разработан: ПИ № 1 Госстроя СССР
Утверждён:18.03.1985 Госстрой СССР (Государственный комитет Совета Министров СССР по делам строительства) (USSR Gosstroy 31)
Издан: Издательство стандартов (1985 г. )
Расположен в:Техническая документация Электроэнергия ВОЕННАЯ ТЕХНИКА Военная техника. Военные вопросы. Вооружение Экология ВОЕННАЯ ТЕХНИКА Военная техника. Военные вопросы. Вооружение
Нормативные ссылки:
ГОСТ 26519-85ГОСТ 26519-85ГОСТ 26519-85ГОСТ 26519-85ГОСТ 26519-85ГОСТ 26519-85ГОСТ 26519-85ГОСТ 26519-85ГОСТ 26519-85ГОСТ 26519-85ГОСТ 26519-85ГОСТ 26519-85

© 2013 Ёшкин Кот :-) Карта сайта