| ||||||||||||||||||||||||||||||
Скачать Шифр М24.01/06 Наружные стены, стены подвала, чердачные перекрытия и полы с теплоизоляцией из плитного пенополистирола. Материалы для проектирования и рабочие чертежи узловДата актуализации: 10.08.2017
|
| Обозначение: | Шифр М24.01/06 |
| Обозначение англ: | М24.01/06 |
| Статус: | не определен законодательством |
| Название рус.: | Наружные стены, стены подвала, чердачные перекрытия и полы с теплоизоляцией из плитного пенополистирола. Материалы для проектирования и рабочие чертежи узлов |
| Дата добавления в базу: | 01.09.2013 |
| Дата актуализации: | 05.05.2017 |
| Дата введения: | 16.06.2006 |
| Область применения: | Альбом содержит материалы для проектирования и рабочие чертежи трехслойных стен, покрытий и полов отапливаемых зданий различного назначения с теплоизоляцией из плитного пенополистирола типа ПСБ-С. Материалы разработаны для следующих условий: здания одно- и многоэтажные, I - IV степеней огнестойкости с сухим и нормальным температурно-влажностным режимом для строительства на всей территории страны; стены несущие или самонесущие из штучных материалов (кирпич, камни, бетонные блоки) или монолитного железобетона, температура холодной пятидневки обеспеченностью 0,92 - до минус 55 град. С |
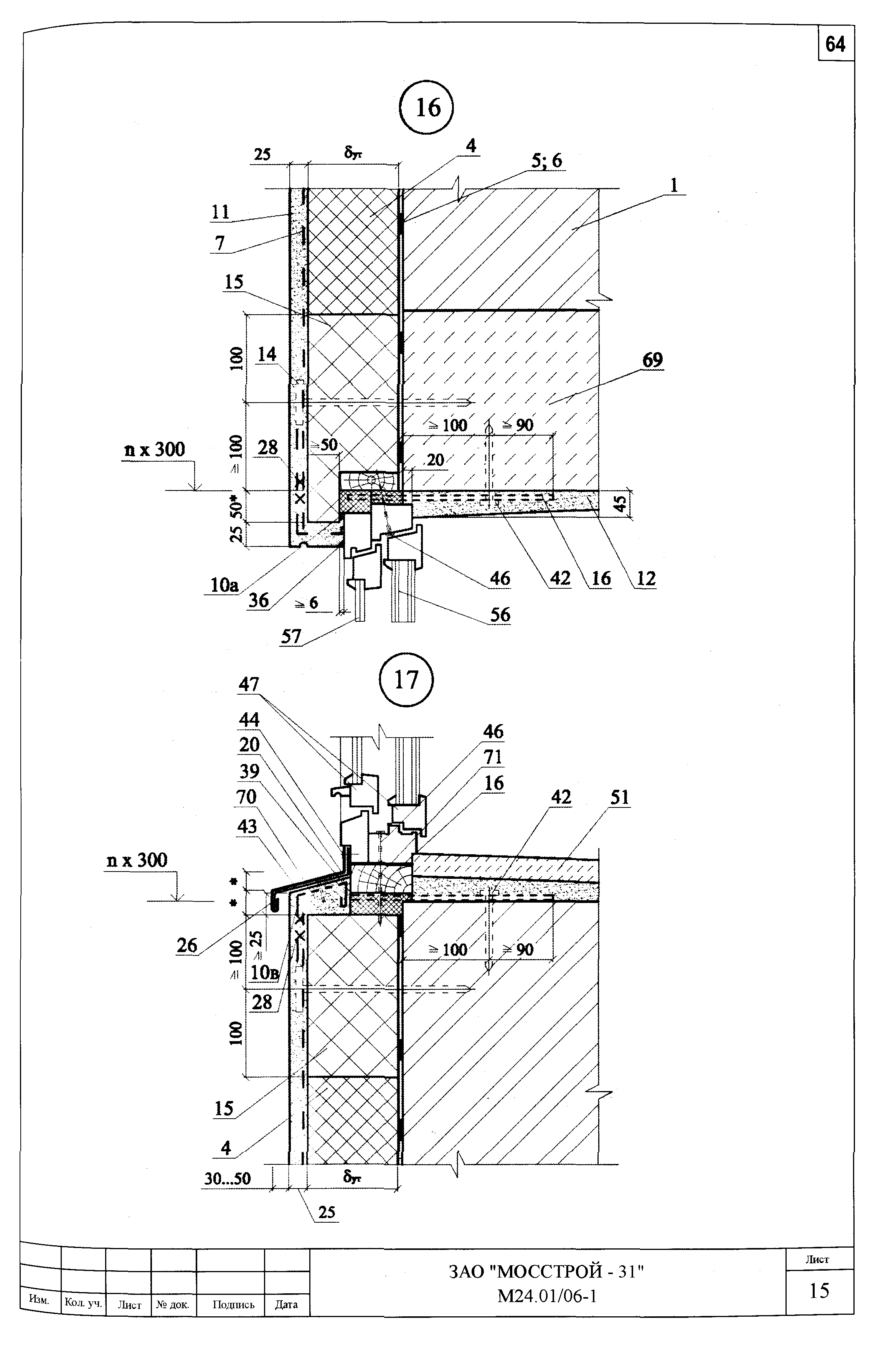
| Оглавление: | Сертификат М24.01/06-ПЗ Пояснительная записка М24.01/06-ПЗ 1. Общие положения М24.01/06-ПЗ 2. Теплоизоляция М24.01/06-ПЗ 3. Нормы теплозащиты и данные по толщине теплоизоляции М24.01/06-ПЗ 4. Конструктивные решения стен М24.01/06-ПЗ 5. Стены подвала М24.01/06-ПЗ 6. Конструктивные решения покрытия М24.01/06-ПЗ 7. Железобетонные покрытия с рулонной кровлей М24.01/06-ПЗ 8. Покрытия с профилированным настилом и рулонной кровлей М24.01/06-ПЗ 9. Конструктивные решения чердачных перекрытий М24.01/06-ПЗ 10. Конструктивные решения полов Рабочие чертежи узлов М24.01/06-1 Раздел 1. Стены с защитно-декоративным слоем из традиционной штукатурки. Новое строительство и реконструкция М24.01/06-2 Раздел 2. Стены с защитно-декоративным слоем из тонкослойной штукатурки. Новое строительство и реконструкция М24.01/06-3 Раздел 3. Стены с защитно-декоративным слоем из кирпичной кладки. Новое строительство М24.01/06-4 Раздел 4. Стены с защитно-декоративным слоем из кирпичной кладки. Реконструкция М24.01/06-5 Раздел 5. Стены подвала М24.01/06-6 Раздел 6. Покрытия со сборным или монолитным железобетонным основанием М24.01/06-7 Раздел 7. Покрытия по стальным профилированным настилам с рулонной кровлей М24.01/06-8 Раздел 8. Чердачные перекрытия М24.01/06-9 Раздел 9. Полы М24.01/06-10 Раздел 10. Изделия комплектующие М24.01/06-1 Приложение 1. Пример расчета повышения теплозащиты стены Приложение 2. Пример расчета парозащиты стены Приложение 3. Пример расчета толщины теплозащиты стен подвала Приложение 4. Пример определения показателя теплоусвоения поверхности пола по СНиП 23-02-2003 Приложение 5. Пример определения индекса изоляции воздушного шума междуэтажным перекрытием жилого дома. Перекрытие состоит из железобетонной плиты У = 2400 кг/куб. м толщиной 14 см, звукоизоляционного слоя из пенополистирольной плиты У = 35 кг/куб. м толщиной 4,0 см, сборной стяжки из гипсоволокнистых листов (ГВЛ) плотностью 1150 кг/м? толщиной 2,0 см. Приложение 6. Пример определения индекса изоляции воздушного шума междуэтажным перекрытием жилого дома. Перекрытие состоит из железобетонной плиты У = 2500 кг/куб. м толщиной 10 см, звукоизоляционного слоя из пенополистирольных плит марки 15 толщиной 5,0 см и дощатого пола толщиной 4,0 см на лагах толщиной 5,0 см и шириной 10,0 см, уложенных с шагом 50 см. Приложение 7. Пример определения индекса приведенного уровня ударного шума под железобетонным перекрытием жилого дома. Перекрытие состоит из железобетонной плиты У= 2400 кг/куб. м толщиной 14 см, звукоизоляционного слоя из пенополистирольных плит марки 35 толщиной 4,0 см, сборной стяжки из гипсоволокнистых листов (ГВЛ) плотностью 1150 кг/м? толщиной 2,0 см и паркетного пола толщиной 1,8 см Приложение 8. Обеспечение пожарной безопасности при использовании в стенах и покрытиях теплоизоляции из плит пенополистирола |
| Разработан: | ОАО ЦНИИпромзданий |
| Утверждён: | ОАО ЦНИИпромзданий (TsNIIpromzdaniy OAO ) |
| Расположен в: | |
| Нормативные ссылки: |
|

























































































































































































