| ||||||||||||||||||||||||||||||||
Скачать Часть VII Вертолетные станции, вертодромы и посадочные площадки для вертолетовДата актуализации: 10.08.2017
|
| Обозначение: | Часть VII |
| Обозначение англ: | Часть VII |
| Статус: | привязан к неактуализированному документу |
| Название рус.: | Вертолетные станции, вертодромы и посадочные площадки для вертолетов |
| Дата добавления в базу: | 01.09.2013 |
| Дата актуализации: | 05.05.2017 |
| Дата введения: | 01.01.1997 |
| Область применения: | В пособии приведены методики расчета потребных параметров элементов вертодромов и посадочных площадок для конкретных типов вертолетов, а также для оценки эксплуатационной пригодности существующих вертодромов. |
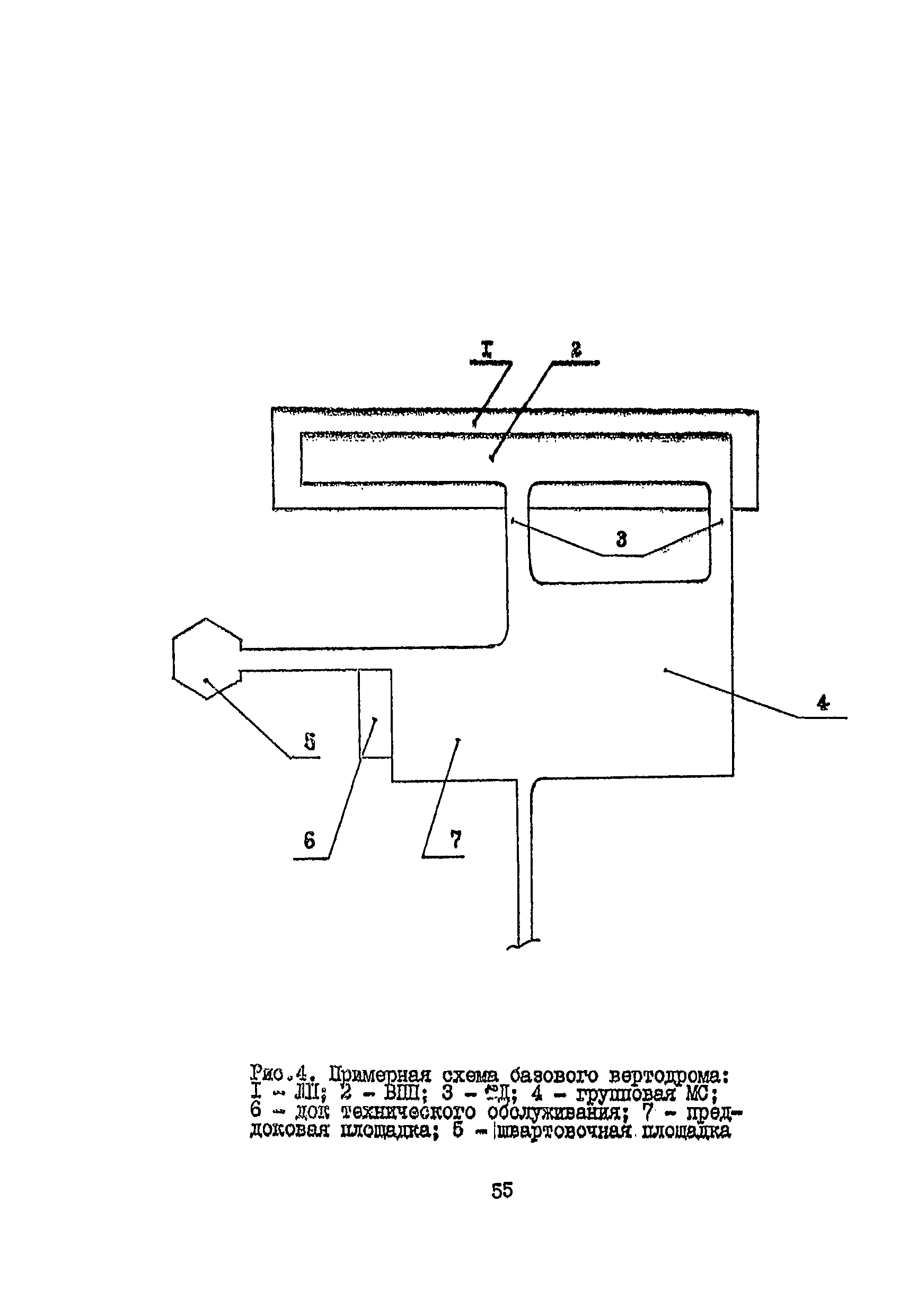
| Оглавление: | 1 Основные положения и основные определения 2 Элементы вертодромов и их назначение 3 Летные полосы 4 Рулежные дорожки 5 Места стоянки вертолетов 6 Швартовочные площадки 7 Перрон 8 Требования к взаиморасположению элементов вертодромов и посадочных площадок 9 Вертодромы в аэропортах 10 Привертодромная территория 11 Поверхность элементов вертодромов и посадочных площадок 12 Временные вертодромы и посадочные площадки 13 Требования к искусственным покрытиям и несущим конструкциям вертодромов 14 Надводные вертодромы 15 Служебно-техническая территория 16 Объекты технического обслуживания 17 Склады ГСМ 18 Светосигнальное оборудование 19 Режимно-охранное обеспечение Приложение 1. Основные летно-технические характеристики вертолетов гражданской авиации Приложение 2. Примерные генеральные планы вертодромов и вертолетных станций для вертолетов гражданской авиации Приложение 3. Методика определения оптимального способа установки вертолетов на МС и схемы их расстановки Приложение 4. Принципиальные и технологические схемы Приложение 5. Перечень средств авиатопливообеспечения вертодромов |
| Разработан: | ФГУП ГПИ и НИИ ГА Аэропроект |
| Утверждён: | 30.09.1983 ФГУП ГПИ и НИИ ГА Аэропроект |
| Расположен в: | |
| Заменяет собой: |
|
| Нормативные ссылки: |
























































































