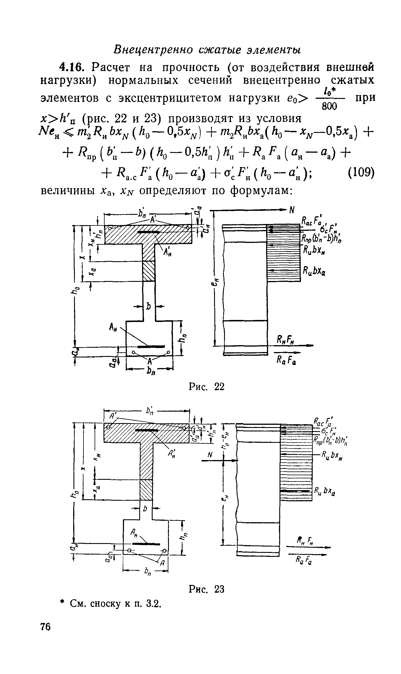
| ||||||||||||||||||||||||||||||||
Скачать СН 365-67 Указания по проектированию железобетонных и бетонных конструкций железнодорожных, автодорожных и городских мостов и трубДата актуализации: 10.08.2017
|
| Обозначение: | СН 365-67 |
| Обозначение англ: | SN 365-67 |
| Статус: | заменен |
| Название рус.: | Указания по проектированию железобетонных и бетонных конструкций железнодорожных, автодорожных и городских мостов и труб |
| Дата добавления в базу: | 01.09.2013 |
| Дата актуализации: | 05.05.2017 |
| Дата введения: | 01.01.1986 |
| Область применения: | Нормы проектирования распространяются на проектирование железобетонных и бетонных конструкций мостов (в том числе путепроводов, виадуков, эстакад и т.п.), а также труб под насыпями на железных (колеи 1524 мм) и автомобильных дорогах, в том числе дорогах промышленных предприятий, а также на городских улицах и дорогах. |
| Оглавление: | 1 Общие положения 2 Общие указания по расчету 3 Расчет конструкций из обычного железобетона и бетона 4 Расчет конструкций из предварительно напряженного железобетонак 5 Конструирование Приложения |
| Разработан: | ЦНИИС Минтрансстроя Госстрой СССР |
| Утверждён: | 31.01.1967 Госстрой СССР (Государственный комитет Совета Министров СССР по делам строительства) (USSR Gosstroy ) |
| Расположен в: | |
| Заменяет собой: | |
| Чем заменён: |




















































































































































