| ||||||||||||||||||||||||||||
Скачать Серия 2.140-1 Выпуск 7. Перекрытия зданий из ячеистого бетона. Рабочие чертежиДата актуализации: 10.08.2017
|
| Обозначение: | Серия 2.140-1 |
| Обозначение англ: | Series 2.140-1 |
| Статус: | действует |
| Название рус.: | Выпуск 7. Перекрытия зданий из ячеистого бетона. Рабочие чертежи |
| Дата добавления в базу: | 01.09.2013 |
| Дата актуализации: | 05.05.2017 |
| Дата введения: | 15.07.1980 |
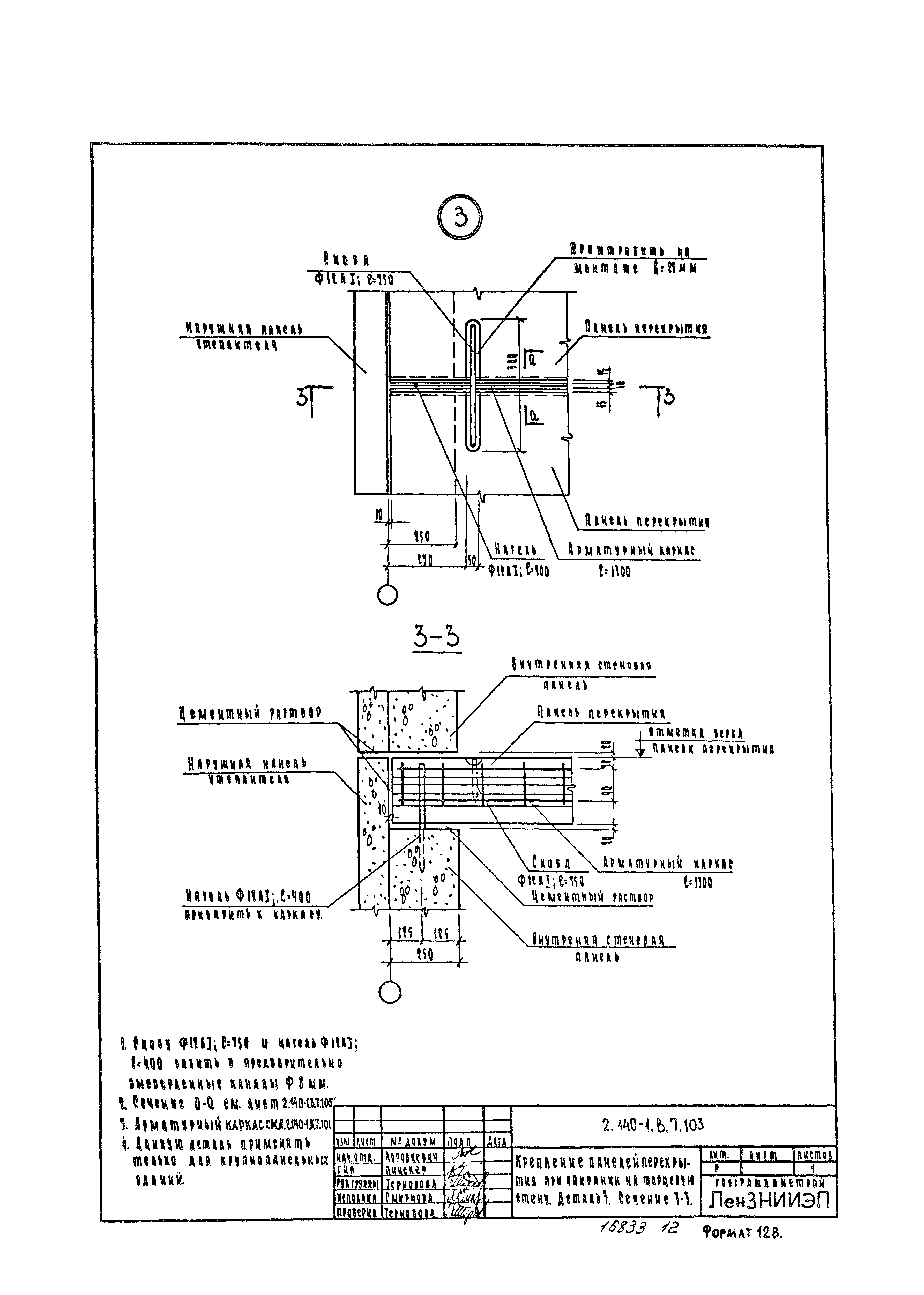
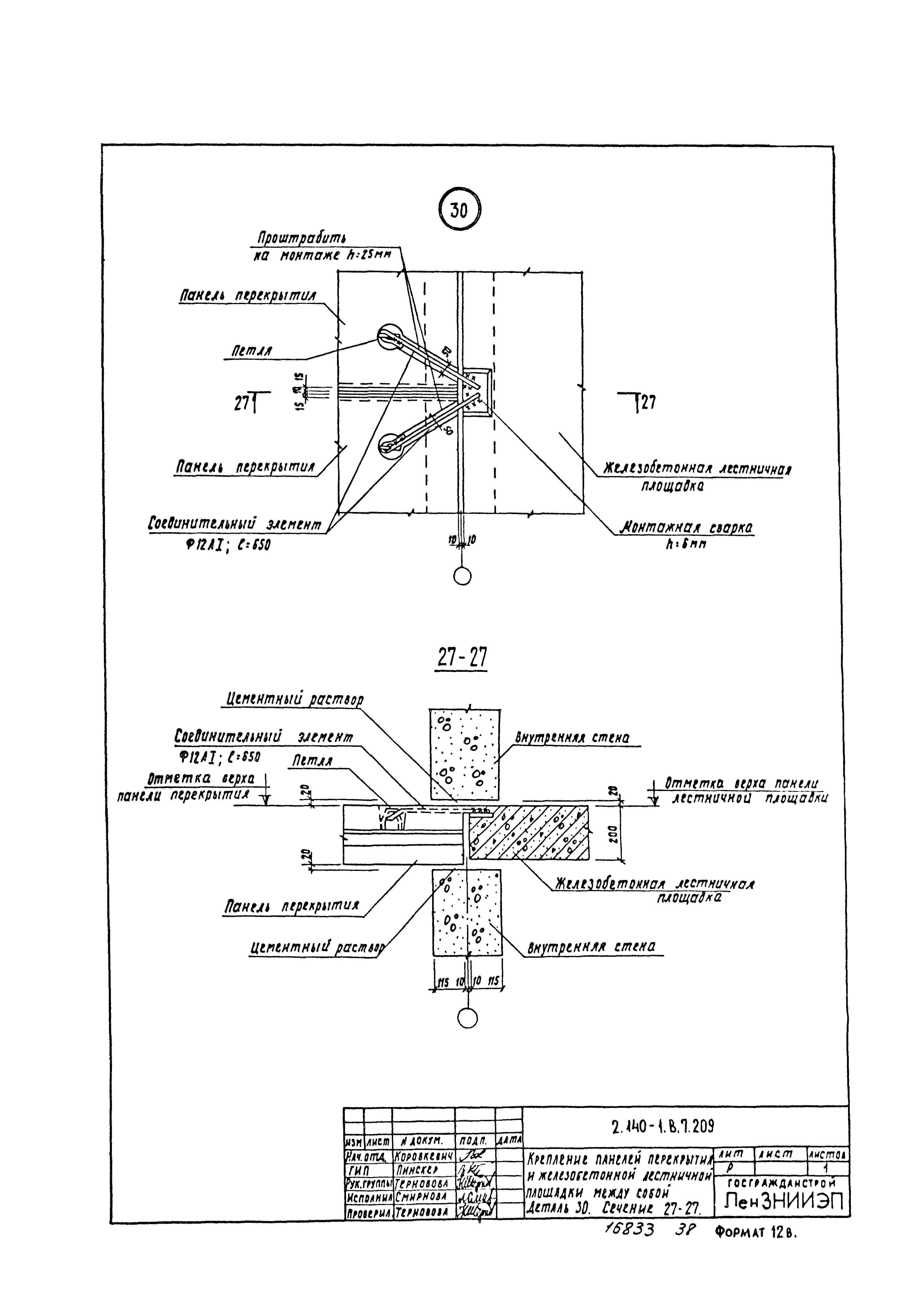
| Оглавление: | Пояснительная записка Примеры монтажных схем перекрытий зданий. Маркировка узлов для 1 (беспетлевого) способа креплений Крепление панелей перекрытия при опирании на внутреннюю стену. Деталь 1. Сечение 1-1 Крепление панелей перекрытия при опирании на внутреннюю стену. Деталь 2. Сечение 2-2 Крепление панелей перекрытия при опирании на торцевую стену. Деталь 3. Сечение 3-3 Крепление панелей перекрытия при опирании на торцевую стену. Деталь 4. Сечение 4-4 Крепление панелей перекрытия при опирании на внутреннюю стену лестничной клетки. Деталь 5. Сечение 5-5 Крепление панелей перекрытия при опирании на внутреннюю стену лестничной клетки. Деталь 6. Сечение 6-6 Крепление панелей перекрытия при опирании на внутреннюю стену лестничной клетки. Деталь 7. Сечение 7-7 Опирание панели перекрытия лоджии у торца здания. Деталь 8. Сечение 8-8 Крепление панелей перекрытия в местах устройств лоджии. Деталь 9. Сечение 9-9 Опирание панели перекрытия в местах устройства лоджии. Деталь 10. Сечение 10-10 Крепление панелей перекрытия лоджии. Деталь 11. Сечение 11-11 Опирание панелей перекрытия лоджии на железобетонную стеновую панель. Деталь 12. Сечение 12-12; 13-13 Крепление панелей перекрытия и железобетонной лестничной площадки между собой. Деталь 13. Сечение 14-14 Опирание панелей перекрытия на внутренние стены с осевой привязкой у деформационного шва. Деталь 14. Сечение 15-15 Крепление панелей перекрытия между собой при осевой привязке внутренних стен у деформационного шва. Деталь 15. Сечение 16-16 Опирание панелей перекрытия лоджии на стеновые панели с осевой привязкой у деформационного шва. Деталь 16. Сечение 17-17 Опирание панелей перекрытия на внутренние стены с нулевой привязкой у деформационного шва. Деталь 17. Сечение 18-18 Крепление панелей перекрытия между собой при нулевой привязке внутренних стен у деформационного шва. Деталь 18. Сечение 19-19 Опирание панелей перекрытия лоджии на стеновые панели с нулевой привязкой у деформационного шва. Деталь 19. Сечение 20-20 Примеры монтажных схем перекрытий зданий. Маркировка узлов для 2 способа креплений (за монтажные петли) Крепление панелей перекрытия между собой при осевой привязке внутренних стен у деформационного шва. Деталь 20. Сечение 21-21 Крепление панелей перекрытия между собой при осевой привязке внутренних стен у деформационного шва. Деталь 21. Сечение 22-22 Крепление панелей перекрытия между собой при нулевой привязке внутренних стен у деформационного шва. Деталь 22. Крепление панелей перекрытия при опирании на внутреннюю стену. Деталь 23 Крепление панелей перекрытия при опирании на внутреннюю стену. Деталь 24. Сечение 23-23 Крепление панелей перекрытия при опирании на внутреннюю стену. Детали: 25, 26 Крепление панелей перекрытия при опирании на внутреннюю стену. Деталь 27. Сечение 24-24 Крепление панелей перекрытия при опирании на торцевую стену. Деталь 28. Сечение 25-25 Крепление панелей перекрытия при опирании на торцевую стену. Деталь 29. Сечение 26-26 Крепление панелей перекрытия и железобетонной лестничной площадки между собой. Деталь 30. Сечение 27-27 Крепление панелей перекрытия в местах устройства лоджии. Деталь 31. Сечение 28-28 Примеры монтажных схем перекрытий крупноблочных и мелкоблочных зданий (нательные крепления). Маркировка узлов Крепление панели перекрытия к торцевой стене. Деталь 32. Сечение 29-29 Крепление панелей перекрытия к наружной стене. Деталь 33. Сечение 30-30 Крепление панелей перекрытия к наружной стене. Деталь 34. Сечение 31-31 Крепление панелей перекрытия при опирании на внутреннюю стену. Деталь 35. Сечение 32-32 Крепление панелей перекрытия к наружной стене с нулевой привязкой внутренних стен у деформационного шва. Деталь 36. Сечение 33-33 Крепление панелей перекрытия к наружной стене с осевой привязкой внутренних стен у деформационного шва. Деталь 37. Сечение 34-34 Детали установки закладного элемента для подвески осветительных приборов. Детали стыков перекрытий |
| Разработан: | ЛенЗНИИЭП Госгражданстроя |
| Утверждён: | 19.06.1980 Госгражданстрой (Gosgrazhdanstroy 155) |
| Издан: | ЦИТП Госстроя СССР (CITP, Gosstroy (USSR) 1988 г. ) |
| Расположен в: |















































