| ||||||||||||||||||||||||||||||
Скачать Серия 1.464-13/82 Выпуск 0. Материалы для проектирования. Рабочие чертежи узловДата актуализации: 10.08.2017
|
| Обозначение: | Серия 1.464-13/82 |
| Обозначение англ: | Series 1.464-13/82 |
| Статус: | не определен законодательством |
| Название рус.: | Выпуск 0. Материалы для проектирования. Рабочие чертежи узлов |
| Дата добавления в базу: | 01.09.2013 |
| Дата актуализации: | 05.05.2017 |
| Дата введения: | 01.01.1983 |
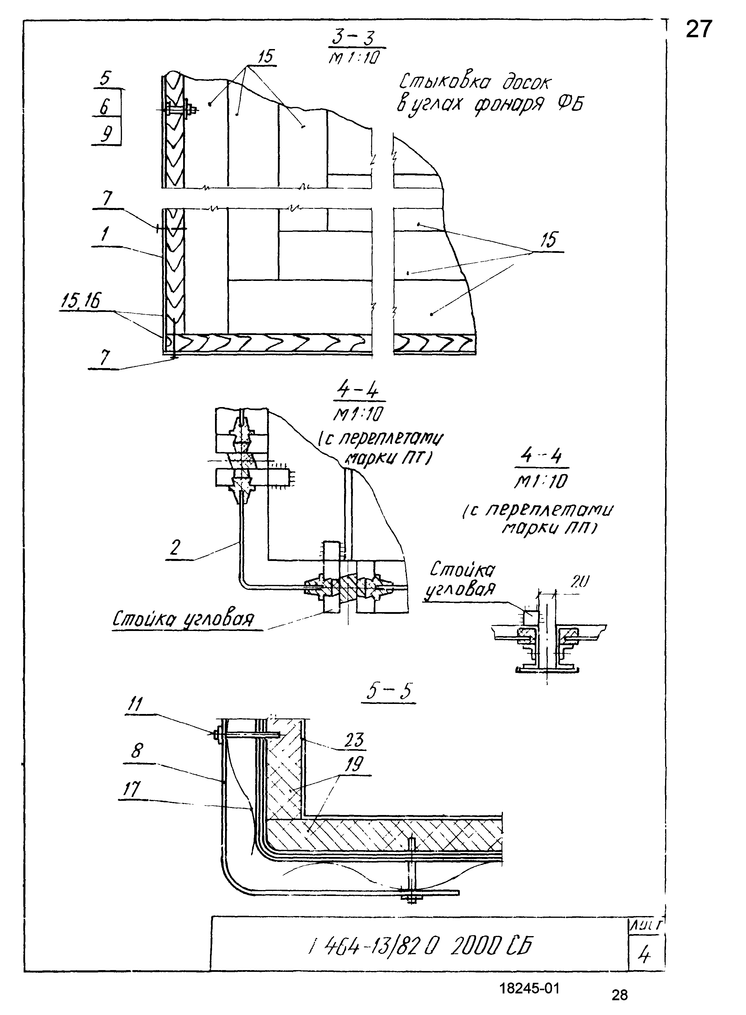
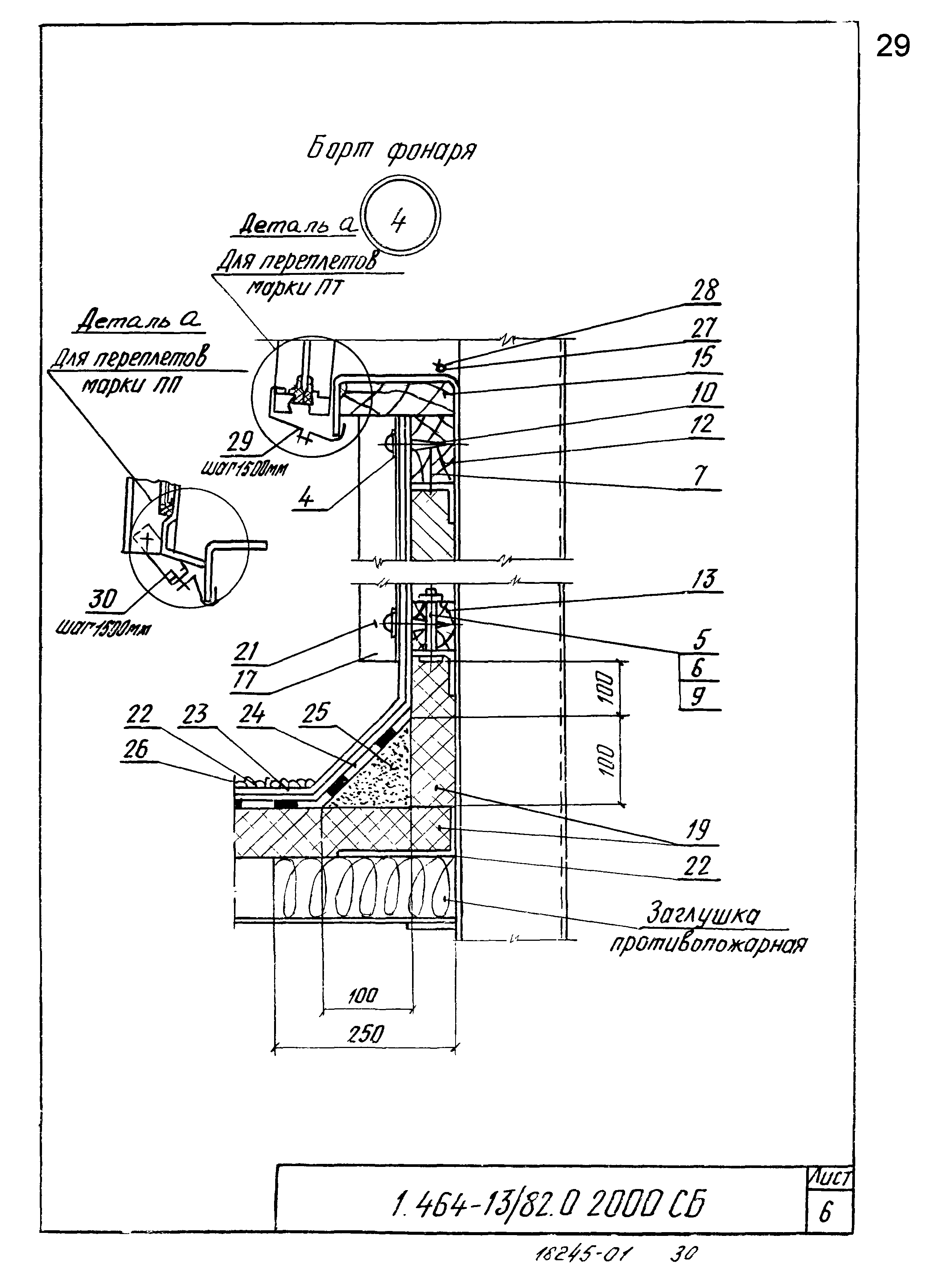
| Оглавление: | 1.464-13/82.0.0000 ПЗ Пояснительная записка 1.464-13/82.0.1000 Схемы расположения фонарей механизмов открывания 1.464-13/82.0.2000 Светоаэрационные фонари. Архитектурно-строительная часть 1.464-13/82.0.2000 СБ Светоаэрационные фонари. Архитектурно-строительная часть. Сборочный чертеж 1.464-13/82.0.2001 Элемент карниза 1.464-13/82.0.2002 Элемент угловой вставки 1.464-13/82.0.2003 Полоса прижимная |
| Разработан: | ЦНИИпромзданий |
| Утверждён: | 08.09.1982 Госстрой СССР (Государственный комитет Совета Министров СССР по делам строительства) (USSR Gosstroy 213) |
| Издан: | ЦИТП Госстроя СССР (CITP, Gosstroy (USSR) 1982 г. ) |
| Расположен в: | |
| Заменяет собой: |






































