| ||||||||||||||||||||||||||
Скачать Серия 1.263.2-4 Выпуск 1. Фермы пролетами 18, 21 и 24 м из прокатных уголков. Чертежи КМДата актуализации: 10.08.2017
|
| Обозначение: | Серия 1.263.2-4 |
| Обозначение англ: | Series 1.263.2-4 |
| Статус: | не определен законодательством |
| Название рус.: | Выпуск 1. Фермы пролетами 18, 21 и 24 м из прокатных уголков. Чертежи КМ |
| Дата добавления в базу: | 01.09.2013 |
| Дата актуализации: | 05.05.2017 |
| Дата введения: | 01.12.1982 |
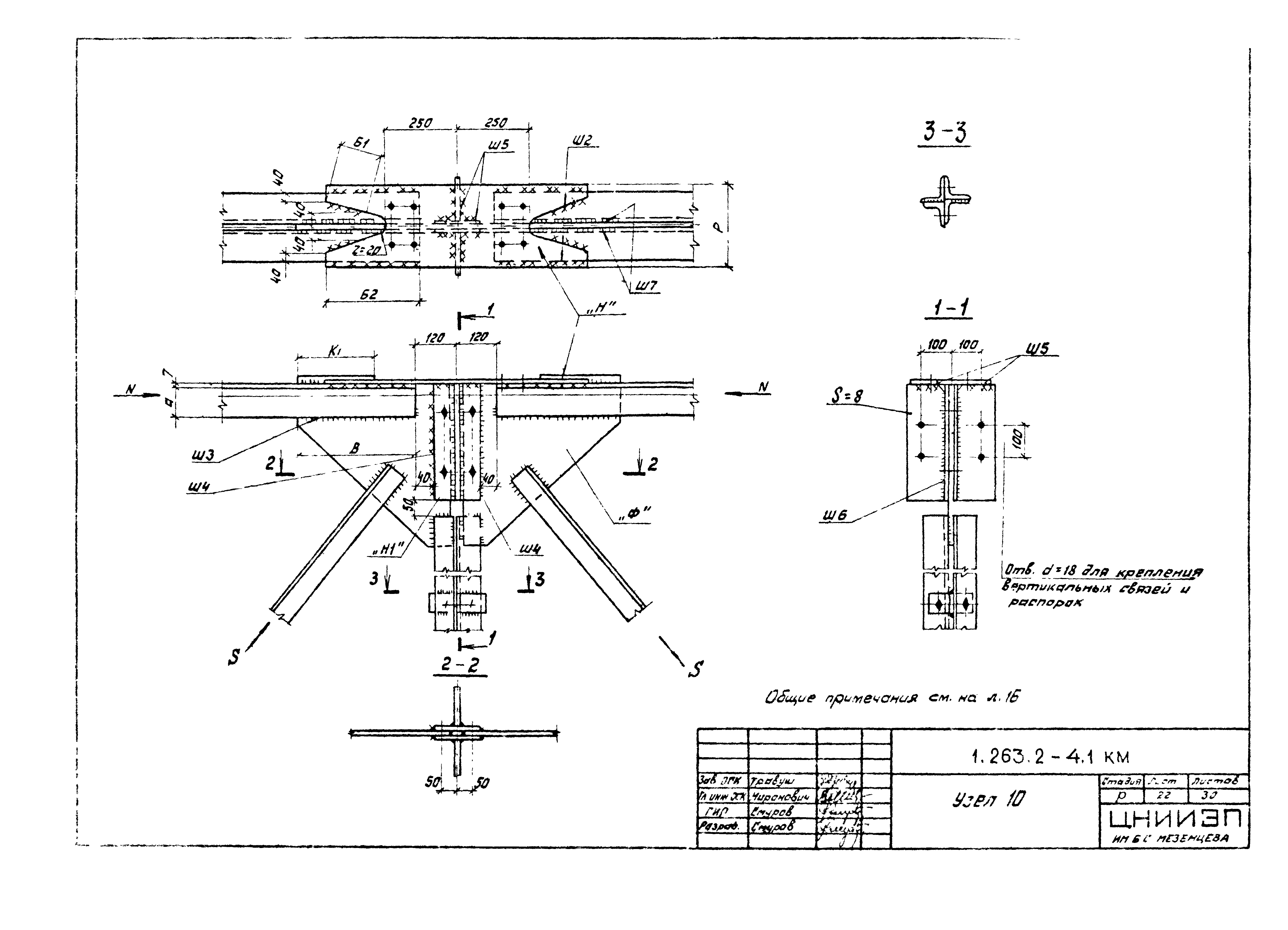
| Оглавление: | 1.263-2-4.1КМ-1-3 Техническое описание 1.263-2-4.1КМ-4 Схемы ферм с маркировкой узлов. Разбивка ферм на отправочные марки 1.263-2-4.1КМ-5 Схемы расположения ферм пролетом 18 м и связей 1.263-2-4.1КМ-6 Схемы расположения ферм пролетом 21 м и связей 1.263-2-4.1КМ-7 Схемы расположения ферм пролетом 24 м и связей 1.263-2-4.1КМ-8 Схема ферм с маркировкой элементов 1.263-2-4.1КМ-9 Сортамент ферм пролетом L=18 м и Н=1,2 м 1.263-2-4.1КМ-10 Сортамент ферм пролетом L=18 м и Н=1,8 м 1.263-2-4.1КМ-11 Сортамент ферм пролетом L=21 м и Н=1,8 м 1.263-2-4.1КМ-12 Сортамент ферм пролетом L=24 м и Н=1,8 м 1.263-2-4.1КМ-13 Схемы вертикальных связей В-1,В-2 1.263-2-4.1КМ-14 Узел 1 1.263-2-4.1КМ-15 Узел 2,3 1.263-2-4.1КМ-16 Узел 4 1.263-2-4.1КМ-17 Узел 5 1.263-2-4.1КМ-18 Узел 6 1.263-2-4.1КМ-19 Узел 7 1.263-2-4.1КМ-20 Узел 8 1.263-2-4.1КМ-21 Узел 9 1.263-2-4.1КМ-22 Узел 10 1.263-2-4.1КМ-23 Узел 11 1.263-2-4.1КМ-24 Узел 12-15 1.263-2-4.1КМ-25 Указание по расчету сварных швов узлов ферм 1.263-2-4.1КМ-26 Разметка отверстий по верхним поясам ферм для крепления связей 1.263-2-4.1КМ-27 Схема раскладки железобетонных плит и детали их приварки к поясам ферм 1.263-2-4.1КМ-28 Спецификация стали ферм пролетом 18 м 1.263-2-4.1КМ-29 Спецификация стали ферм пролетом 21 м 1.263-2-4.1КМ-30 Спецификация стали ферм пролетом 24 м |
| Разработан: | ЦНИИЭП им. Б.С. Мезенцева Госгражданстроя |
| Утверждён: | 13.10.1982 Государственный комитет по гражданскому строительству и архитектуре при Госстрое СССР (269) |
| Расположен в: |
































