Информационная система
«Ёшкин Кот»

Скачать базу одним архивом
Скачать обновления
История создания базы
Карта сайта

Скачать Серия 1.424.1-6/89 Выпуск 1. Колонны. Рабочие чертежи

Дата актуализации: 10.08.2017

Серия 1.424.1-6/89

Выпуск 1. Колонны. Рабочие чертежи

Обозначение: Серия 1.424.1-6/89
Обозначение англ: Series 1.424.1-6/89
Статус:не определен законодательством
Название рус.:Выпуск 1. Колонны. Рабочие чертежи
Дата добавления в базу:01.09.2013
Дата актуализации:05.05.2017
Дата введения:01.10.1989
Оглавление:1.424.1-6/89.1-ТТ Технические требования
1.424.1-6/89.1-1 Колонна крайняя 1ККП108-1…1ККП108-4; 1ККП120-1…1ККП120-6.
1.424.1-6/89.1-2 Колонна крайняя 2ККП108-1…2ККП108-4; 4ККП108-1…4ККП108-3.
1.424.1-6/89.1-3 Колонна крайняя 3ККП108-1…3ККП108-5.
1.424.1-6/89.1-4 Колонна крайняя 6ККП108-1…6ККП108-5; 7ККП108-1…7ККП108-4.
1.424.1-6/89.1-5 Колонна крайняя 8ККП108-1…8ККП108-6.
1.424.1-6/89.1-6 Колонна крайняя 2ККП120-1…2ККП120-5; 4ККП120-1…4ККП120-3.
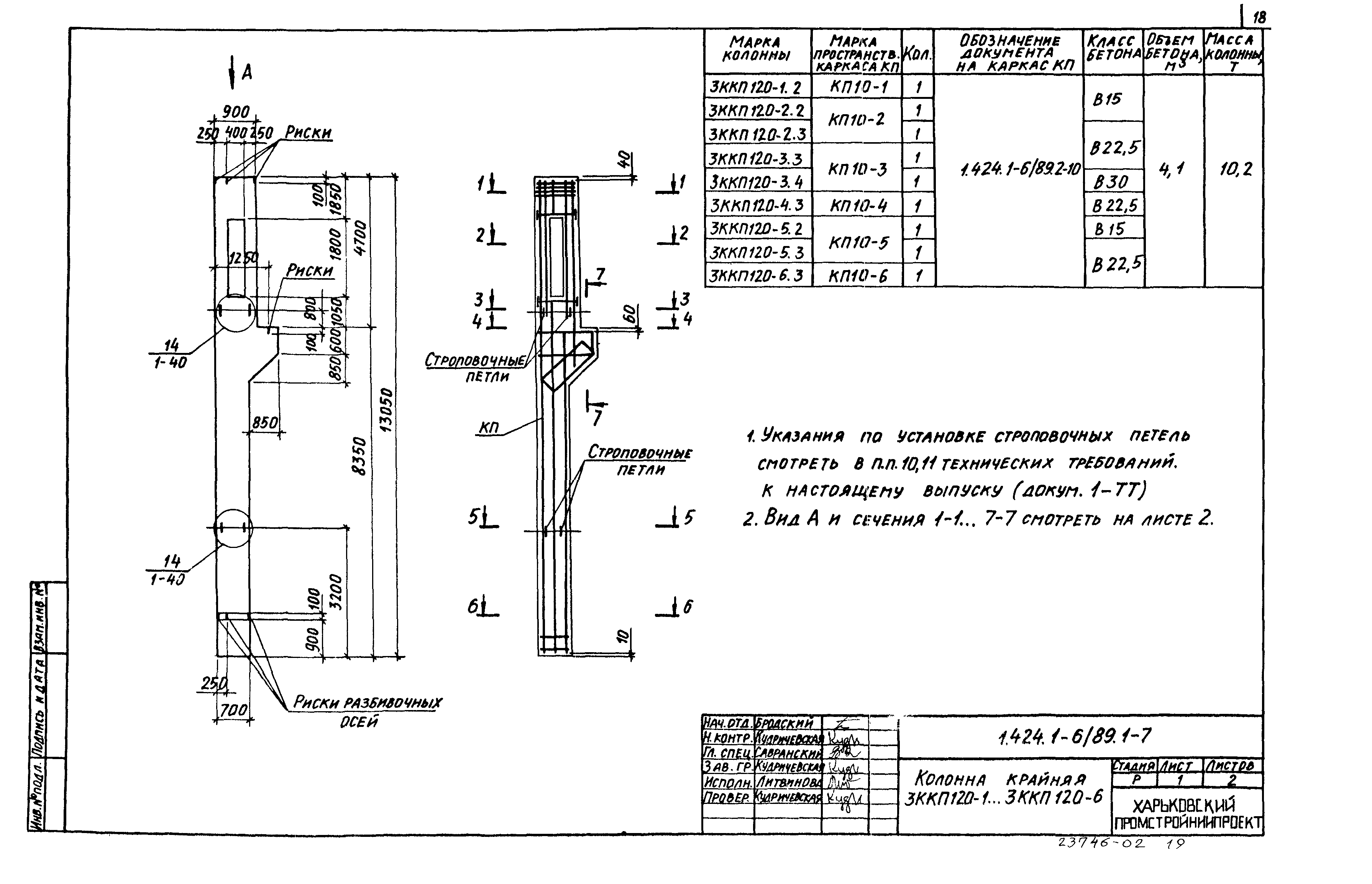
1.424.1-6/89.1-7 Колонна крайняя 3ККП120-1…3ККП120-6.
1.424.1-6/89.1-8 Колонна крайняя 6ККП120-1…6ККП120-6.
1.424.1-6/89.1-9 Колонна крайняя 7ККП120-1…7ККП120-7; 8ККП120-1…8ККП120-6.
1.424.1-6/89.1-10 Колонна крайняя 1ККП132-1…1ККП132-5; 3ККП132-1…3ККП132-6.
1.424.1-6/89.1-11 Колонна крайняя 2ККП132-1…2ККП132-4; 4ККП132-1…4ККП132-3.
1.424.1-6/89.1-12 Колонна крайняя 6ККП132-1…6ККП132-5.
1.424.1-6/89.1-13 Колонна крайняя 7ККП132-1…7ККП132-5; 8ККП132-1…8ККП132-4.
1.424.1-6/89.1-14 Колонна крайняя 1ККП144-1…1ККП144-3; 3ККП144-1…3ККП144-6.
1.424.1-6/89.1-15 Колонна крайняя 2ККП144-1…2ККП144-6; 4ККП144-1…4ККП144-3.
1.424.1-6/89.1-16 Колонна крайняя 6ККП144-1…6ККП144-5; 8ККП144-1…8ККП144-5.
1.424.1-6/89.1-17 Колонна крайняя 7ККП144-1…7ККП144-7.
1.424.1-6/89.1-18 Колонна средняя 9ККП108-1…9ККП108-6; 9ККП120-1…9ККП120-8.
1.424.1-6/89.1-19 Колонна средняя 10ККП108-1…10ККП108-8.
1.424.1-6/89.1-20 Колонна средняя 11ККП108-1…11ККП108-10; 11ККП120-1…11ККП120-9.
1.424.1-6/89.1-21 Колонна средняя 12ККП108-1…12ККП108-4; 12ККП120-1…12ККП120-5.
1.424.1-6/89.1-22 Колонна средняя 13ККП108-1…13ККП108-2; 14ККП108-1…14ККП108-3.
1.424.1-6/89.1-23 Колонна средняя 10ККП120-1…10ККП120-8.
1.424.1-6/89.1-24 Колонна средняя 13ККП120-1…13ККП120-3; 14ККП120-1…14ККП120-2.
1.424.1-6/89.1-25 Колонна средняя 9ККП132-1…9ККП132-8; 9ККП144-1…9ККП144-9.
1.424.1-6/89.1-26 Колонна средняя 10ККП132-1…10ККП132-7.
1.424.1-6/89.1-27 Колонна средняя 11ККП132-1…11ККП132-5; 11ККП144-1…11ККП144-9.
1.424.1-6/89.1-28 Колонна средняя 12ККП132-1…12ККП132-4; 12ККП144-1…12ККП144-5.
1.424.1-6/89.1-29 Колонна средняя 13ККП132-1…13ККП132-3; 14ККП132-1…14ККП132-2.
1.424.1-6/89.1-30 Колонна средняя 10ККП144-1…10ККП144-9.
1.424.1-6/89.1-31 Колонна средняя 13ККП144-1…13ККП144-3; 14ККП144-1…14ККП144-4.
1.424.1-6/89.1-32 Узел 1…6
1.424.1-6/89.1-33 Узел 7; 7-1…7-3
1.424.1-6/89.1-34 Узел 8; 8-1
1.424.1-6/89.1-35 Узел 9
1.424.1-6/89.1-36 Узел 10
1.424.1-6/89.1-37 Узел 11; 11-1…11-3
1.424.1-6/89.1-38 Узел 12
1.424.1-6/89.1-39 Узел 13; 13-1
1.424.1-6/89.1-40 Узел 14; 14-1; 14-2
1.424.1-6/89.1-41 Узел 15; 15-1
1.424.1-6/89.1-42 Узел 16; 16-1…16-5
1.424.1-6/89.1-43 Узел 17; 17-1…17-5
1.424.1-6/89.1-44 Узел 18
1.424.1-6/89.1-45 Узел 19; 19-1
1.424.1-6/89.1-46 Узел 20; 20-1
1.424.1-6/89.1-47 Узел 21
1.424.1-6/89.1-48 РС Ведомость расхода стали, кг
1.424.1-6/89.1-49 Указания по замене арматуры класса АIII на арматуру класса Ат-IV с
1.424.1-6/89.1-50 Таблицы подбора марок плоских каркасов при замене арматуры класса АIII на арматуру класса Ат-IV с.
Разработан: Харьковский Промстройниипроект
АО ЦНИИпромзданий
Утверждён:10.02.1989 Госстрой СССР (Государственный комитет Совета Министров СССР по делам строительства) (USSR Gosstroy 4/6-193)
Издан: ЦИТП Госстроя СССР (CITP, Gosstroy (USSR) 1989 г. )
Расположен в:Техническая документация Строительство Справочные документы Типовые строительные конструкции, изделия и узлы Общероссийский строительный каталог Строительные конструкции, изделия и узлы зданий и сооружений для всех видов строительства Конструкции, изделия и узлы зданий Несущие конструкции одноэтажных зданий Колонны Железобетонные
Серия 1.424.1-6/89Серия 1.424.1-6/89Серия 1.424.1-6/89Серия 1.424.1-6/89Серия 1.424.1-6/89Серия 1.424.1-6/89Серия 1.424.1-6/89Серия 1.424.1-6/89Серия 1.424.1-6/89Серия 1.424.1-6/89Серия 1.424.1-6/89Серия 1.424.1-6/89Серия 1.424.1-6/89Серия 1.424.1-6/89Серия 1.424.1-6/89Серия 1.424.1-6/89Серия 1.424.1-6/89Серия 1.424.1-6/89Серия 1.424.1-6/89Серия 1.424.1-6/89Серия 1.424.1-6/89Серия 1.424.1-6/89Серия 1.424.1-6/89Серия 1.424.1-6/89Серия 1.424.1-6/89Серия 1.424.1-6/89Серия 1.424.1-6/89Серия 1.424.1-6/89Серия 1.424.1-6/89Серия 1.424.1-6/89Серия 1.424.1-6/89Серия 1.424.1-6/89Серия 1.424.1-6/89Серия 1.424.1-6/89Серия 1.424.1-6/89Серия 1.424.1-6/89Серия 1.424.1-6/89Серия 1.424.1-6/89Серия 1.424.1-6/89Серия 1.424.1-6/89Серия 1.424.1-6/89Серия 1.424.1-6/89Серия 1.424.1-6/89Серия 1.424.1-6/89Серия 1.424.1-6/89Серия 1.424.1-6/89Серия 1.424.1-6/89Серия 1.424.1-6/89Серия 1.424.1-6/89Серия 1.424.1-6/89Серия 1.424.1-6/89Серия 1.424.1-6/89Серия 1.424.1-6/89Серия 1.424.1-6/89Серия 1.424.1-6/89Серия 1.424.1-6/89Серия 1.424.1-6/89Серия 1.424.1-6/89Серия 1.424.1-6/89Серия 1.424.1-6/89Серия 1.424.1-6/89Серия 1.424.1-6/89Серия 1.424.1-6/89Серия 1.424.1-6/89Серия 1.424.1-6/89Серия 1.424.1-6/89Серия 1.424.1-6/89Серия 1.424.1-6/89Серия 1.424.1-6/89Серия 1.424.1-6/89Серия 1.424.1-6/89Серия 1.424.1-6/89Серия 1.424.1-6/89Серия 1.424.1-6/89Серия 1.424.1-6/89Серия 1.424.1-6/89Серия 1.424.1-6/89Серия 1.424.1-6/89Серия 1.424.1-6/89Серия 1.424.1-6/89Серия 1.424.1-6/89Серия 1.424.1-6/89Серия 1.424.1-6/89Серия 1.424.1-6/89Серия 1.424.1-6/89Серия 1.424.1-6/89Серия 1.424.1-6/89Серия 1.424.1-6/89Серия 1.424.1-6/89Серия 1.424.1-6/89Серия 1.424.1-6/89Серия 1.424.1-6/89Серия 1.424.1-6/89Серия 1.424.1-6/89Серия 1.424.1-6/89Серия 1.424.1-6/89Серия 1.424.1-6/89Серия 1.424.1-6/89Серия 1.424.1-6/89Серия 1.424.1-6/89Серия 1.424.1-6/89Серия 1.424.1-6/89Серия 1.424.1-6/89Серия 1.424.1-6/89Серия 1.424.1-6/89Серия 1.424.1-6/89Серия 1.424.1-6/89Серия 1.424.1-6/89

© 2013 Ёшкин Кот :-) Карта сайта