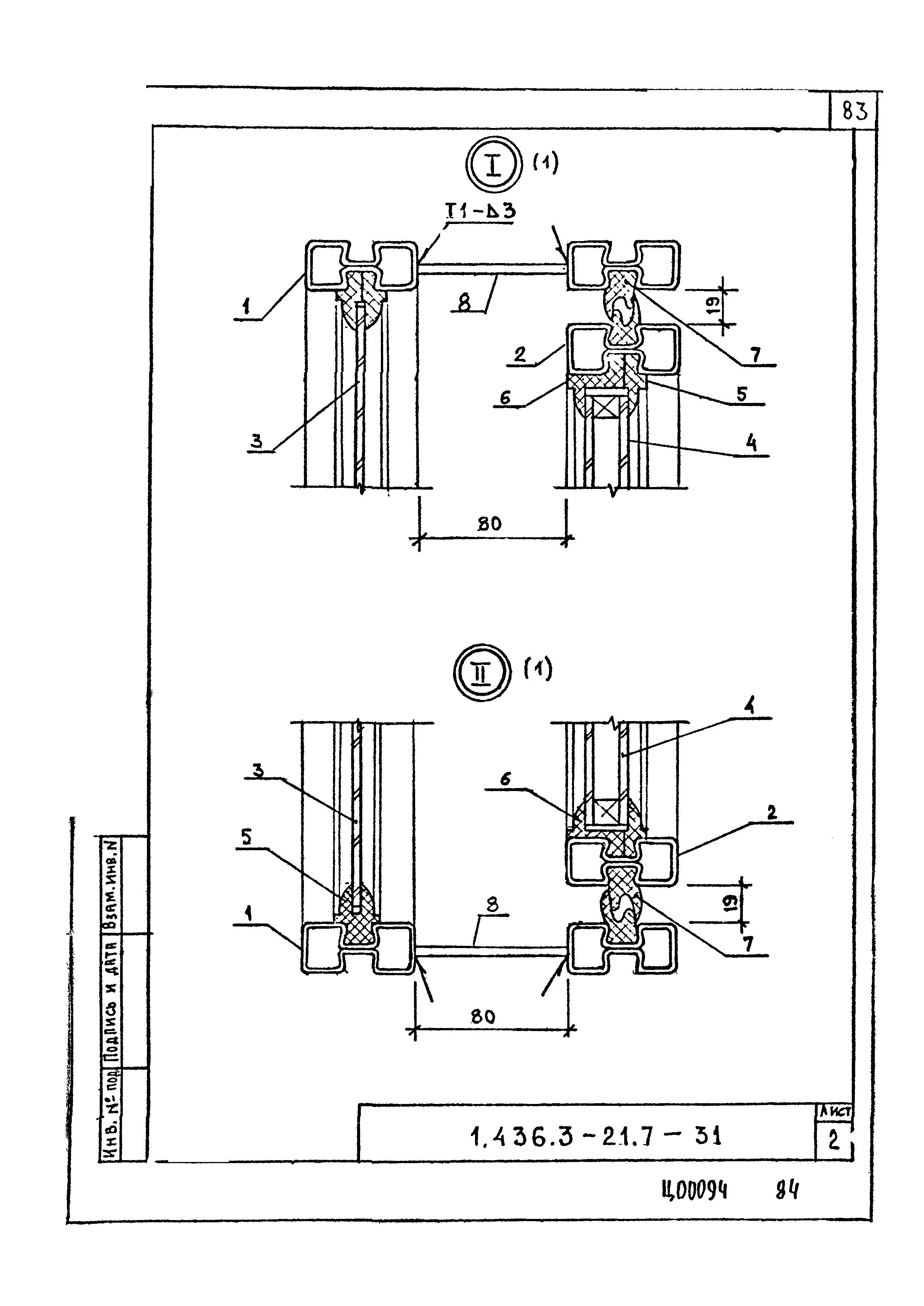
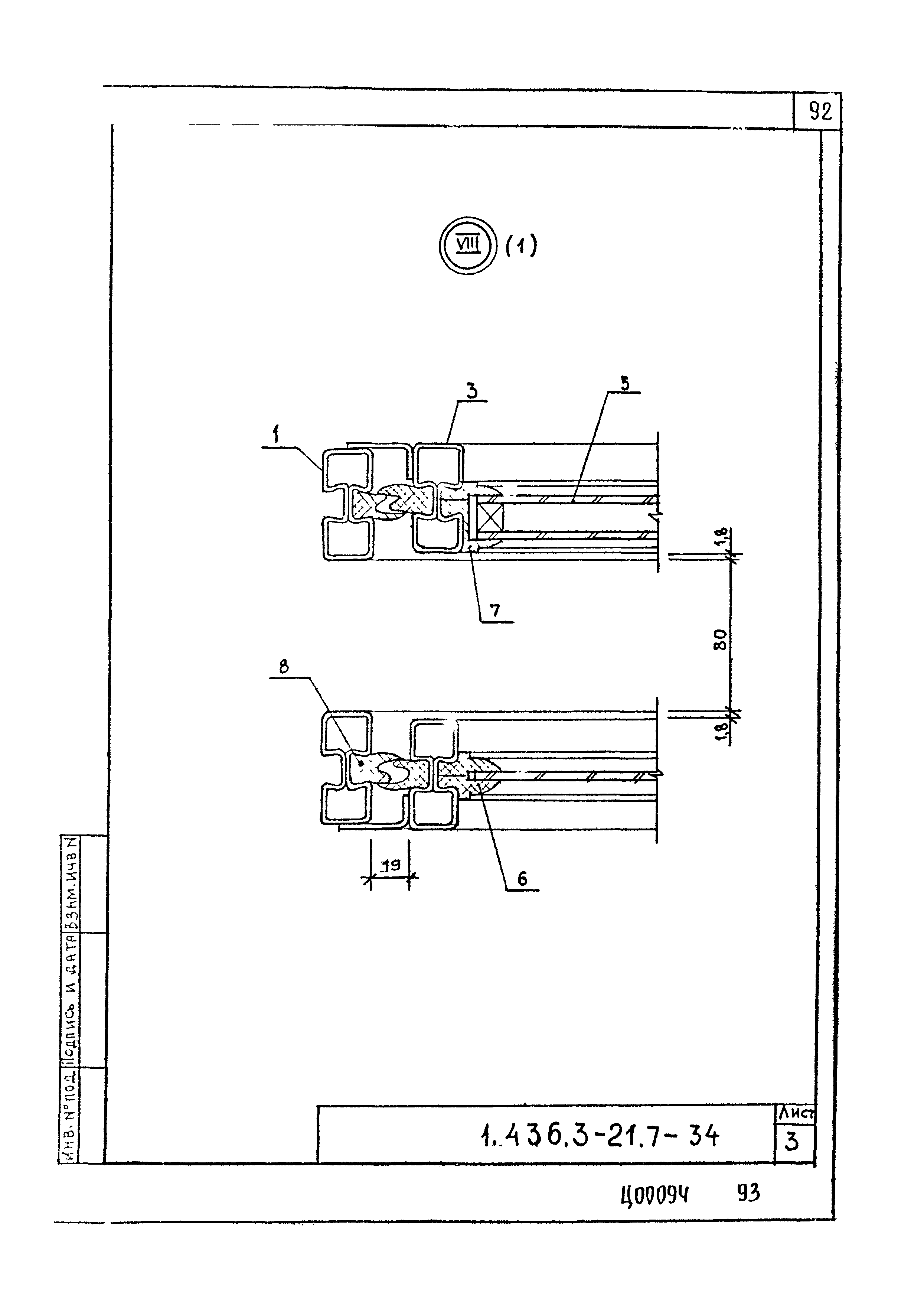
Скачать Серия 1.436.3-21 Выпуск 7. Окна для административных и бытовых зданий. Указания по применению и рабочие чертежиДата актуализации: 10.08.2017 Серия 1.436.3-21
Выпуск 7. Окна для административных и бытовых зданий. Указания по применению и рабочие чертежиОбозначение: | Серия 1.436.3-21 | Обозначение англ: | Series 1.436.3-21 | Статус: | не определен законодательством | Название рус.: | Выпуск 7. Окна для административных и бытовых зданий. Указания по применению и рабочие чертежи | Дата добавления в базу: | 01.09.2013 | Дата актуализации: | 05.05.2017 | Дата введения: | 01.11.1993 | Разработан: | АО ЦНИИпромзданий
| Утверждён: | 26.08.1993 Госстрой России (Russian Federation Gosstroy 9-3-3/185)
| Расположен в: |
|
                                                                                                         
|