| ||||||||||||||||||||||||||||
Скачать Серия 2.030-2.01 Выпуск 1. Материалы для проектирования и рабочие чертежи узловДата актуализации: 10.08.2017
|
| Обозначение: | Серия 2.030-2.01 |
| Обозначение англ: | Series 2.030-2.01 |
| Статус: | не определен законодательством |
| Название рус.: | Выпуск 1. Материалы для проектирования и рабочие чертежи узлов |
| Дата добавления в базу: | 01.09.2013 |
| Дата актуализации: | 05.05.2017 |
| Дата введения: | 03.01.2002 |
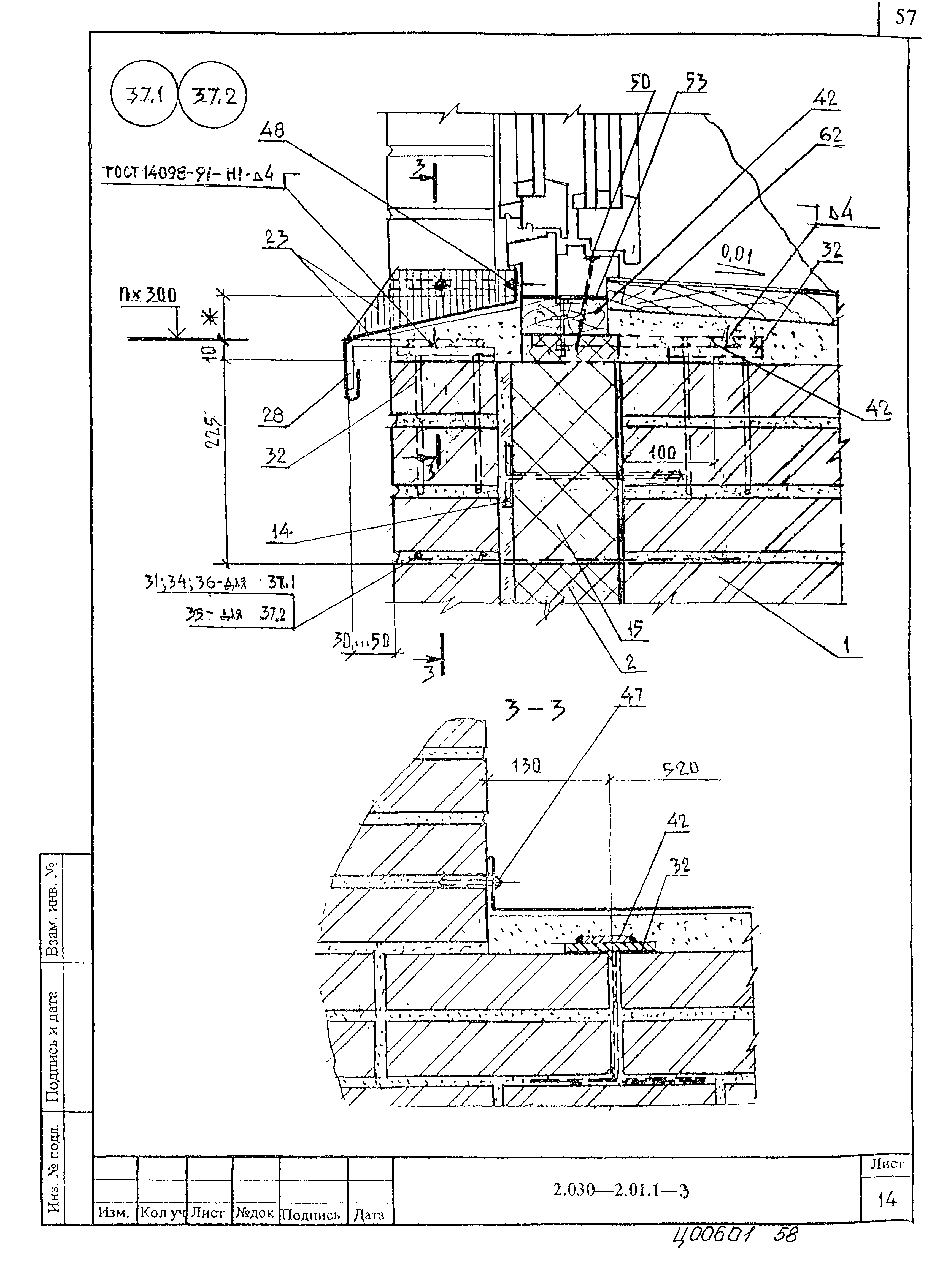
| Оглавление: | 2.030.-2.01.1-ПЗ Пояснительная записка 2.030.-2.01.1-1 Экспликация материалов и изделий 2.030.-2.01.1-2 Облицовка из штукатурки Схема 1… 3. Узел 1… 21 2.030.-2.01.1-3 Облицовка из кирпича. Схема 4… 7. Узел 22… 44 2.030.-2.01.1-4 Комплектующие изделия |
| Разработан: | ОАО ЦНИИпромзданий |
| Утверждён: | 20.11.2001 Госстрой России (Russian Federation Gosstroy ВК-187/14) |
| Издан: | ГУП ЦПП (CPP GUP 2002 г. ) |
| Расположен в: |





































































