Информационная система
«Ёшкин Кот»

Скачать базу одним архивом
Скачать обновления
История создания базы
Карта сайта

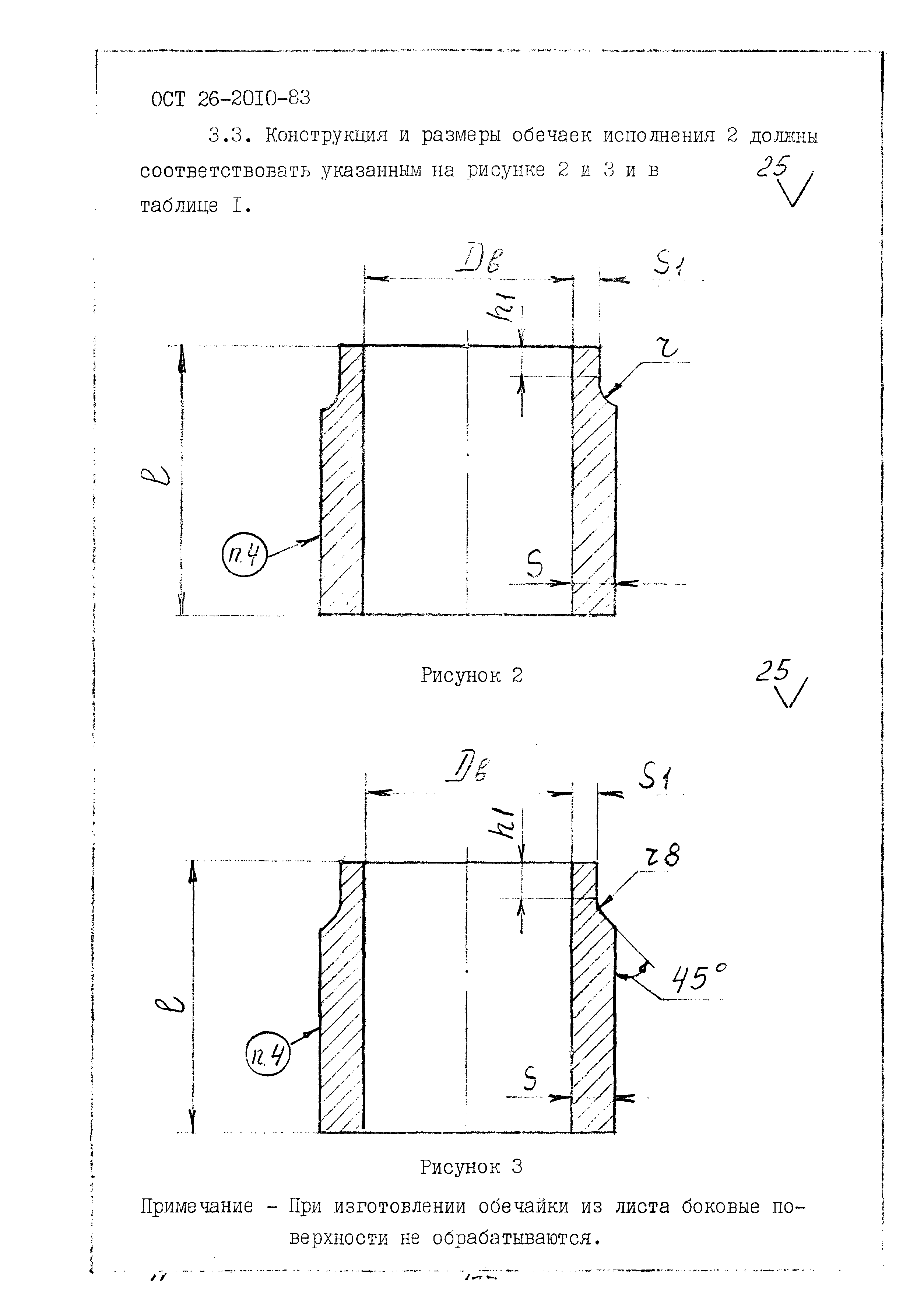
Скачать ОСТ 26-2010-83 Обечайки люков стальных сварных сосудов и аппаратов. Конструкция и размеры

Дата актуализации: 10.08.2017

ОСТ 26-2010-83

Обечайки люков стальных сварных сосудов и аппаратов. Конструкция и размеры

Обозначение: ОСТ 26-2010-83
Обозначение англ: OST 26-2010-83
Статус:не определен законодательством
Название рус.:Обечайки люков стальных сварных сосудов и аппаратов. Конструкция и размеры
Дата добавления в базу:01.09.2013
Дата актуализации:05.05.2017
Дата введения:30.06.2003
Область применения:Стандарт распространяется обечайки к люкам по ОСТ 26-2005-83, 26-2006-83, 26-2007-83 стальных сварных сосудов и аппаратов на условное давление от 1,6 до 16,0 МПа (от 16 до 160 кг/см2) и температуру от минус 70 до плюс 540 градусов С.
Оглавление:1. Область применения
2. Нормативные ссылки
3. Конструкция и основные размеры
4. Технические требования и маркировка
5. Масса обечаек
Приложение А Масса обечаек
Разработан: НИИхиммаш
ЦКБН (Центральное конструкторское бюро нефтеаппаратуры)
Утверждён:20.03.1983 Министерство химического и нефтяного машиностроения СССР (USSR Ministry of Chemical and Petroleum Machine Manufacturing )
Принят: ВНИИНЕФТЕМАШ (VNIINEFTEMASH )
Расположен в:Техническая документация Экология ХИМИЧЕСКАЯ ПРОМЫШЛЕННОСТЬ Оборудование для химической промышленности Оборудование для химической промышленности прочее
Список изменений:
Заменяет собой:
  • ОСТ 26-2010-77
Нормативные ссылки:
ОСТ 26-2010-83ОСТ 26-2010-83ОСТ 26-2010-83ОСТ 26-2010-83ОСТ 26-2010-83ОСТ 26-2010-83ОСТ 26-2010-83ОСТ 26-2010-83ОСТ 26-2010-83ОСТ 26-2010-83ОСТ 26-2010-83ОСТ 26-2010-83ОСТ 26-2010-83ОСТ 26-2010-83ОСТ 26-2010-83ОСТ 26-2010-83ОСТ 26-2010-83

© 2013 Ёшкин Кот :-) Карта сайта