Информационная система
«Ёшкин Кот»

Скачать базу одним архивом
Скачать обновления
История создания базы
Карта сайта

Скачать РД 50-633-87 Методические указания. САПР. Правила проектирования технологических процессов в условиях гибких производственных систем

Дата актуализации: 10.08.2017

РД 50-633-87

Методические указания. САПР. Правила проектирования технологических процессов в условиях гибких производственных систем

Обозначение: РД 50-633-87
Обозначение англ: RD 50-633-87
Статус:действует
Название рус.:Методические указания. САПР. Правила проектирования технологических процессов в условиях гибких производственных систем
Дата добавления в базу:01.09.2013
Дата актуализации:05.05.2017
Дата введения:01.01.1988
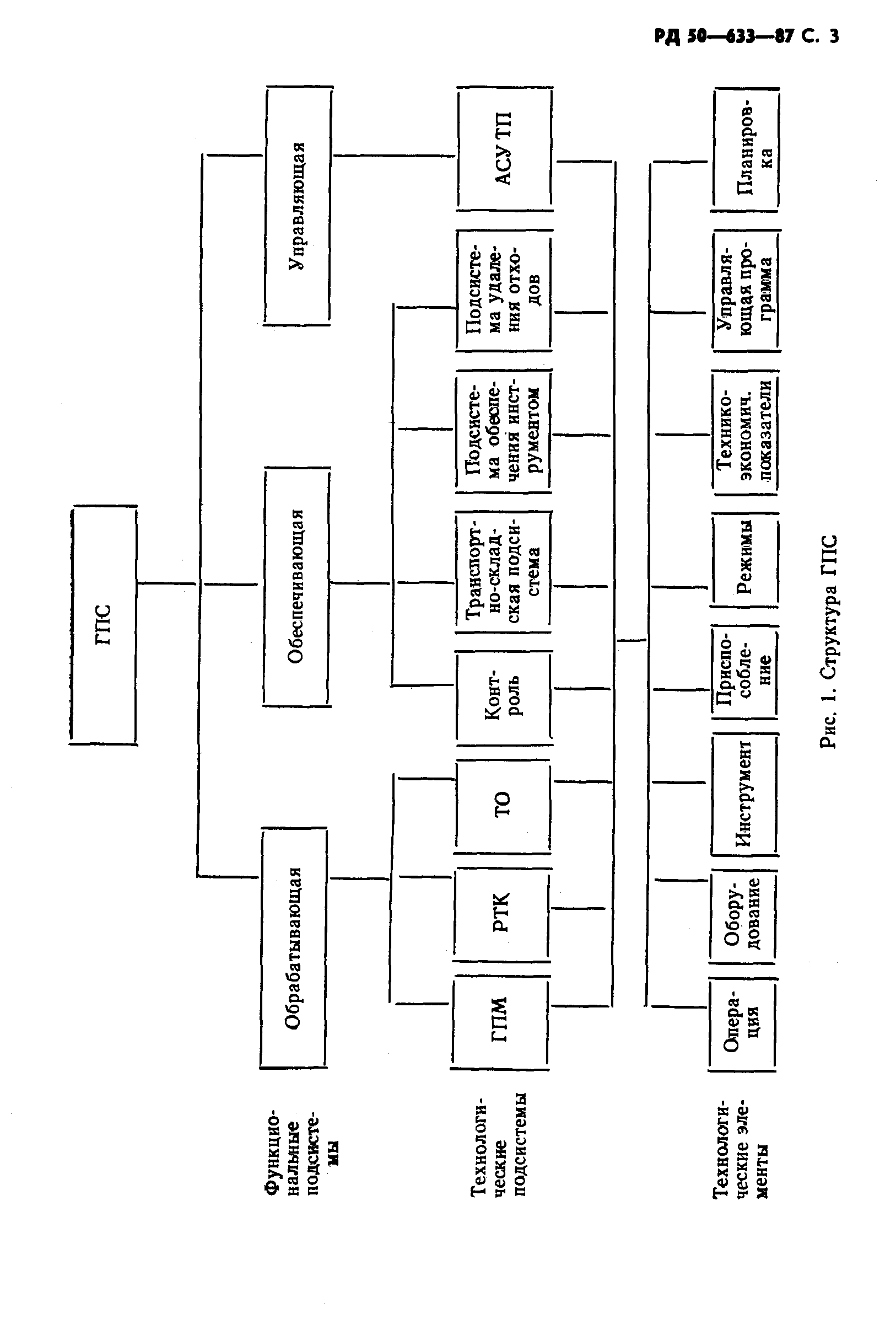
Область применения:Методические указания определяют состав технологических подсистем гибких производственных систем (ГПС), для которых необходимо разрабатывать технологические процессы, требования к технологическим процессам ГПС, правила проектирования технологических процессов для ГПС на основе типовых математических моделей, порядок разработки управляющих программ на основе библиотеки типовых программ.
Оглавление:1 Основные положения
2 Состав и взаимосвязь типовых технологических элементов, обеспечивающих функционирование ГПС
3 Требования к технологическим процессам ГПС
4 Правила проектирования технологических процессов в ГПС
5 Типовые математические модели проектирования технологических процессов
6 Требования к составу и формам представления и взаимосвязи технологических данных в ГПС
Приложение 1 (справочное). Термины и определения
Приложение 2 (рекомендуемое). Структура математического и информационного обеспечения процесса технологического проектирования в ГПС
Приложение 3 (рекомендуемое). Метод классификации изделий и элементов технологической системы в ГПС
Приложение 4 (рекомендуемое). Порядок выбора технологических элементов в ГПС
Приложение 5 (рекомендуемое). Состав и структура метода пошаговой типизации
Список литературы
Разработан: Госстандарт СССР
Утверждён:26.03.1987 Госстандарт СССР (USSR Gosstandart 973)
Издан: Издательство стандартов (1987 г. )
Расположен в:Техническая документация Экология ИНФОРМАЦИОННЫЕ ТЕХНОЛОГИИ. МАШИНЫ КОНТОРСКИЕ Применение информационных технологий Применение информационных технологий в промышленности ОБЩИЕ ПОЛОЖЕНИЯ. ТЕРМИНОЛОГИЯ. СТАНДАРТИЗАЦИЯ. ДОКУМЕНТАЦИЯ Техническая документация на продукцию
Нормативные ссылки:
РД 50-633-87РД 50-633-87РД 50-633-87РД 50-633-87РД 50-633-87РД 50-633-87РД 50-633-87РД 50-633-87РД 50-633-87РД 50-633-87РД 50-633-87РД 50-633-87РД 50-633-87РД 50-633-87РД 50-633-87РД 50-633-87РД 50-633-87РД 50-633-87РД 50-633-87РД 50-633-87РД 50-633-87РД 50-633-87РД 50-633-87РД 50-633-87РД 50-633-87РД 50-633-87РД 50-633-87РД 50-633-87РД 50-633-87РД 50-633-87РД 50-633-87РД 50-633-87РД 50-633-87РД 50-633-87РД 50-633-87РД 50-633-87РД 50-633-87РД 50-633-87РД 50-633-87РД 50-633-87РД 50-633-87РД 50-633-87РД 50-633-87РД 50-633-87РД 50-633-87РД 50-633-87РД 50-633-87РД 50-633-87РД 50-633-87РД 50-633-87РД 50-633-87РД 50-633-87РД 50-633-87РД 50-633-87РД 50-633-87РД 50-633-87РД 50-633-87РД 50-633-87РД 50-633-87РД 50-633-87РД 50-633-87РД 50-633-87РД 50-633-87РД 50-633-87РД 50-633-87

© 2013 Ёшкин Кот :-) Карта сайта