Скачать ТУ 34-38-20049-96 Насосы 4К-6, 4К-12. Технические условия на ремонтДата актуализации: 10.08.2017 ТУ 34-38-20049-96
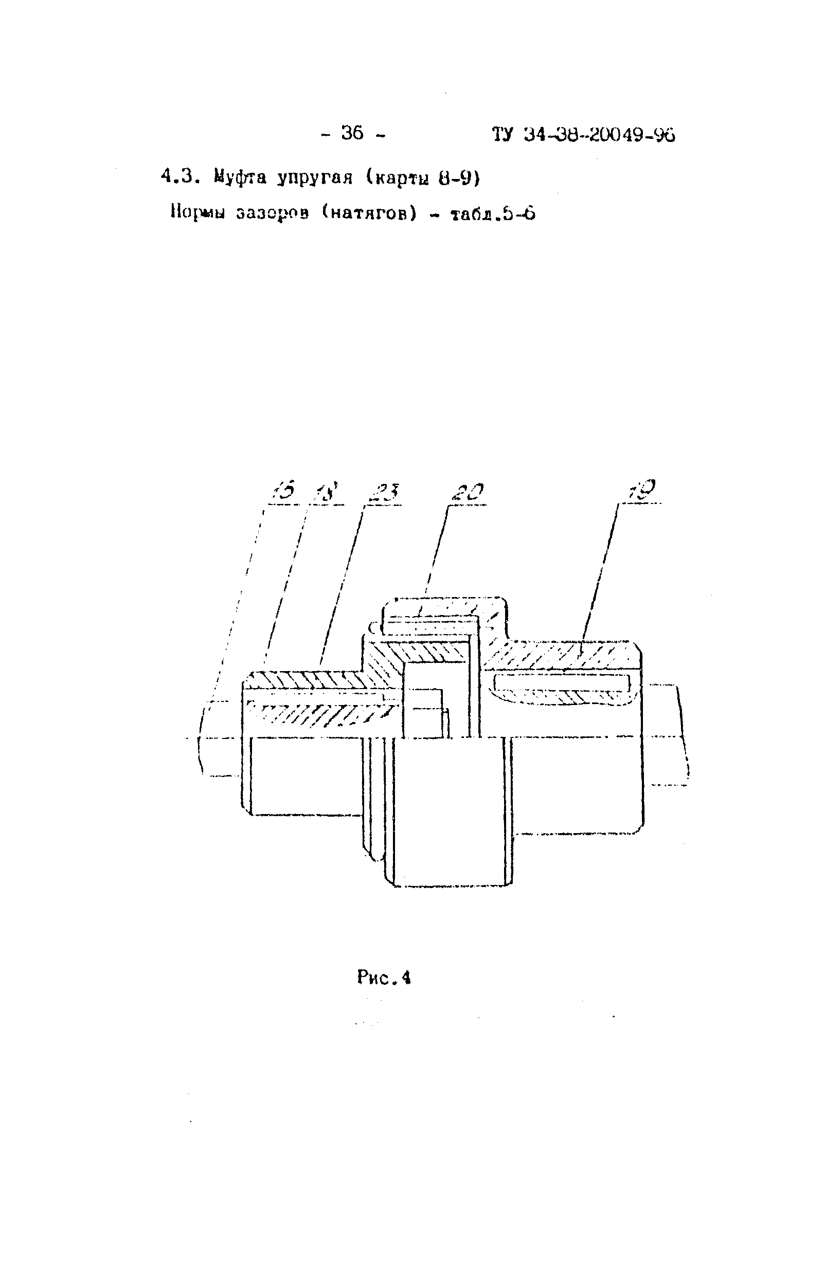
Насосы 4К-6, 4К-12. Технические условия на ремонтОбозначение: | ТУ 34-38-20049-96 | Обозначение англ: | TU 34-38-20049-96 | Статус: | действует | Название рус.: | Насосы 4К-6, 4К-12. Технические условия на ремонт | Дата добавления в базу: | 01.09.2013 | Дата актуализации: | 05.05.2017 | Область применения: | Технические условия распространяются на ремонт насосов 4К-6 и 4К-12 в течении полного срока службы. | Оглавление: | 1. Введение 2. Характеристика насоса 3. Общие технические требования 4. Требования к составным частям 4.1. Корпус (карты 1-4) Корпус спиральный Патрубок всасывающий Кольцо защитное Кронштейн опорный 4.2. Ротор (карты 5-7) Колесо рабочее Втулка защитная Вал 4.3. Муфта упругая (карты 8-9) Полумуфта насоса Полумуфта ротора 5. Требования к сборке насосов 6. Требования к взаимному положению составных частей насосов 7. Требования к насосам после ремонта 8. Испытания, контроль, измерения 9. Консервация 10. Маркировка 11. Упаковка, транспортирование, хранение 12. Комплектность 13. Гарантии Приложение 1. Перечень деталей, подлежащих замене независимо от их технического состояния Приложение 2. Перечень нормативно-технических документов, упомянутых в ТУ Лист регистрации изменений | Разработан: | ЦКБ Энергоремонт
| Утверждён: | РАО ЕЭС России (UES of Russia RAO )
| Принят: | Союзэнергоремтрест ОРГРЭС Катайский насосный завод
| Расположен в: |
| Заменяет собой: | |
                                               
|