| ||||||||||||||||||||||||||||
Скачать Рекомендации по усилению и ремонту строительных конструкций инженерных сооруженийДата актуализации: 10.08.2017 |
| Статус: | действует |
| Название рус.: | Рекомендации по усилению и ремонту строительных конструкций инженерных сооружений |
| Дата добавления в базу: | 01.09.2013 |
| Дата актуализации: | 05.05.2017 |
| Дата введения: | 01.01.1997 |
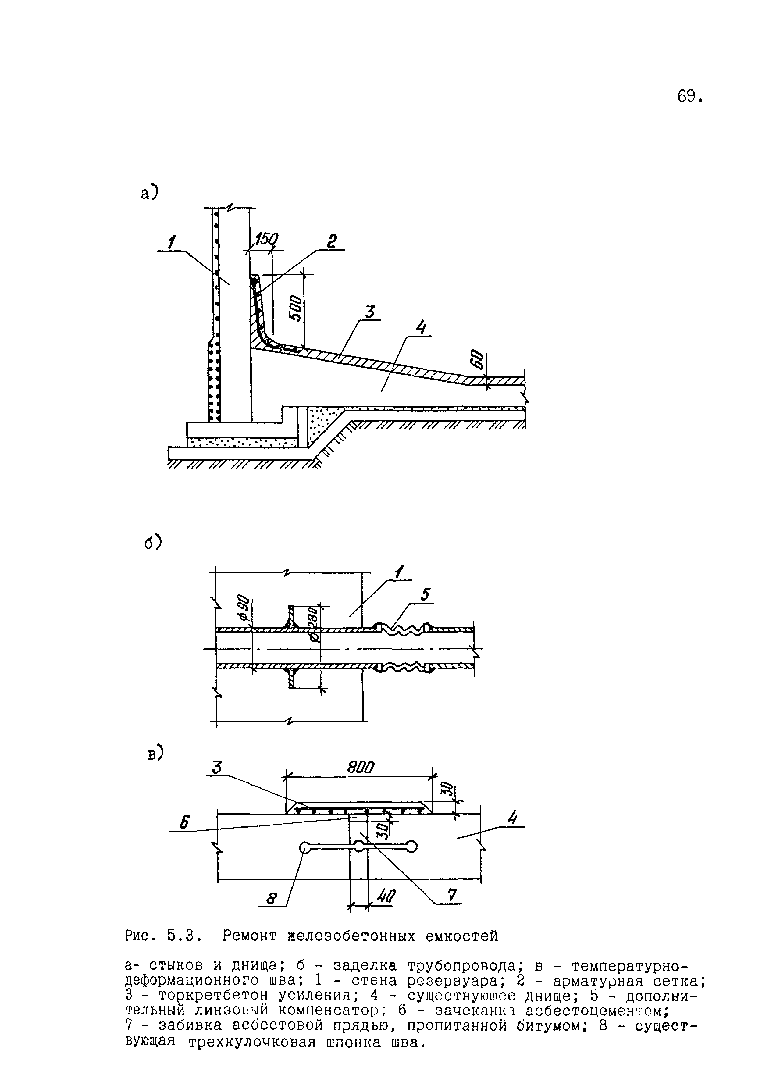
| Область применения: | Рекомендации содержат основные положения по обследованию и оценке несущей способности железобетонных и стальных конструкций сооружений. Приведена классификация характерных дефектов железобетонных и стальных конструкций по внешним признакам, которая позволяет установить определенный способ усиления конструкций. Рекомендации могут быть использованы при усилении поврежденных конструкций, а также конструкций, нагрузки на которые возросли при реконструкции. |
| Оглавление: | 1 Предисловие 2 Оценка технического состояния инженерных сооружений 3 Классификация дефектов железобетонных и стальных конструкций по внешним признакам 4 Общие методы усиления и ремонта отдельных строительных конструкций инженерных сооружений 5 Усиление и ремонт конструкций инженерных сооружений 6 Особенности расчета строительных конструкций при усилении 7 Общие рекомендации по ремонту и усилению конструкций инженерных сооружений 8 Примеры расчетов строительных конструкций при усилении 9 Использованная литература |
| Разработан: | ЦНИИпромзданий |
| Утверждён: | 01.01.1997 ЦНИИ промзданий (TsNII promzdaniy ) |
| Издан: | ЦНИИпромзданий (1997 г. ) |
| Расположен в: | |
| Нормативные ссылки: |
|



















































































































































































