Скачать ОСТ 1 10376-72 Тройники ввертные. Конструкция и размерыДата актуализации: 10.08.2017 ОСТ 1 10376-72
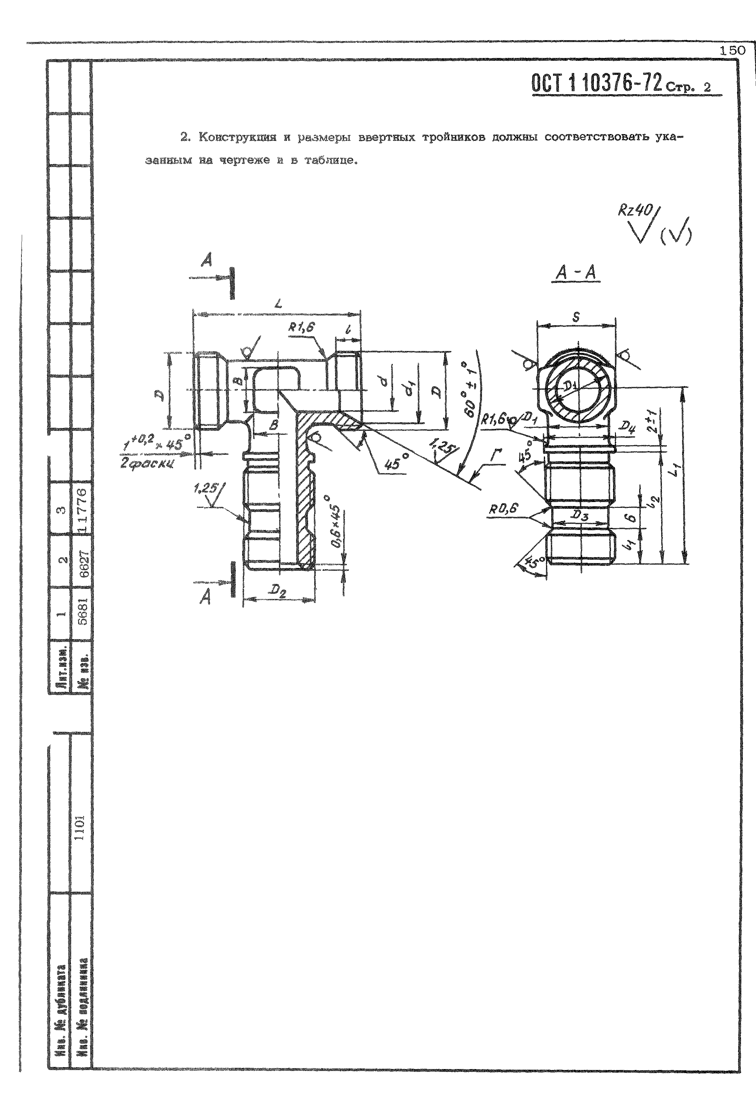
Тройники ввертные. Конструкция и размерыОбозначение: | ОСТ 1 10376-72 | Обозначение англ: | 10376-72 | Статус: | действует | Название рус.: | Тройники ввертные. Конструкция и размеры | Дата добавления в базу: | 01.09.2013 | Дата актуализации: | 05.05.2017 | Дата введения: | 01.01.1974 | Область применения: | Стандарт распространяется на ввертные тройники, предназначенные для соединений трубопроводов по внутреннему конусу. | Утверждён: | 22.12.1972 Министерство (Ministry 087-16)
| Расположен в: |
|
    
|