Информационная система
«Ёшкин Кот»

Скачать базу одним архивом
Скачать обновления
История создания базы
Карта сайта

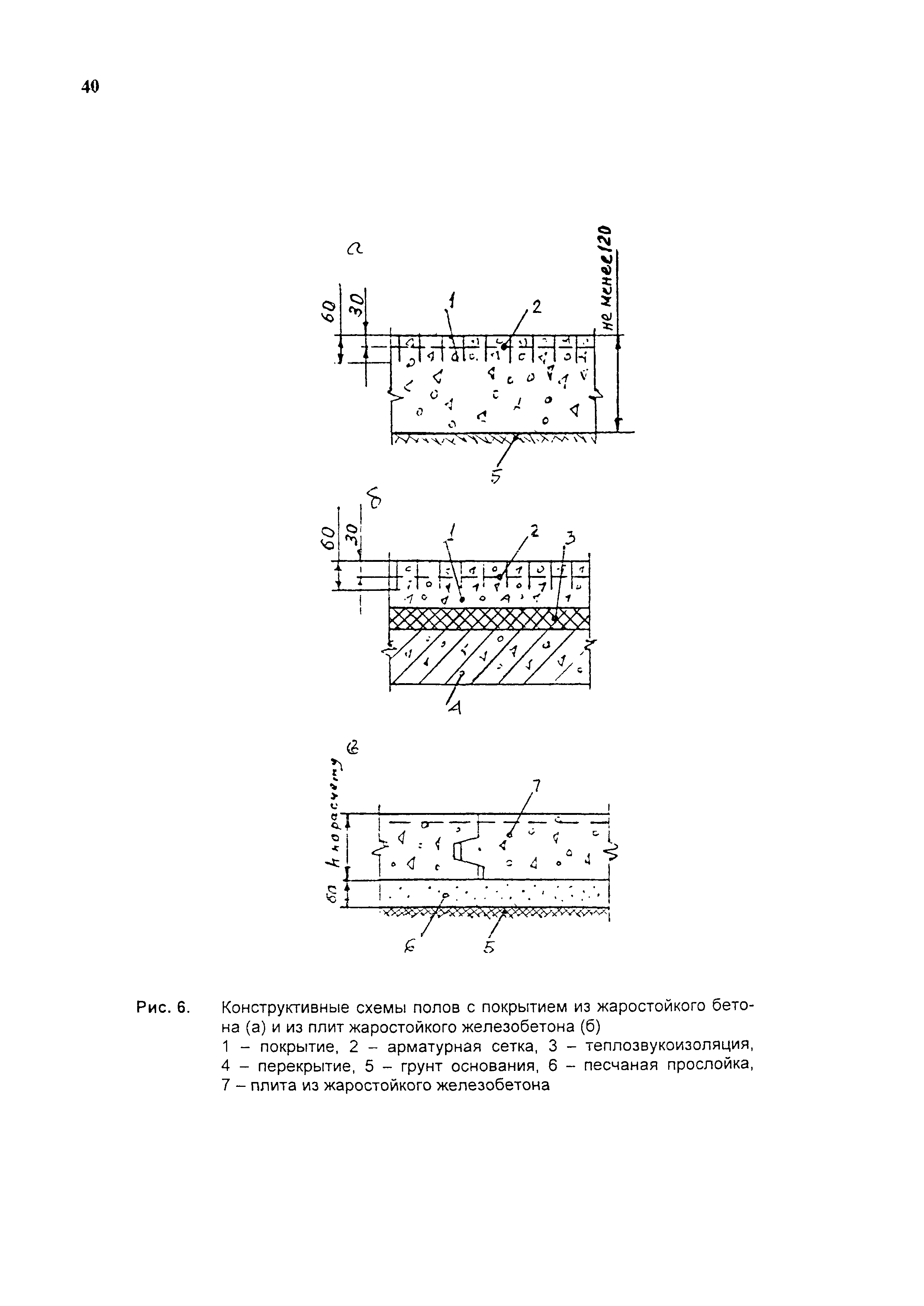
Скачать Руководство Полы (Руководство)

Дата актуализации: 10.08.2017

Руководство

Полы (Руководство)

Обозначение: Руководство
Обозначение англ: Guide
Статус:действует
Название рус.:Полы (Руководство)
Дата добавления в базу:01.09.2013
Дата актуализации:05.05.2017
Дата введения:25.05.2001
Область применения:Руководство распространяется на проектирование и устройство полов из различных материалов, применяемых в производственных, жилых, общественных, административных и бытовых зданиях.
Оглавление:Раздел I Технические требования, предъявляемые к полам
   1 Область применения
   2 Нормативные ссылки
   3 Основные термины и определения
   4 Основные положения
   5 Грунт основания под полы
   6 Подстилающий слой
   7 Гидроизоляция
   8 Тепло-звукоизоляционный слой
   9 Прослойка
   10 Стяжка
   11 Покрытия полов
Раздел II Проектирование, устройство и правила приёмки полов
   1 Общие положения
   2 Грунт основания
   3 Подстилающий слой
   4 Прослойки
   5 Стяжки
   6 Теплозвукоизоляционный слой
   7 Гидроизоляция
   8 Покрытия полов
   9 Основные правила техники безопасности
   10 Правила приемки полов
Приложение 1 (таблицы 1, 2, 3)
Приложение 2 Физико-технические свойства битумно-полимерных наплавляемых рулонных материалов (таблицы 1, 2, 3)
Приложение 3 Перечень стандартов и ТУ на материалы, применяемые при устройстве полов
Разработан: ОАО ЦНИИпромзданий
Утверждён:25.05.2001 ОАО ЦНИИпромзданий (TsNIIpromzdaniy OAO К-24)
Издан: ОАО ЦНИИпромзданий (2001 г. )
Расположен в:Техническая документация Экология СТРОИТЕЛЬНЫЕ МАТЕРИАЛЫ И СТРОИТЕЛЬСТВО Строительство Строительство в целом Строительство Справочные документы Директивные письма, положения, рекомендации и др.
Нормативные ссылки:
Руководство Руководство Руководство Руководство Руководство Руководство Руководство Руководство Руководство Руководство Руководство Руководство Руководство Руководство Руководство Руководство Руководство Руководство Руководство Руководство Руководство Руководство Руководство Руководство Руководство Руководство Руководство Руководство Руководство Руководство Руководство Руководство Руководство Руководство Руководство Руководство Руководство Руководство Руководство Руководство Руководство Руководство Руководство Руководство Руководство Руководство Руководство Руководство Руководство Руководство Руководство Руководство Руководство Руководство Руководство Руководство Руководство Руководство Руководство Руководство Руководство Руководство Руководство Руководство Руководство Руководство Руководство Руководство Руководство Руководство Руководство Руководство Руководство Руководство Руководство Руководство Руководство Руководство Руководство Руководство Руководство Руководство Руководство Руководство Руководство Руководство Руководство Руководство Руководство Руководство Руководство Руководство Руководство Руководство Руководство Руководство Руководство Руководство Руководство Руководство Руководство Руководство Руководство Руководство Руководство Руководство Руководство Руководство Руководство Руководство Руководство Руководство Руководство Руководство Руководство Руководство Руководство Руководство Руководство Руководство Руководство Руководство

© 2013 Ёшкин Кот :-) Карта сайта