Информационная система
«Ёшкин Кот»

Скачать базу одним архивом
Скачать обновления
История создания базы
Карта сайта

Скачать Технологическая карта Технологическая карта на устройство гидроизоляции железобетонной поверхности подземной части насосной станции с применением кремнийорганических и органических полимеров

Дата актуализации: 10.08.2017

Технологическая карта

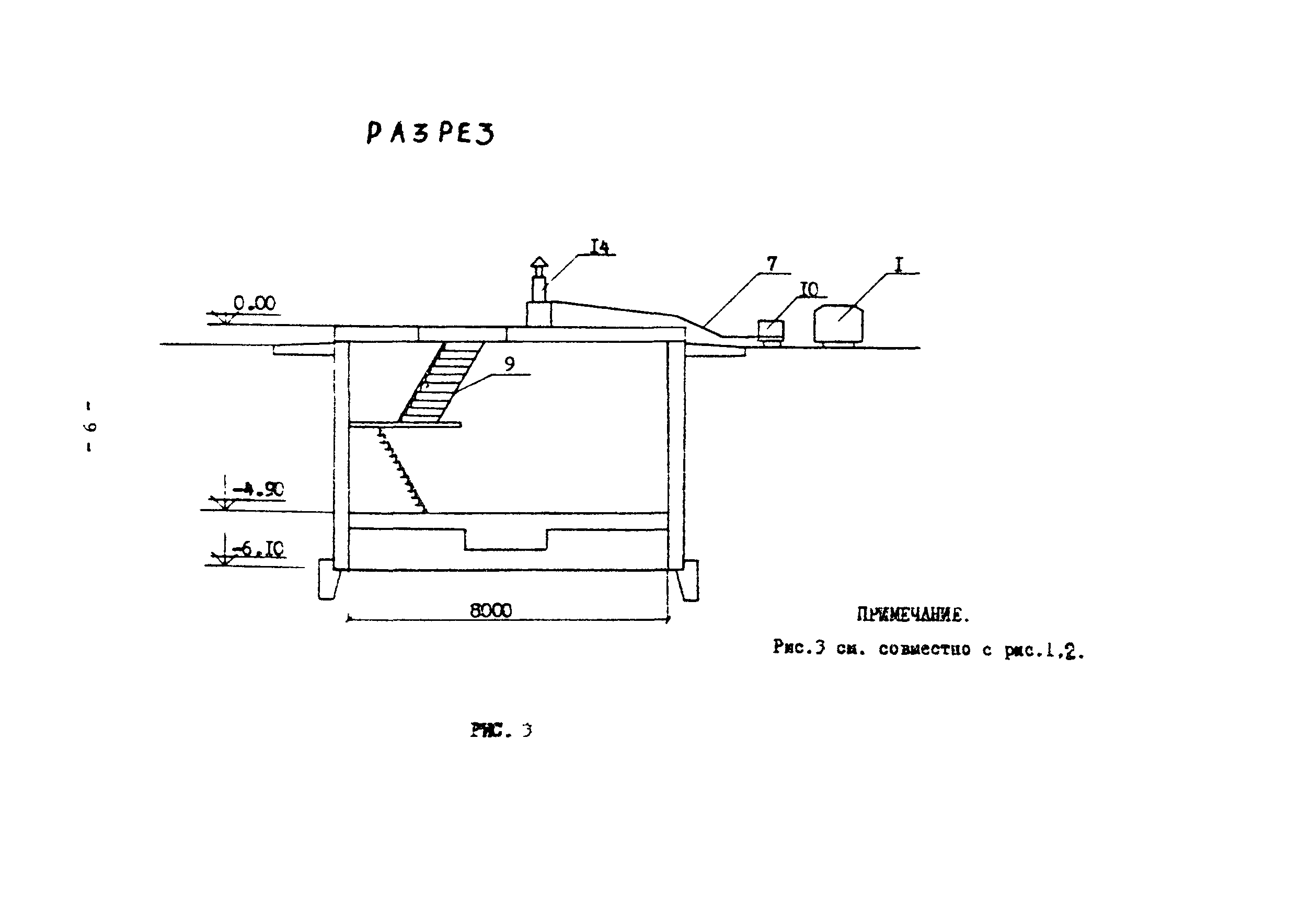
Технологическая карта на устройство гидроизоляции железобетонной поверхности подземной части насосной станции с применением кремнийорганических и органических полимеров

Обозначение: Технологическая карта
Статус:не установлен срок действия
Название рус.:Технологическая карта на устройство гидроизоляции железобетонной поверхности подземной части насосной станции с применением кремнийорганических и органических полимеров
Дата добавления в базу:01.09.2013
Дата актуализации:05.05.2017
Дата введения:07.04.1981
Оглавление:1 Область применения
2 Организация и технология строительного процесса
3 Технико-экономические показатели
4 Материально-технические ресурсы
Разработан: СКТБ строительной техники связи
Утверждён:07.04.1981 Трест Радиострой
Расположен в:Техническая документация Экология СТРОИТЕЛЬНЫЕ МАТЕРИАЛЫ И СТРОИТЕЛЬСТВО Технология строительства Организация и порядок производства работ. Управление качеством и обеспечение качества Строительство Справочные документы Технологические карты Защита строительных конструкций, оборудования от коррозии
Технологическая карта Технологическая карта Технологическая карта Технологическая карта Технологическая карта Технологическая карта Технологическая карта Технологическая карта Технологическая карта Технологическая карта Технологическая карта Технологическая карта Технологическая карта Технологическая карта Технологическая карта Технологическая карта Технологическая карта Технологическая карта Технологическая карта Технологическая карта Технологическая карта Технологическая карта Технологическая карта

© 2013 Ёшкин Кот :-) Карта сайта