| ||||||||||||||||||||||||||||||
Скачать ОСТ 108.318.20-82 Переходы для паропроводов ТЭС. Конструкция и размерыДата актуализации: 10.08.2017
|
| Обозначение: | ОСТ 108.318.20-82 |
| Обозначение англ: | OST 108.318.20-82 |
| Статус: | не определен законодательством |
| Название рус.: | Переходы для паропроводов ТЭС. Конструкция и размеры |
| Дата добавления в базу: | 01.09.2013 |
| Дата актуализации: | 05.05.2017 |
| Дата введения: | 01.01.1985 |
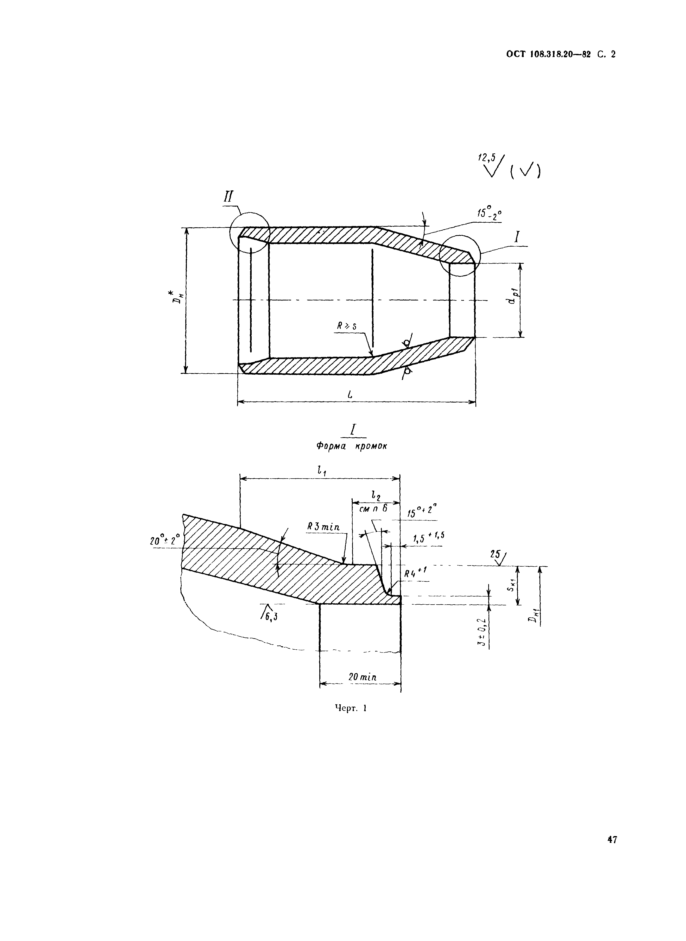
| Область применения: | Стандарт распространяется на обжатые переходы, изготовляемые из труб по ТУ 14-3-460, для паропроводов тепловых электростанций. Переходы предназначены для соединения между собой паропроводов с различными параметрами среды. Стандарт устанавливает конструкцию и основные размеры обжатых переходов для паропроводов с абсолютным давлением и температурой пара: p=13,73 МПа (140 кгс/кв. см), t= 560° C; p=13,73 МПа (140 кгс/кв. см), t= 545° C; p=4,02 МПа (41 кгс/кв. см), t= 545° C. |
| Утверждён: | 04.06.1982 Министерство энергетического машиностроения (Ministry of Energy Machinery Manufacturing ВВ-002/4628) |
| Принят: | Министерство энергетики и электрификации СССР (USSR Ministry of Energy and Electrical Power ) |
| Издан: | НПО ЦКТИ (1993 г. ) |
| Расположен в: | |
| Список изменений: |










Текстовое изменение № от 15.02.1994


