| ||||||||||||||||||||||||||||||||
Скачать ГКИНП 04-252-01 Инструкция по развитию высокоточной государственной гравиметрической сети России. Требования к высокоточным сетям. Абсолютные измерения ускорения силы тяжести баллистическими гравиметрамиДата актуализации: 10.08.2017
|
| Обозначение: | ГКИНП 04-252-01 |
| Обозначение англ: | GKINP 04-252-01 |
| Статус: | действует |
| Название рус.: | Инструкция по развитию высокоточной государственной гравиметрической сети России. Требования к высокоточным сетям. Абсолютные измерения ускорения силы тяжести баллистическими гравиметрами |
| Дата добавления в базу: | 01.09.2013 |
| Дата актуализации: | 05.05.2017 |
| Дата введения: | 01.03.2001 |
| Область применения: | В инструкции в целях обеспечения единства гравиметрических работ на всей территории страны изложены современные нормативные требования к построению высокоточной государственной гравиметрической сети России, включая измерения на пунктах Фундаментальной астрономо-геодезической сети, к применяемой аппаратуре для абсолютного определения ускорения силы тяжести, ее исследованию, методике измерений, обработке и оценке точности результатов измерений. |
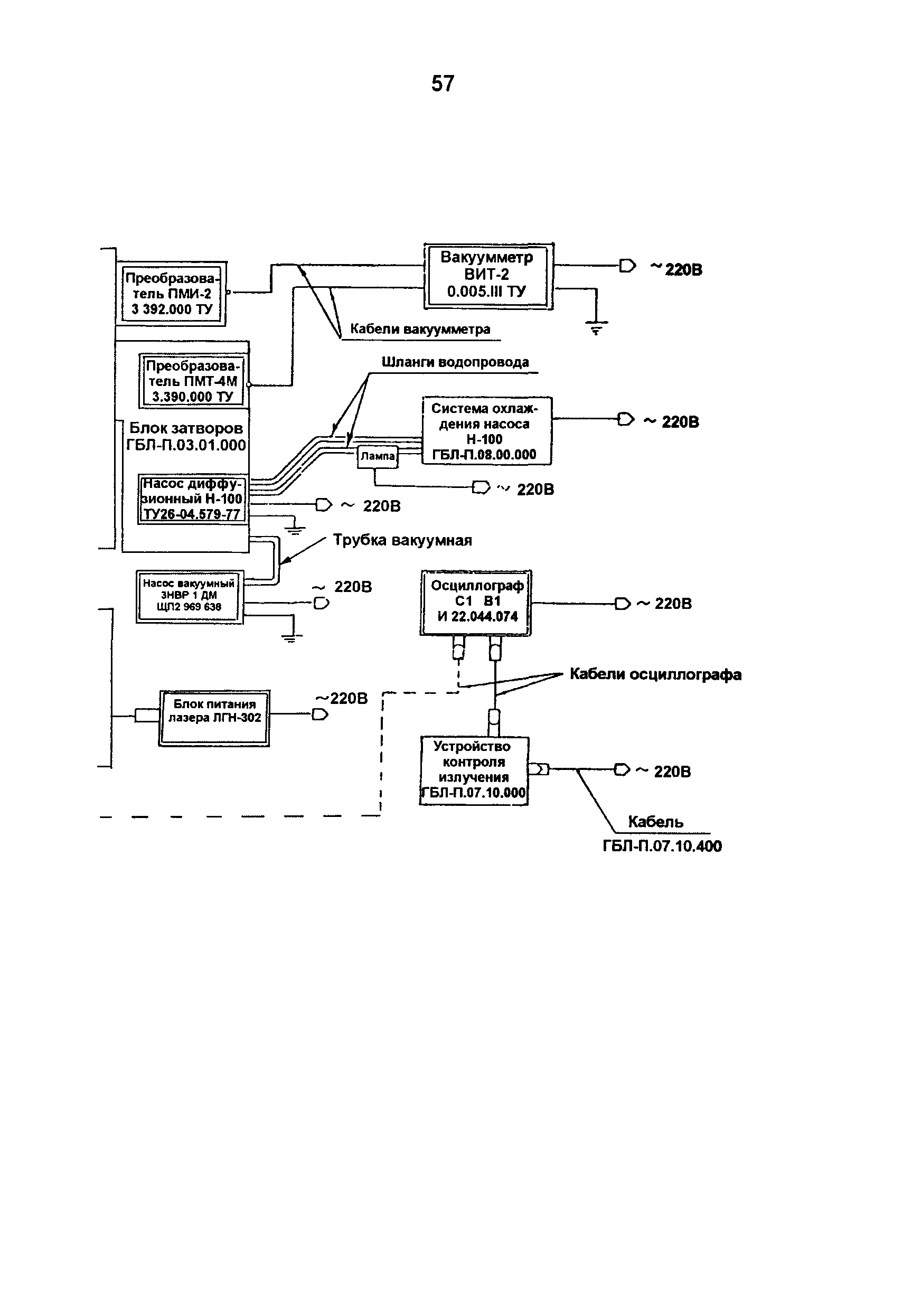
| Оглавление: | Введение 1 Общая часть 2 Основные технические требования ГФГС и ГГС 2.1 Государственная фундаментальная гравиметрическая сеть 2.2 Государственная гравиметрическая сеть I класса 3 Абсолютные измерения ускорения силы тяжести баллистическими гравиметрами 3.1 Краткие сведения о лазерном баллистическом гравиметре ГБЛ 3.2 Указания мер безопасности 3.3 Общие указания по работе с баллистическими гравиметрами 3.4 Вычисление ускорения силы тяжести 3.5 Установка аппаратуры и подготовка ее к измерениям 3.6 Порядок работы при измерении ускорения силы тяжести 3.7 Исследования ГБЛ. Методы и средства поверки Приложение 1 Схема соединений ГБЛ-П Приложение 2 Образец записи результатов измерений Приложение 3 Краткая методика определения градиентов ускорения силы тяжести с помощью статических гравиметров Приложение 4 Характеристики пиков излучения йодного лазера |
| Разработан: | ЦНИИГАиК |
| Утверждён: | 04.05.2001 Федеральная служба геодезии и картографии России (Russian Federation Federal Geodesy and Cartography Service 102-пр) |
| Издан: | ЦНИИГАиК (2001 г. ) |
| Расположен в: | |
| Нормативные ссылки: |

































































