Информационная система
«Ёшкин Кот»

Скачать базу одним архивом
Скачать обновления
История создания базы
Карта сайта

Скачать ГОСТ 17585-72 Приборы для деревянных окон и дверей, изготовляемых на автоматизированных линиях. Типы и основные размеры

Дата актуализации: 10.08.2017

ГОСТ 17585-72

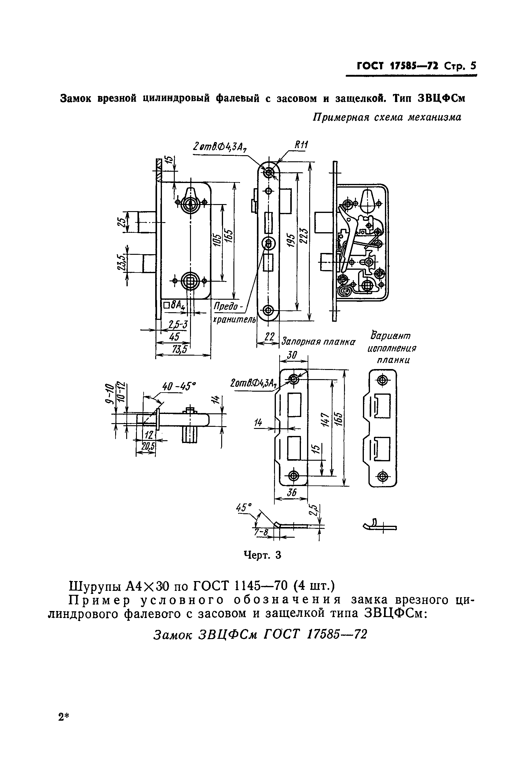
Приборы для деревянных окон и дверей, изготовляемых на автоматизированных линиях. Типы и основные размеры

Обозначение: ГОСТ 17585-72
Обозначение англ: GOST 17585-72
Статус:отменен
Название рус.:Приборы для деревянных окон и дверей, изготовляемых на автоматизированных линиях. Типы и основные размеры
Название англ.:Fittings for wooden windows and doors manufactured on automated lines. Types and principal dimensions
Дата добавления в базу:12.02.2016
Дата актуализации:05.05.2017
Дата введения:01.01.1988
Область применения:Стандарт распространяется на приборы (петли, замки, защелки, стяжки, стяжки-завертки и нагели) для деревянных окон и дверей, изготовляемых на автоматизированных линиях и применяемых в массовом строительстве жилых и общественных зданий.
Оглавление:1. Типы и основные размеры
2. Технические требования
3. Методы испытаний, маркировка, упаковка, транспортирование и хранение
Приложение (рекомендуемое) Примеры установок петель, стяжек-заверток и винтовых стяжек
Разработан: СПКТБ Главного управления санитарно-технической промышленности Министерства промышленности строительных материалов СССР
Утверждён:16.03.1972 Государственный комитет Совета Министров СССР по делам строительства (40)
Издан: Издательство стандартов (1972 г. )
Расположен в:Техническая документация
ГОСТ 17585-72ГОСТ 17585-72ГОСТ 17585-72ГОСТ 17585-72ГОСТ 17585-72ГОСТ 17585-72ГОСТ 17585-72ГОСТ 17585-72ГОСТ 17585-72ГОСТ 17585-72ГОСТ 17585-72ГОСТ 17585-72ГОСТ 17585-72ГОСТ 17585-72ГОСТ 17585-72ГОСТ 17585-72ГОСТ 17585-72ГОСТ 17585-72ГОСТ 17585-72ГОСТ 17585-72ГОСТ 17585-72ГОСТ 17585-72

© 2013 Ёшкин Кот :-) Карта сайта