Информационная система
«Ёшкин Кот»

Скачать базу одним архивом
Скачать обновления
История создания базы
Карта сайта

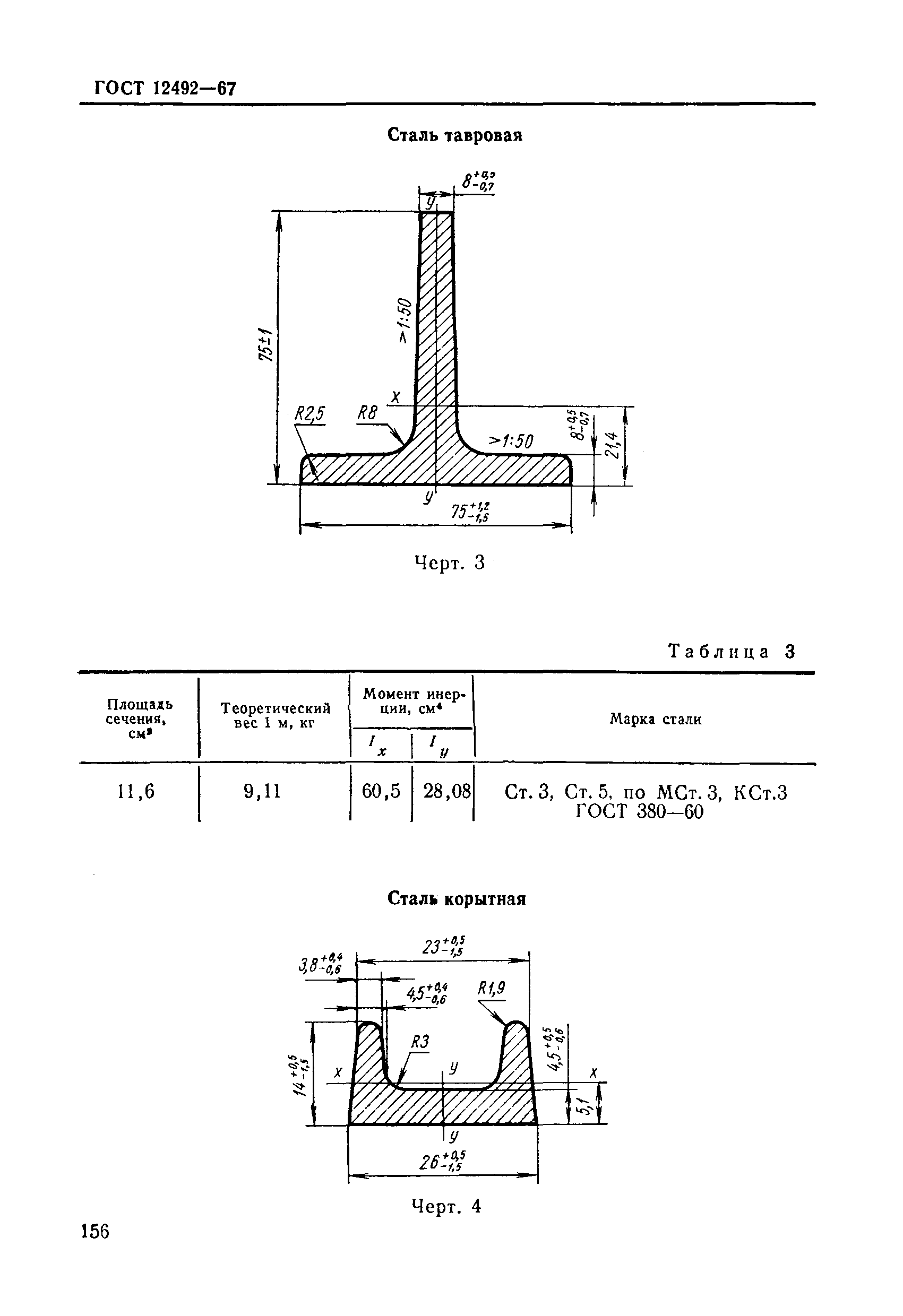
Скачать ГОСТ 12492-67 Сталь специальных профилей для сельскохозяйственных машин. Сортамент

Дата актуализации: 10.08.2017

ГОСТ 12492-67

Сталь специальных профилей для сельскохозяйственных машин. Сортамент

Обозначение: ГОСТ 12492-67
Обозначение англ: GOST 12492-67
Статус:заменен
Название рус.:Сталь специальных профилей для сельскохозяйственных машин. Сортамент
Название англ.:Steel special profiles for agricultural machinery. Assortment
Дата добавления в базу:01.10.2014
Дата актуализации:05.05.2017
Дата введения:01.01.1980
Область применения:Стандарт распространяется на сталь специальных профилей для сельскохозяйственных машин.
Утверждён:03.01.1967 Комитет стандартов, мер и измерительных приборов при Совете Министров СССР (Committee on Standards, Measures, and Measuring Instruments at the USSR Cabinet of Ministers )
Издан: Издательство стандартов (1969 г. )
Расположен в:Техническая документация
Заменяет собой:
  • ГОСТ 8531-57 «Сталь горячекатаная периодического профиля для лемехов» (В части сортамента. Сведения из перечня "Указатель государственных стандартов СССР 1970 г.", Издательство комитета стандартов 1970)
  • ГОСТ 3294-53 «Сталь специальных профилей для сельскохозяйственных машин. Сортамент» (Кроме квадратных, прямоугольных и треугольных трубСведения из перечня "Указатель государственных стандартов СССР 1970 г.", Издательство комитета стандартов 1970)
Чем заменён:
  • ГОСТ 8531-78 «Профили стальные горячекатаные для лемехов. Технические условия» (В части профилей для лемехов. Сведения из перечня "Указатель государственных стандартов СССР 1980 г.", Издательство стандартов 1980)
  • ГОСТ 12492.1-72 «Профили для сельскохозяйственных машин. Профиль двутавровый усиленный. Сортамент» (В части "Сталь двутавровая усиленная". Сведения из перечня "Указатель государственных стандартов СССР 1980 г.", Издательство стандартов 1980)
  • ГОСТ 12492.2-72 «Профили для сельскохозяйственных машин. Профиль двусторонне усиленный. Сортамент» (В части "Сталь двусторонне-усиленная". Сведения из перечня "Указатель государственных стандартов СССР 1980 г.", Издательство стандартов 1980)
  • ГОСТ 12492.3-72 «Профили для сельскохозяйственных машин. Профиль тавровый. Сортамент» (В части "Сталь тавровая". Сведения из перечня "Указатель государственных стандартов СССР 1980 г.", Издательство стандартов 1980)
  • ГОСТ 12492.10-72 «Профили для сельскохозяйственных машин. Профиль подбичниковый. Сортамент» (В части "Сталь подбичниковая". Сведения из перечня "Указатель государственных стандартов СССР 1980 г.", Издательство стандартов 1980)
  • ГОСТ 12492.0-72 «Профили для сельскохозяйственных машин. Технические требования» (Кроме профилей для лемехов. Сведения из перечня "Указатель государственных стандартов СССР 1980 г.", Издательство стандартов 1980)
  • ГОСТ 12492.4-72 «Профили для сельскохозяйственных машин. Профиль корытный. Сортамент» (В части "Сталь корытная". Сведения из перечня "Указатель государственных стандартов СССР 1980 г.", Издательство стандартов 1980)
  • ГОСТ 12492.5-72 «Профили для сельскохозяйственных машин. Профиль низкокорытный. Сортамент» (В части "Сталь низкокорытная со скошенными фланцами". Сведения из перечня "Указатель государственных стандартов СССР 1980 г.", Издательство стандартов 1980)
  • ГОСТ 12492.6-72 «Профили для сельскохозяйственных машин. Профиль полосовой с утолщением. Сортамент» (В части "Сталь полосовая с утолщением". Сведения из перечня "Указатель государственных стандартов СССР 1980 г.", Издательство стандартов 1980)
  • ГОСТ 12492.7-72 «Профили для сельскохозяйственных машин. Профиль одножелобчатый. Сортамент» (В части "Сталь одножелобчатая". Сведения из перечня "Указатель государственных стандартов СССР 1980 г.", Издательство стандартов 1980)
  • ГОСТ 12492.8-72 «Профили для сельскохозяйственных машин. Профиль для ободьев колес. Сортамент» (В части "Сталь для ободьев колес". Сведения из перечня "Указатель государственных стандартов СССР 1980 г.", Издательство стандартов 1980)
  • ГОСТ 12492.9-72 «Профили для сельскохозяйственных машин. Профиль бичевой ребристый. Сортамент» (В части "Сталь бичевая ребристая". Сведения из перечня "Указатель государственных стандартов СССР 1980 г.", Издательство стандартов 1980)
  • ГОСТ 12492.11-72 «Профили для сельскохозяйственных машин. Профиль полосовой с уклоном. Сортамент» (В части "Сталь полосовая с уклоном 45 градусов" и "Сталь полосовая с уклоном 13 и 45 градусов". Сведения из перечня "Указатель государственных стандартов СССР 1980 г.", Издательство стандартов 1980)
Нормативные ссылки:
ГОСТ 12492-67ГОСТ 12492-67ГОСТ 12492-67ГОСТ 12492-67ГОСТ 12492-67ГОСТ 12492-67ГОСТ 12492-67ГОСТ 12492-67ГОСТ 12492-67ГОСТ 12492-67ГОСТ 12492-67ГОСТ 12492-67ГОСТ 12492-67ГОСТ 12492-67ГОСТ 12492-67ГОСТ 12492-67ГОСТ 12492-67ГОСТ 12492-67ГОСТ 12492-67

© 2013 Ёшкин Кот :-) Карта сайта