Информационная система
«Ёшкин Кот»

Скачать базу одним архивом
Скачать обновления
История создания базы
Карта сайта

Скачать ГОСТ 4121-62 Рельсы крановые

Дата актуализации: 10.08.2017

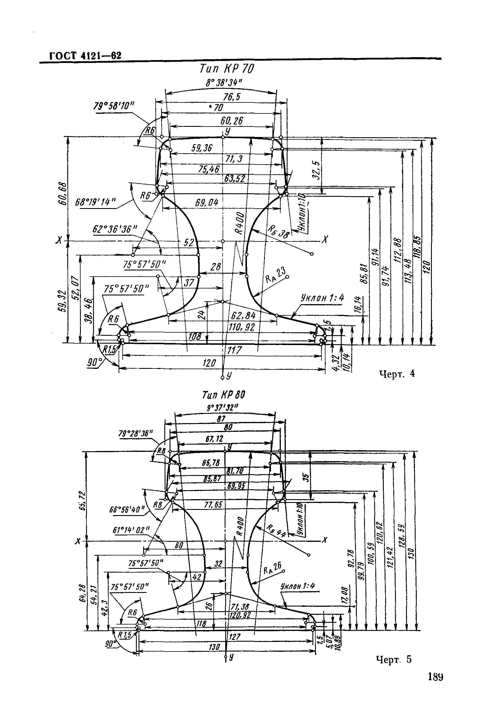
ГОСТ 4121-62

Рельсы крановые

Обозначение: ГОСТ 4121-62
Обозначение англ: GOST 4121-62
Статус:заменен
Название рус.:Рельсы крановые
Название англ.:Grane rails
Дата добавления в базу:01.10.2014
Дата актуализации:05.05.2017
Дата введения:01.01.1978
Область применения:Стандарт распространяется на крановые рельсы специальных профилей, применяемые для путей подкрановых и на кранах.
Оглавление:I Типы и размеры
II Технические требования
III Методы испытаний
IV Маркировка
Утверждён:28.04.1962 Комитет стандартов, мер и измерительных приборов при Совете Министров Союза ССР
Издан: Издательство стандартов (1969 г. )
Расположен в:Техническая документация
Заменяет собой:
  • ГОСТ 4121-52 «Рельсы крановые» (Сведения из перечня "Указатель государственных общесоюзных стандартов 1965 г.", Издательство стандартов 1965)
Чем заменён:
Нормативные ссылки:
ГОСТ 4121-62ГОСТ 4121-62ГОСТ 4121-62ГОСТ 4121-62ГОСТ 4121-62ГОСТ 4121-62ГОСТ 4121-62ГОСТ 4121-62ГОСТ 4121-62ГОСТ 4121-62ГОСТ 4121-62ГОСТ 4121-62

© 2013 Ёшкин Кот :-) Карта сайта