Информационная система
«Ёшкин Кот»

Скачать базу одним архивом
Скачать обновления
История создания базы
Карта сайта

Скачать ГОСТ 26340-84 Соединения трубопроводов резьбовые. Концы корпусных деталей, регулируемых по направлению, ввертные с уплотнением резиновыми кольцами круглого сечения. Конструкция и размеры

Дата актуализации: 10.08.2017

ГОСТ 26340-84

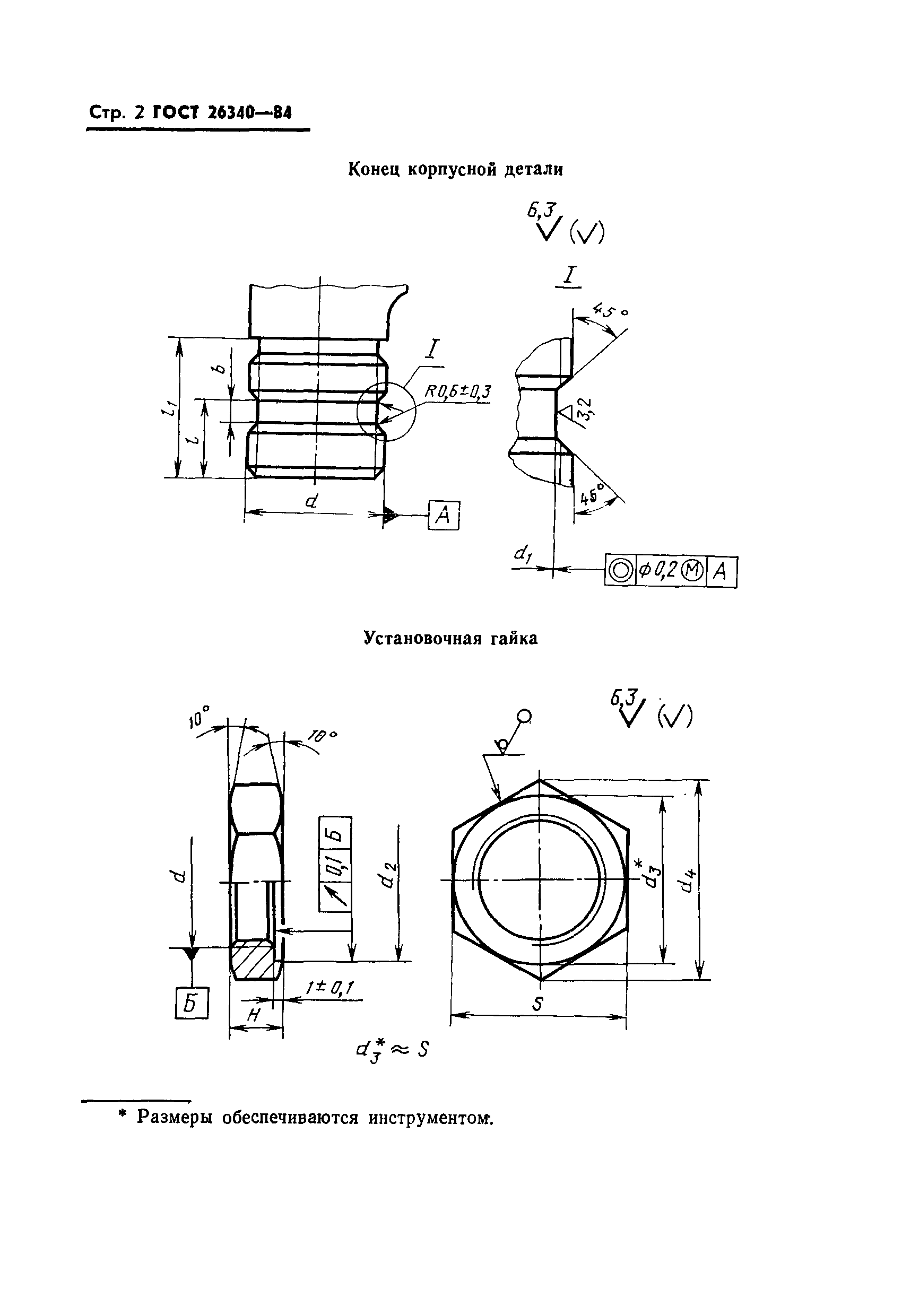
Соединения трубопроводов резьбовые. Концы корпусных деталей, регулируемых по направлению, ввертные с уплотнением резиновыми кольцами круглого сечения. Конструкция и размеры

Обозначение: ГОСТ 26340-84
Обозначение англ: GOST 26340-84
Статус:заменен
Название рус.:Соединения трубопроводов резьбовые. Концы корпусных деталей, регулируемых по направлению, ввертные с уплотнением резиновыми кольцами круглого сечения. Конструкция и размеры
Название англ.:Threaded pipe fittings. Screwed-in nipple ends with controlled direction with rubber O-rings. Design and dimensions
Дата добавления в базу:21.05.2015
Дата актуализации:05.05.2017
Дата введения:01.01.1991
Область применения:Стандарт распространяется на ввертные концы корпусных деталей с метрической резьбой для присоединения к гнездам по ГОСТ 25065-81 с уплотнением резиновыми кольцами круглого сечения по ГОСТ 18829-73, ГОСТ 9833-73, установочные гайки, защитные шайбы, применяемые для соединений трубопроводов, регулируемых по направлению, работающих при давлениях до 40 МПа (400 кгс/см2).
Оглавление:Приложение 1 (справочное) Пример конструкции уплотнительного устройства
Приложение 2 (рекомендуемое) Рекомендация по сборке и установке ввертных концов корпусных деталей, регулируемых по направлению
Утверждён:28.11.1984 Государственный комитет СССР по стандартам (USSR National Committee on Standards 4018)
Издан: Издательство стандартов (1986 г. )
Расположен в:Техническая документация
Чем заменён:
Нормативные ссылки:
ГОСТ 26340-84ГОСТ 26340-84ГОСТ 26340-84ГОСТ 26340-84ГОСТ 26340-84ГОСТ 26340-84ГОСТ 26340-84

© 2013 Ёшкин Кот :-) Карта сайта