Информационная система
«Ёшкин Кот»

Скачать базу одним архивом
Скачать обновления
История создания базы
Карта сайта

Скачать ТСН 41-307-2003 Проектирование и строительство тепловых сетей с индустриальной теплоизоляцией из пенополиуретана.

Дата актуализации: 10.08.2017

ТСН 41-307-2003

Проектирование и строительство тепловых сетей с индустриальной теплоизоляцией из пенополиуретана.

Обозначение: ТСН 41-307-2003
Обозначение англ: TSN 41-307-2003
Статус:действует
Название рус.:Проектирование и строительство тепловых сетей с индустриальной теплоизоляцией из пенополиуретана.
Название англ.:Design and Construction of Piped Heat Distribution Networks with Individual Foam Polyurethane Thermal Insulation - City of Moscow
Дата добавления в базу:01.09.2013
Дата актуализации:05.05.2017
Дата введения:15.03.2004
Область применения:Нормы распространяются на проектирование новых и реконструкцию существующих на территории г. Москвы тепловых сетей из стальных труб с постоянно действующей максимальной температурой теплоносителя 130 °С и рабочим давлением не более 1,6 МПа. Допускается кратковременное воздействие температуры до 150 °С. Нормы обязательны для применения юридическими лицами независимо от организационно-правовой формы и формы собственности, а также иностранными юридическими и физическими лицами, осуществляющими деятельность в области проектирования и строительства на территории г. Москвы, если иное не предусмотрено федеральным законом. Нормы не распространяются на прокладку теплопроводов и паропроводов, проходящих транзитом через здания.
Оглавление:Предисловие
1 Область применения
2 Нормативные ссылки
3 Общие положения
4 Проектирование тепловых сетей
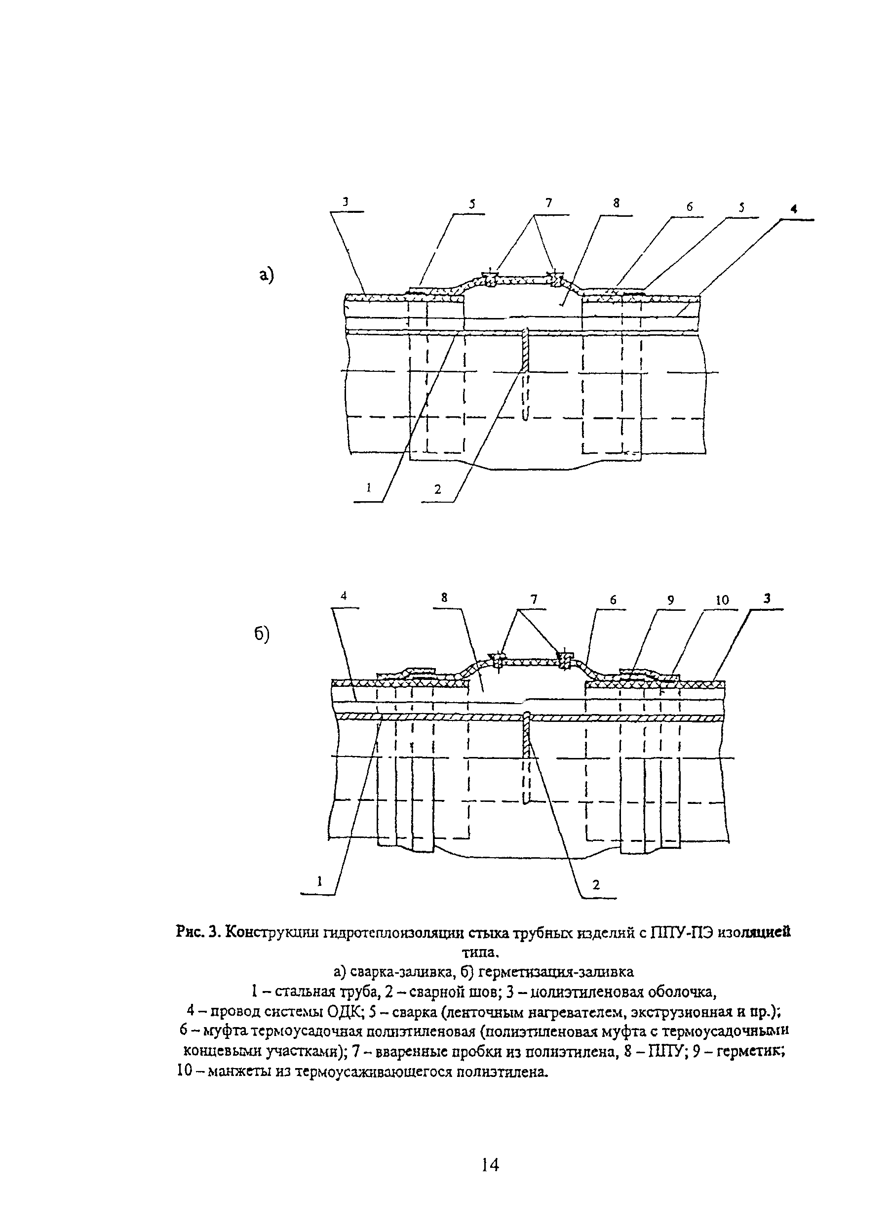
   4.1 Бесканальная прокладка из труб с ППУ-ПЭ изоляцией
   4.2 Подземная, надземная прокладка из труб с ППУ-ОЦМ изоляцией
5 Транспортирование и хранение изолированных труб, фасонных изделий и деталей
6 Строительство тепловых сетей
   6.1 Общая часть
   6.2 Бесканальная прокладка из труб с ППУ-ПЭ изоляцией
   6.3 Подземная, надземная и наземная прокладка из труб с ППУ-ОЦМ изоляцией
7 Испытания теплопроводов
   7.1 Общие положения
   7.2 Проверка чистоты трубопроводной системы
   7.3 Гидравлические испытания
8 Приемка в эксплуатацию
9 Требования безопасности
10 Охрана окружающей среды
Приложение А Акт приемки системы оперативного дистанционного контроля (СОДК) увлажнения ППУ изоляции трубопровода
Разработан: Мосинжпроект
ГУП НИИМосстрой
Утверждён:17.02.2004 Правительство Москвы (Government of the City of Moscow 91-ПП)
Принят: Минприроды России (Russian Federation Minprirody )
Центр Госсанэпиднадзора г. Москвы (Gossanepidemnadzor Center, City of Moscow )
Мосгорэкспертиза (Mosgorekspertiza )
Департамент природопользования и охраны окружающей среды Правительства Москвы (Department of Natural Resources Use and Environmental Protection, Government of Moscow )
УГПС г. Москвы МЧС России (City of Moscow UGPS, Russian Federation MChS )
ФГУП Центр методологии нормирования и стандартизации в строительстве Госстроя России (Center for Methodology in Specification and Standarization in Construction FGUP, Russian Federation Gosstroy )
Департамент топливно-энергетического хозяйства г. Москвы
Департамент градостроительной политики, развития и реконструкции города
Управление научно-технической политики в строительной отрасли
Издан: ГУП НИАЦ (2004 г. )
Расположен в:Техническая документация Экология СТРОИТЕЛЬНЫЕ МАТЕРИАЛЫ И СТРОИТЕЛЬСТВО Строительные материалы Тепло- и звукоизоляционные материалы Строительство Нормативные документы Нормативные документы субъектов Российской Федерации Нормативные документы г. Москвы Документы Системы нормативных документов в строительстве Нормативные документы на инженерное оборудование зданий и сооружений и внешние сети к.41 Теплоснабжение, отопление, вентиляция и кондиционирование воздуха
Нормативные ссылки:
ТСН 41-307-2003ТСН 41-307-2003ТСН 41-307-2003ТСН 41-307-2003ТСН 41-307-2003ТСН 41-307-2003ТСН 41-307-2003ТСН 41-307-2003ТСН 41-307-2003ТСН 41-307-2003ТСН 41-307-2003ТСН 41-307-2003ТСН 41-307-2003ТСН 41-307-2003ТСН 41-307-2003ТСН 41-307-2003ТСН 41-307-2003ТСН 41-307-2003ТСН 41-307-2003ТСН 41-307-2003ТСН 41-307-2003ТСН 41-307-2003ТСН 41-307-2003ТСН 41-307-2003ТСН 41-307-2003ТСН 41-307-2003ТСН 41-307-2003ТСН 41-307-2003ТСН 41-307-2003ТСН 41-307-2003ТСН 41-307-2003ТСН 41-307-2003ТСН 41-307-2003ТСН 41-307-2003ТСН 41-307-2003ТСН 41-307-2003ТСН 41-307-2003ТСН 41-307-2003

© 2013 Ёшкин Кот :-) Карта сайта