| ||||||||||||||||||||||||||||||||||||
Скачать ГОСТ 31251-2003 Конструкции строительные. Методы определения пожарной опасности. Стены наружные с внешней стороныДата актуализации: 10.08.2017
|
| Обозначение: | ГОСТ 31251-2003 |
| Обозначение англ: | GOST 31251-2003 |
| Статус: | заменен |
| Название рус.: | Конструкции строительные. Методы определения пожарной опасности. Стены наружные с внешней стороны |
| Название англ.: | Building structures. Fire hazard determination methods. Fasades of buildings |
| Дата добавления в базу: | 01.09.2013 |
| Дата актуализации: | 05.05.2017 |
| Дата введения: | 01.03.2010 |
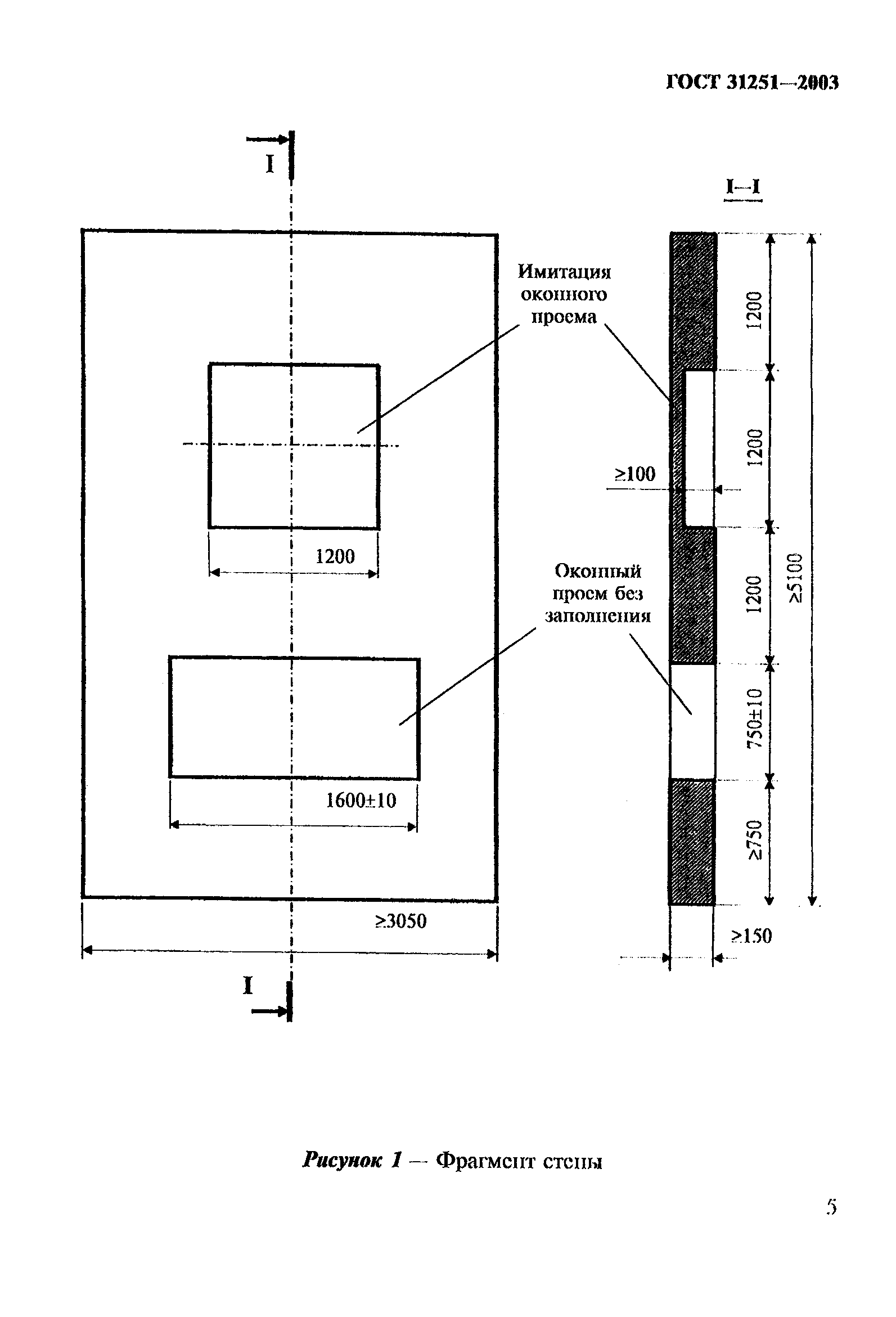
| Область применения: | Стандарт устанавливает классификацию по пожарной опасности: - наружных стен зданий с внешней стороны, в том числе при наличии систем внешней теплоизоляции или отделки (шпатлевки и окраски горючими материалами общей толщиной более 0,5 мм; оклейки и облицовки); - систем внешней теплоизоляции наружных стен зданий; - отделки наружных стен с внешней стороны, а также устанавливает методы определения класса их пожарной опасности. Требования стандарта не распространяются на оценку пожарно-технических характеристик заполнения проемов в наружных стенах. |
| Оглавление: | 1 Область применения 2 Нормативные ссылки 3 Определения 4 Основные положения 5 Оборудование для испытаний 6 Образцы для испытаний 7 Калибровка установки 8 Подготовка испытаний 9 Проведение испытаний 10 Оценка результатов испытания 11 Протокол испытаний Приложение А Метод идентификационного контроля материалов |
| Разработан: | ГУП ЦНИИСК им. В.А. Кучеренко ФГУ ВНИИПО МЧС России ООО ЦПИСИЭС ЦНИИСК |
| Утверждён: | 23.10.2003 МНТКС (MNTKS ) 21.06.2003 Госстрой России (Russian Federation Gosstroy 95) |
| Издан: | ФГУП ЦПП (2004 г. ) |
| Расположен в: | |
| Чем заменён: | |
| Нормативные ссылки: |
|

































