| ||||||||||||||||||||||||||||||||
Скачать ИСО 8033-85 Рукава из резины и пластины. Метод определения адгезии между элементамиДата актуализации: 10.08.2017
|
| Обозначение: | ИСО 8033-85 |
| Обозначение англ: | ISO 8033-85 |
| Статус: | действует |
| Название рус.: | Рукава из резины и пластины. Метод определения адгезии между элементами |
| Название англ.: | Rubber and plastics hose. Determination of adhesion between components |
| Дата добавления в базу: | 01.09.2013 |
| Дата актуализации: | 05.05.2017 |
| Дата введения: | 01.01.1987 |
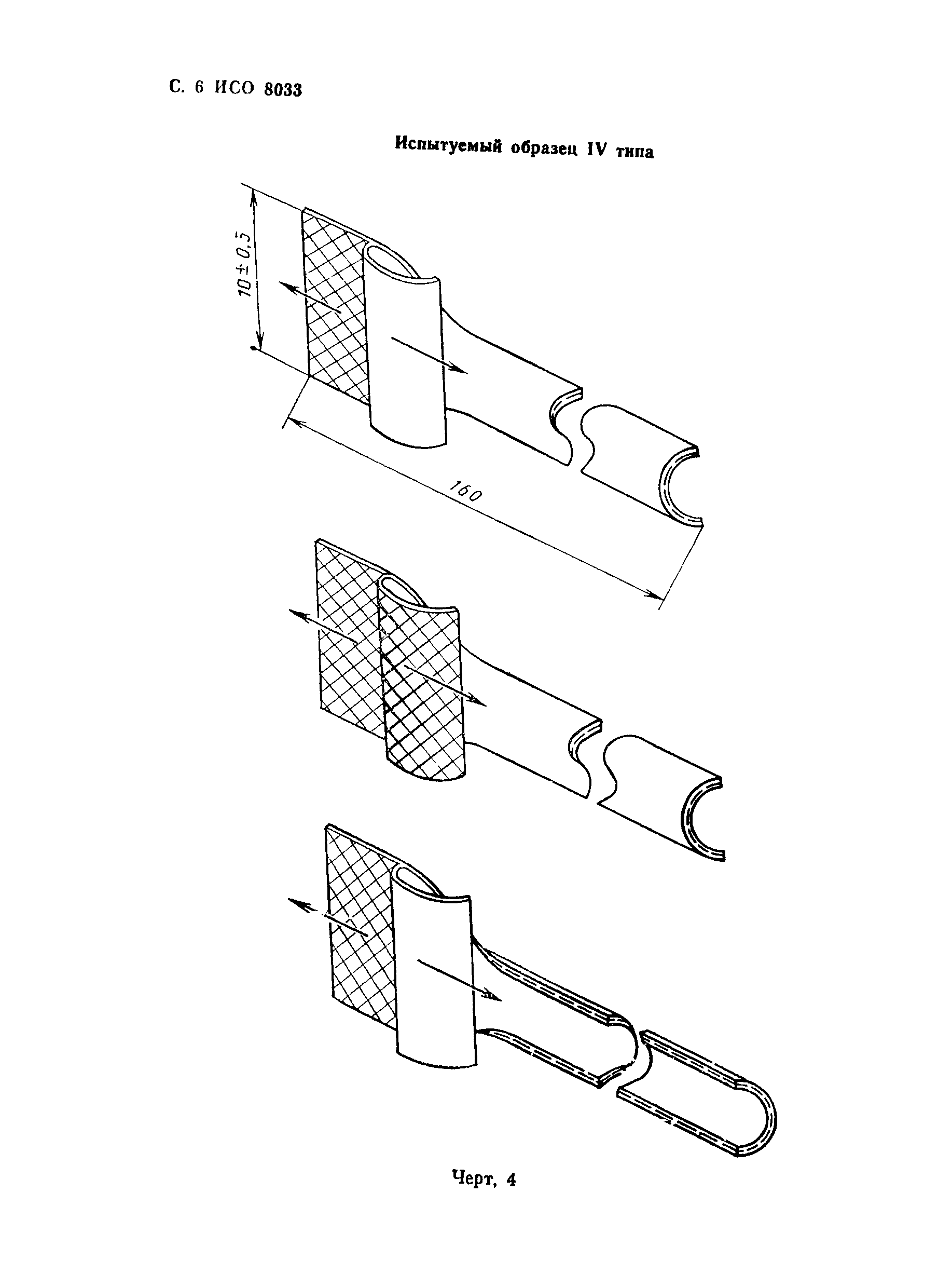
| Область применения: | Стандарт устанавливает методы определения адгезии между внутренним слоем и усилением, между наружным слоем и усилением и между усиливающим слоями. |
| Оглавление: | Введение 1 Назначение и область применения 2 Ссылки 3 Сущность метода 4 Прибор 5 Испытуемые образцы 6 Методика 7 Обработка результатов 8 Протокол испытания |
| Разработан: | ИСО/ТК 45 Резина и резиновые изделия |
| Утверждён: | Госстандарт СССР (USSR Gosstandart ) |
| Издан: | Издательство стандартов (1988 г. ) |
| Расположен в: |











