| ||||||||||||||||||||||||||||||||||||
Скачать ПБ 03-605-03 Правила устройства вертикальных цилиндрических стальных резервуаров для нефти и нефтепродуктовДата актуализации: 10.08.2017
|
| Обозначение: | ПБ 03-605-03 |
| Обозначение англ: | PB 03-605-03 |
| Статус: | не действует |
| Название рус.: | Правила устройства вертикальных цилиндрических стальных резервуаров для нефти и нефтепродуктов |
| Название англ.: | Installation Standards for Upright Cylindrical Steel Tanks for Petroleum and Petroleum Products |
| Дата добавления в базу: | 01.09.2013 |
| Дата актуализации: | 05.05.2017 |
| Дата введения: | 05.03.2013 |
| Область применения: | Правила распространяются на вновь проектируемые вертикальные цилиндрические стальные резервуары объемом от 100 до 50000 м3 для нефти и нефтепродуктов (далее резервуары) со стационарными или плавающими крышами. Проектирование, изготовление и монтаж резервуаров объемом более 50000 м3 выполняются по индивидуальным техническим условиям специализированными организациями, с учетом положений настоящих Правил. |
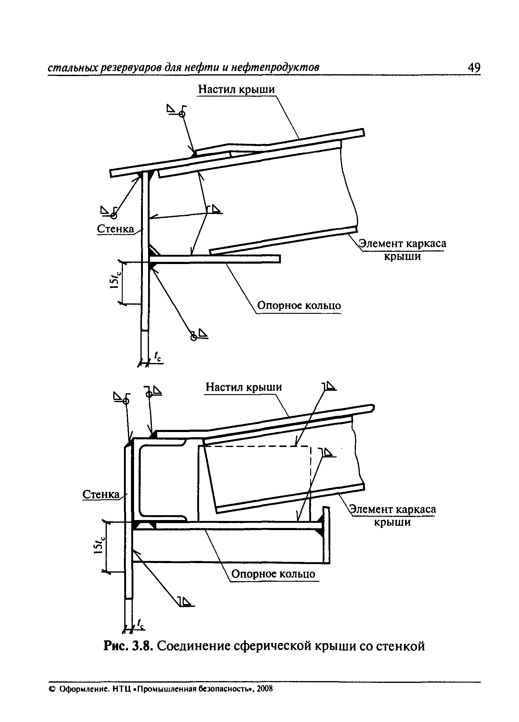
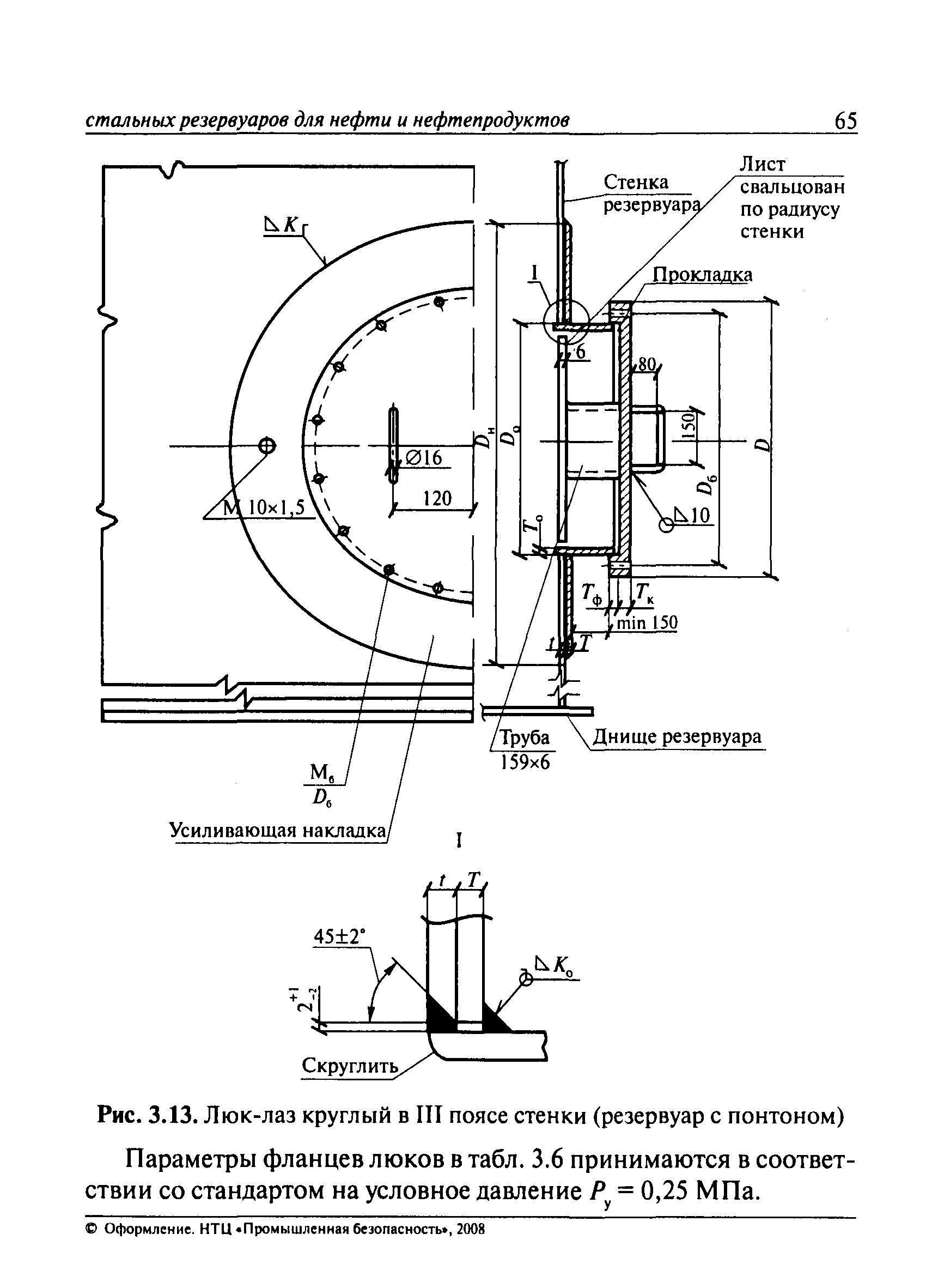
| Оглавление: | I Общие положения 1.1 Область применения и назначения Правил 1.2 Общие требования II Материалы 2.1 Общие требования к материалам 2.2 Химический состав и свариваемость 2.3 Сортамент листов 2.4 Расчетная температура металла 2.5 Рекомендуемые стали 2.6 Требования к ударной вязкости 2.7 Условия приемки 2.8 Дополнительные требования, указываемые в заказе листов 2.9 Фасонный прокат 2.10 Материал вспомогательных конструкций 2.11 Сварочные материалы 2.12 Материал болтов и гаек III Конструкция резервуаров 3.1 Сварные соединения и швы 3.2 Применяемые соединения 3.3 Исходные данные для проектирования 3.4 Конструкция днища 3.5 Конструкция стенки 3.6 Конструкция колец жесткости на стенке 3.7 Стационарные крыши 3.8 Плавающие крыши 3.9 Понтоны 3.10 Резервуары с защитной стенкой 3.11 Патрубки и люки-лазы в стенке 3.12 Патрубки и люки в крыше 3.13 Лестницы, площадки, переходы 3.14 Конструктивные элементы, присоединяемые к стенке резервуара 3.15 Анкерное крепление стенки IV Изготовление конструкций резервуаров 4.1 Общие требования 4.2 Приемка, хранение и подготовка металлопроката 4.3 Обработка металлопроката 4.4 Изготовление нерулонируемых конструкций 4.5 Изготовление рулонируемых полотнищ 4.6 Маркировка 4.7 Упаковка 4.8 Транспортирование и хранение конструкций резервуаров 4.9 Ответственность изготовителя V Монтаж металлоконструкций 5.1 Общие требования 5.2 Требования к монтажной площадке 5.3 Приемка основания и фундаментов 5.4 Приемка металлоконструкций резервуара (входной контроль) 5.5 Монтаж VI Сварка резервуаров 6.1 Общие требования 6.2 Рекомендуемые способы сварки 6.3 Требования к подготовке и сборке конструкций под сварку 6.4 Требования к технологии выполнения сварных соединений VII Контроль качества сварных соединений 7.1 Общие требования 7.2 Организация контроля 7.3 Визуальный контроль 7.4 Контроль герметичности 7.5 Физические методы контроля VIII Оборудование для безопасной эксплуатации резервуаров 8.1 Общие требования 8.2 Дыхательная аппаратура 8.3 Приборы контроля уровня 8.4 Устройства пожарной безопасности 8.5 Устройство молниезащиты IX Испытание и приемка резервуаров X Антикоррозионная защита XI Требования по устройству теплоизоляции Приложения |
| Разработан: | Госгортехнадзор России |
| Утверждён: | 09.06.2003 Госгортехнадзор России (Russian Federation Gosgortekhnadzor 76) |
| Издан: | ПИО ОБТ (2003 г. ) Российская газета (2003 г. (120/1)) НТЦ Промышленная безопасность (2008 г. ) Госгортехнадзор России (2003 г. ) |
| Расположен в: | |
| Заменяет собой: | |
| Нормативные ссылки: |
|












































































































































































