| ||||||||||||||||||||||||||||||||||
 Скачать РД 153-34.0-11.205-98 Методические указания. Измерительные каналы информационно-измерительных систем. Организация и порядок проведения калибровкиДата актуализации: 10.08.2017
 | 
| Обозначение: |     РД 153-34.0-11.205-98 | 
| Обозначение англ: |     RD 153-34.0-11.205-98 | 
| Статус: | действует | 
| Название рус.: | Методические указания. Измерительные каналы информационно-измерительных систем. Организация и порядок проведения калибровки | 
| Название англ.: | Procedural Guidelines - Measurement Channels of Measurement Systems - Organization and Procedure for Calibration | 
| Дата добавления в базу: | 01.09.2013 | 
| Дата актуализации: | 05.05.2017 | 
| Область применения: | Методические указания распространяются на измерительные каналы информационно-измерительных систем - ИК ИИС, устанавливают требования к методам и средствам калибровки; определяют организацию, порядок проведения и оформления результатов калибровки; регламентируют алгоритмы определения метрологических характеристик (MX) ИК при проведении калибровки и предназначены для метрологических служб энергопредприятий, аккредитованных на право проведения работ по калибровке ИК ИИС. | 
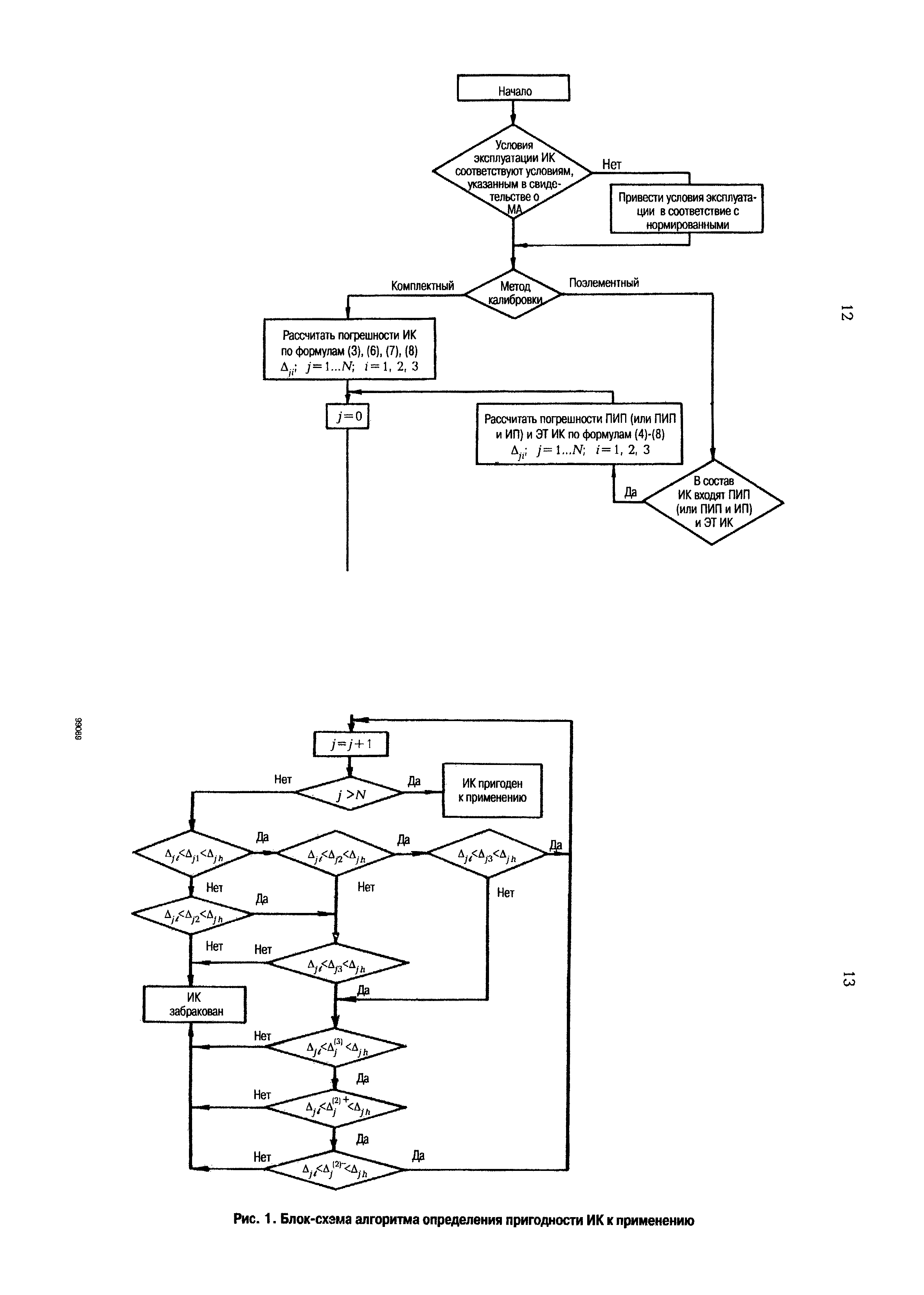
| Оглавление: | 1. Общие положения 2. Операции калибровки 3. Средства калибровки 4. Требования безопасности 5. Требования к условиям калибровки 6. Подготовка к калибровке 7. Проведение калибровки 7.1. Внешний осмотр 7.2. Проверка функционирования ИК (опробование) 7.3. Определение метрологических характеристик 7.4. Обработка результатов экспериментальных исследований 8. Оформление результатов калибровки Приложение 1. Обязательное. Перечень технической документации, предъявляемой при калибровке ИК Приложение 2. Рекомендуемое. Эталоны и вспомогательные СИ, используемые при проведении калибровки Приложение 3. Рекомендуемое. Пример градуировочной таблицы для измерительного канала температуры с использованием термоэлектрического преобразователя типа ТХА с диапазоном измерения от 0 до 150 °С Приложение 4. Справочное. Примеры структурных схем проведения эксперимента при калибровке ИК Приложение 5. Рекомендуемое. Протокол калибровки ИК комплектным методом Приложение 6. Рекомендуемое. Протокол калибровки ИК поэлементным методом Приложение 7. Рекомендуемое. Сертификат о калибровка ИК ИИС Приложение 8. Рекомендуемое. Свидетельство о поверке ИК ИИС Список использованной литературы  | 
| Разработан: |  АО Фирма ОРГРЭС | 
| Утверждён: | 10.06.1998 РАО ЕЭС России (UES of Russia RAO ) | 
| Издан: |  СПО ОРГРЭС (2000 г. ) | 
| Расположен в: | |
| Заменяет собой: | 
  | 
| Нормативные ссылки: | 
  | 
























