Информационная система
«Ёшкин Кот»

Скачать базу одним архивом
Скачать обновления
История создания базы
Карта сайта

Скачать РД 34.24.503-96 Типовая инструкция по эксплуатации индивидуальных систем пылеприготовления прямого вдувания со среднеходными мельницами типа МВС

Дата актуализации: 10.08.2017

РД 34.24.503-96

Типовая инструкция по эксплуатации индивидуальных систем пылеприготовления прямого вдувания со среднеходными мельницами типа МВС

Обозначение: РД 34.24.503-96
Обозначение англ: RD 34.24.503-96
Статус:действует
Название рус.:Типовая инструкция по эксплуатации индивидуальных систем пылеприготовления прямого вдувания со среднеходными мельницами типа МВС
Название англ.:Model Guidelines for Operation of Individual Direct-Injection Fuel Pulverizing Systems with Bowl Mills Type MVS
Дата добавления в базу:01.09.2013
Дата актуализации:05.05.2017
Дата введения:01.03.1998
Область применения:Инструкция устанавливает общий порядок и условия выполнения основных технологических операций при эксплуатации индивидуальных систем пылеприготовления прямого вдувания со среднеходными мельницами типа МВС производства Сызраньского завода тяжелого машиностроения, обеспечивающие их безаварийную работу.
Оглавление:1 Введение
2 Общие указания
3 Подготовка системы пылеприготовления к пуску
4 Включение системы пылеприготовления в работу
5 Управление системой пылеприготовления и контроль за режимом ее работы
6 Останов системы пылеприготовления
7 Характерные нарушения режима работы системы пылеприготовления и действия по их устранению
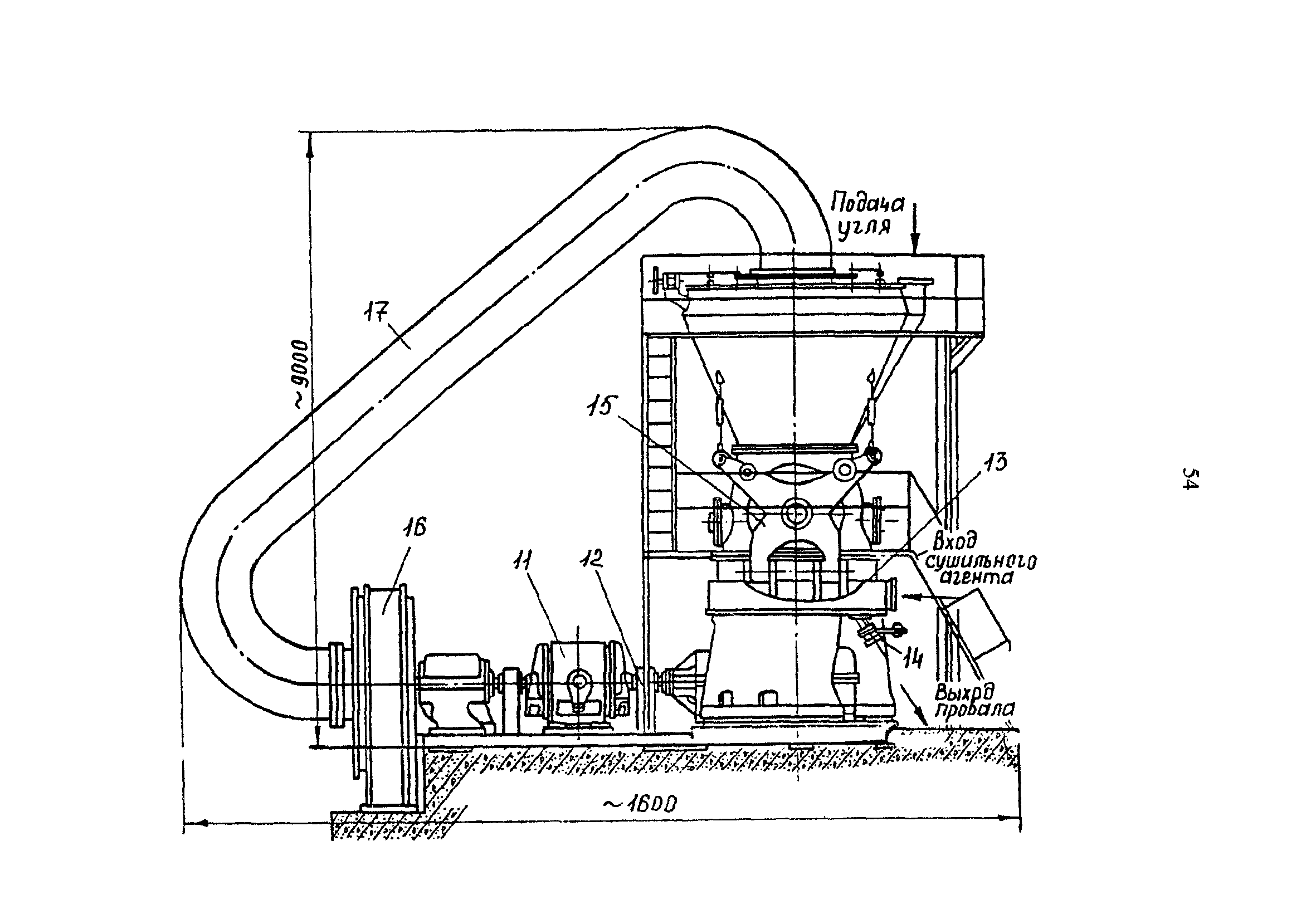
Приложение 1 Краткие конструктивные сведения по оборудованию систем пылеприготовления со среднеходными мельницами типа МВС
Приложение 2 Объем измерений в системах пылеприготовления с мельницами типа МВС
Приложение 3 Сигнализация, защиты и блокировки, автоматизация в системах пылеприготовления с мельницами типа МВС
Разработан: АО Фирма ОРГРЭС
Утверждён:02.10.1996 Департамент науки и техники РАО ЕЭС России (Department of Science and Technology, UES of Russia RAO )
Издан: СПО ОРГРЭС (1998 г. )
Расположен в:Техническая документация Экология ЭНЕРГЕТИКА И ТЕПЛОТЕХНИКА Горелки. Котлы Горелки на жидком и твердом топливе Мостостроение Оборудование пылеприготовления
Заменяет собой:
  • РД 34.24.503-93 «Типовая инструкция по эксплуатации индивидуальных систем пылеприготовления прямого вдувания со среднеходными мельницами типа МВС» (вып. 1994 г. СПО ОРГРЭС)
Нормативные ссылки:
РД 34.24.503-96РД 34.24.503-96РД 34.24.503-96РД 34.24.503-96РД 34.24.503-96РД 34.24.503-96РД 34.24.503-96РД 34.24.503-96РД 34.24.503-96РД 34.24.503-96РД 34.24.503-96РД 34.24.503-96РД 34.24.503-96РД 34.24.503-96РД 34.24.503-96РД 34.24.503-96РД 34.24.503-96РД 34.24.503-96РД 34.24.503-96РД 34.24.503-96РД 34.24.503-96РД 34.24.503-96РД 34.24.503-96РД 34.24.503-96РД 34.24.503-96РД 34.24.503-96РД 34.24.503-96РД 34.24.503-96РД 34.24.503-96РД 34.24.503-96РД 34.24.503-96РД 34.24.503-96РД 34.24.503-96РД 34.24.503-96РД 34.24.503-96РД 34.24.503-96РД 34.24.503-96РД 34.24.503-96РД 34.24.503-96РД 34.24.503-96РД 34.24.503-96РД 34.24.503-96РД 34.24.503-96РД 34.24.503-96РД 34.24.503-96РД 34.24.503-96РД 34.24.503-96РД 34.24.503-96РД 34.24.503-96РД 34.24.503-96РД 34.24.503-96РД 34.24.503-96РД 34.24.503-96РД 34.24.503-96РД 34.24.503-96РД 34.24.503-96РД 34.24.503-96РД 34.24.503-96РД 34.24.503-96РД 34.24.503-96РД 34.24.503-96РД 34.24.503-96РД 34.24.503-96РД 34.24.503-96РД 34.24.503-96РД 34.24.503-96РД 34.24.503-96РД 34.24.503-96РД 34.24.503-96РД 34.24.503-96РД 34.24.503-96РД 34.24.503-96РД 34.24.503-96РД 34.24.503-96РД 34.24.503-96РД 34.24.503-96РД 34.24.503-96РД 34.24.503-96

© 2013 Ёшкин Кот :-) Карта сайта