| ||||||||||||||||||||||||||
 Скачать ГОСТ Р 51243-99 Бритвенные системы для влажного бритья. Общие технические условияДата актуализации: 10.08.2017
 | 
| Обозначение: |   ГОСТ Р 51243-99 | 
| Обозначение англ: |   GOST R 51243-99 | 
| Статус: | действует | 
| Название рус.: | Бритвенные системы для влажного бритья. Общие технические условия | 
| Название англ.: | Razor systems for damp shave. General specifications | 
| Дата добавления в базу: | 01.09.2013 | 
| Дата актуализации: | 05.05.2017 | 
| Дата введения: | 01.07.1999 | 
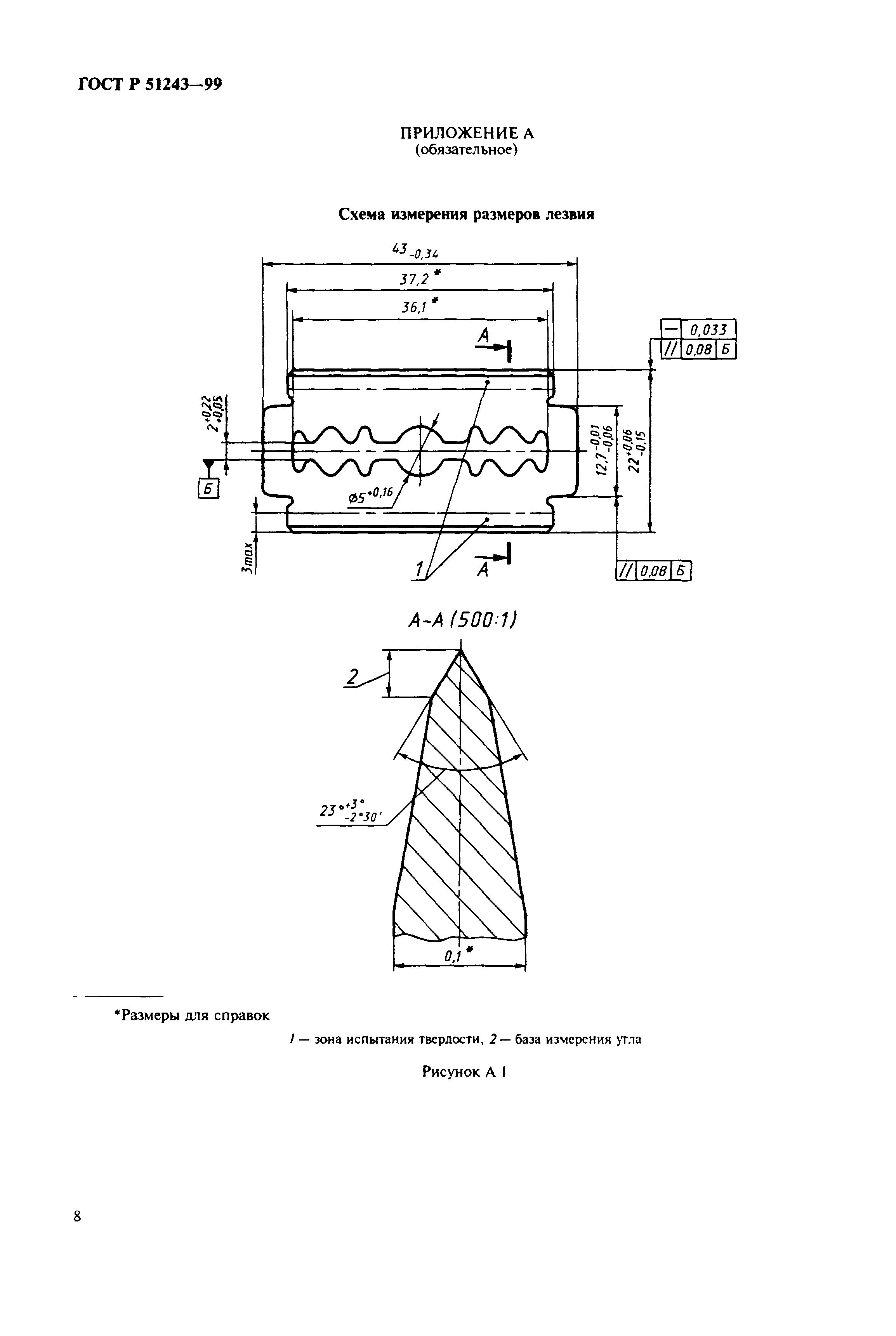
| Оглавление: | 1 Область применения 2 Нормативные ссылки 3 Классификация 4 Общие технические требования 5 Правила приемки 6 Методы контроля 7 Транспортирование и хранение 8 Указания по эксплуатации 9 Гарантии изготовителя Приложение А Схема измерения размеров лезвия Приложение Б Схема измерения угла установки лезвия с двумя бреющими сторонами в бритвенных аппаратах Приложение В Схема проверки правильности расположения кассеты в бритвенном аппарате  | 
| Утверждён: | 19.01.1999 Госстандарт России (Russian Federation Gosstandart 11) | 
| Расположен в: | 











