Информационная система
«Ёшкин Кот»

Скачать базу одним архивом
Скачать обновления
История создания базы
Карта сайта

Скачать ГОСТ Р 51204-98 Изоляторы стержневые полимерные для контактной сети железных дорог. Общие технические условия

Дата актуализации: 10.08.2017

ГОСТ Р 51204-98

Изоляторы стержневые полимерные для контактной сети железных дорог. Общие технические условия

Обозначение: ГОСТ Р 51204-98
Обозначение англ: GOST R 51204-98
Статус:заменен
Название рус.:Изоляторы стержневые полимерные для контактной сети железных дорог. Общие технические условия
Название англ.:Rod polymeric insulators for contact net of railways. General specifications
Дата добавления в базу:01.09.2013
Дата актуализации:05.05.2017
Дата введения:01.07.2014
Область применения:Стандарт распространяется на полимерные изоляторы, предназначенные для изоляции и крепления устройств контактной сети железных дорог переменного тока напряжением 25 кВ частотой до й00 Гц и постоянного тока напряжением 3 кВ в атмосфере с различной степенью загрязненности.
Оглавление:1 Область применения
2 Нормативные ссылки
3 Классификация, основные параметры и размеры
4 Общие технические требования
5 Требования безопасности
6 Правила приемки
7 Методы испытаний
8 Транспортирование и хранение
9 Гарантии изготовителя
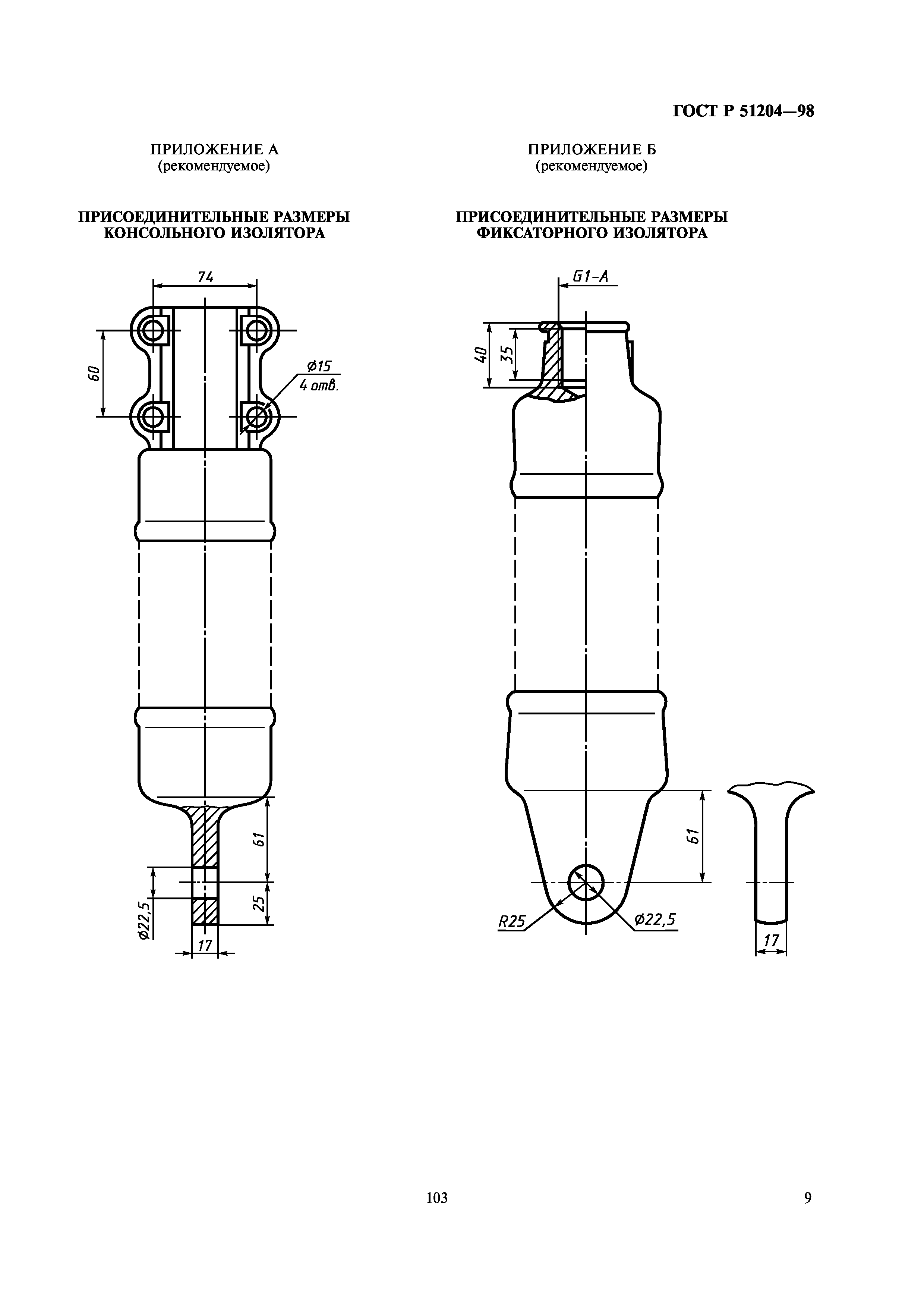
Приложение А (рекомендуемое) Присоединительные размеры консольного изолятора
Приложение Б (рекомендуемое) Присоединительные размеры фиксаторного изолятора
Приложение В (рекомендуемое) Присоединительные размеры натяжного изолятора
Приложение Г (рекомендуемое) Присоединительные размеры подвесного изолятора
Разработан: Внии жт
Утверждён:30.09.1998 Госстандарт России (Russian Federation Gosstandart 361)
Издан: Стандартинформ (2005 г. )
Расположен в:Техническая документация Электроэнергия ЭЛЕКТРОТЕХНИКА Изоляция Изоляторы Экология ЭЛЕКТРОТЕХНИКА Изоляция Изоляторы
Чем заменён:
Нормативные ссылки:
ГОСТ Р 51204-98ГОСТ Р 51204-98ГОСТ Р 51204-98ГОСТ Р 51204-98ГОСТ Р 51204-98ГОСТ Р 51204-98ГОСТ Р 51204-98ГОСТ Р 51204-98ГОСТ Р 51204-98ГОСТ Р 51204-98ГОСТ Р 51204-98ГОСТ Р 51204-98

© 2013 Ёшкин Кот :-) Карта сайта