Информационная система
«Ёшкин Кот»

Скачать базу одним архивом
Скачать обновления
История создания базы
Карта сайта

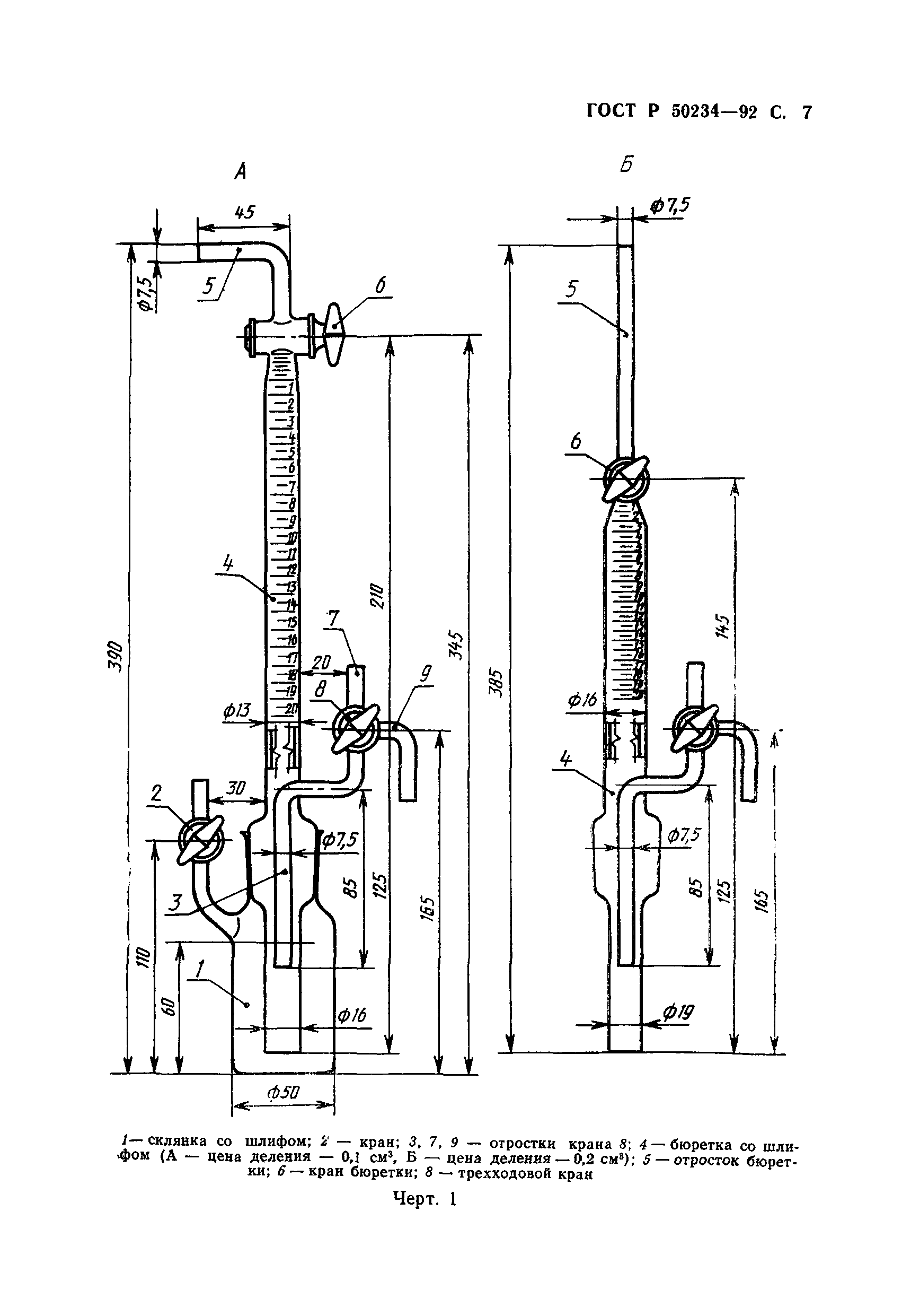
Скачать ГОСТ Р 50234-92 Хлор жидкий. Технические условия

Дата актуализации: 10.08.2017

ГОСТ Р 50234-92

Хлор жидкий. Технические условия

Обозначение: ГОСТ Р 50234-92
Обозначение англ: GOST R 50234-92
Статус:отменен
Название рус.:Хлор жидкий. Технические условия
Название англ.:Liquid chlorine. Specifications
Дата добавления в базу:21.05.2015
Дата актуализации:05.05.2017
Дата введения:01.01.1995
Область применения:Стандарт распространяется на жидкий хлор, применяемый для производства отбеливающих средств, солей, хлорорганических соединений, а также для очистки и стерилизации питьевой воды.
Оглавление:1. Технические требования
2. Требования безопасности
3. Приемка
4. Методы анализа
5. Транспортирование и хранение
6. Гарантии изготовителя
Приложение 1 (обязательное) Методика сушки газообразного азота или воздуха
Приложение 2 (обязательное) Методика определения массовой доли воды в ангидроне
Приложение 3 (обязательное) Хлор жидкий технический. Объемный метод. Определения содержания хлора в выпаренном продукте ИСО 2120-72
Приложение 4 (обязательное) Хлор жидкий технический. Весовой метод определения содержания воды ИСО 2121-72
Приложение 4а Метод проверки степени гидратации перхлората магния, используемого в качестве сушителя при определении содержания воды в хлоре
Разработан: НИИ Синтез
Утверждён:03.09.1992 Госстандарт России (Russian Federation Gosstandart 1100)
Издан: Издательство стандартов (1993 г. )
Расположен в:Техническая документация Электроэнергия ХИМИЧЕСКАЯ ПРОМЫШЛЕННОСТЬ Неорганические химические вещества Химические элементы Экология ХИМИЧЕСКАЯ ПРОМЫШЛЕННОСТЬ Неорганические химические вещества Химические элементы
Нормативные ссылки:
ГОСТ Р 50234-92ГОСТ Р 50234-92ГОСТ Р 50234-92ГОСТ Р 50234-92ГОСТ Р 50234-92ГОСТ Р 50234-92ГОСТ Р 50234-92ГОСТ Р 50234-92ГОСТ Р 50234-92ГОСТ Р 50234-92ГОСТ Р 50234-92ГОСТ Р 50234-92ГОСТ Р 50234-92ГОСТ Р 50234-92ГОСТ Р 50234-92ГОСТ Р 50234-92ГОСТ Р 50234-92ГОСТ Р 50234-92ГОСТ Р 50234-92ГОСТ Р 50234-92ГОСТ Р 50234-92ГОСТ Р 50234-92ГОСТ Р 50234-92ГОСТ Р 50234-92ГОСТ Р 50234-92ГОСТ Р 50234-92ГОСТ Р 50234-92ГОСТ Р 50234-92ГОСТ Р 50234-92ГОСТ Р 50234-92ГОСТ Р 50234-92ГОСТ Р 50234-92ГОСТ Р 50234-92ГОСТ Р 50234-92ГОСТ Р 50234-92

© 2013 Ёшкин Кот :-) Карта сайта