| ||||||||||||||||||||||||||||||||||||
Скачать ГОСТ 9.010-80 Единая система защиты от коррозии и старения. Воздух сжатый для распыления лакокрасочных материалов. Технические требования и методы контроляДата актуализации: 10.08.2017
|
| Обозначение: | ГОСТ 9.010-80 |
| Обозначение англ: | GOST 9.010-80 |
| Статус: | взамен |
| Название рус.: | Единая система защиты от коррозии и старения. Воздух сжатый для распыления лакокрасочных материалов. Технические требования и методы контроля |
| Название англ.: | Unified system of corrosion protection and ageing. Compressed air for atomization of paint materials. Technical requirements |
| Дата добавления в базу: | 01.09.2013 |
| Дата актуализации: | 05.05.2017 |
| Дата введения: | 01.01.1982 |
| Область применения: | Стандарт устанавливает технические требования и методы контроля сжатого воздуха, предназначенного для окрашивания пневматическим распылением, в производственных помещениях. |
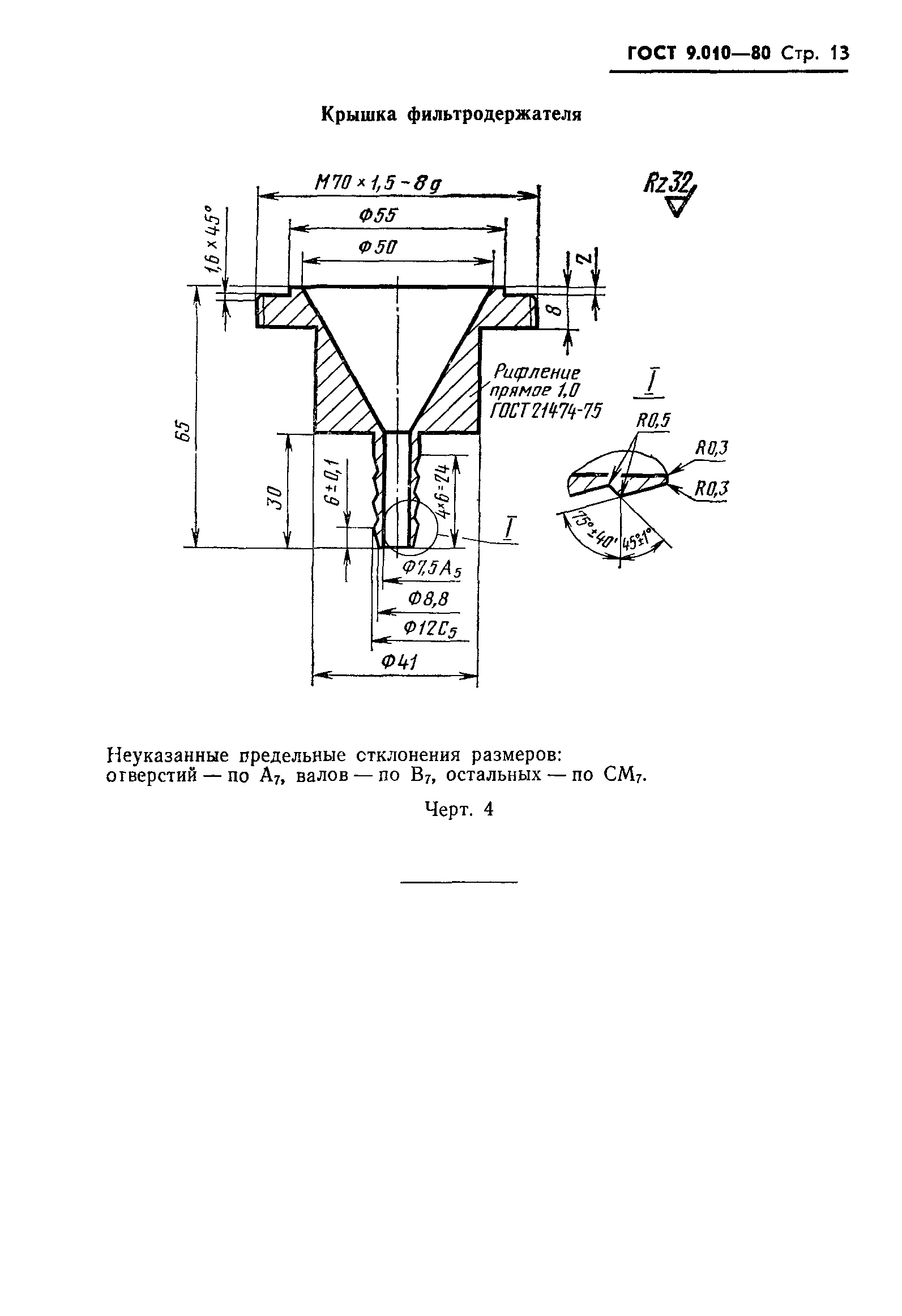
| Оглавление: | 1. Технические требования 2. Методы контроля Приложение 1 (справочное) Рекомендации по выбору оборудования для сушки и очистки сжатого воздуха Приложение 2 (справочное) Перечень приборов и оборудования, применяемых для проверки качества сжатого воздуха Приложение 3 (справочное) Фильтродержатель |
| Утверждён: | 19.03.1980 Государственный комитет СССР по стандартам (USSR National Committee on Standards 1220) |
| Издан: | Издательство стандартов (1987 г. ) |
| Расположен в: | |
| Список изменений: |
|
| Заменяет собой: | |
| Нормативные ссылки: |
|

















Текстовое изменение № 2 от 01.07.1991
