| ||||||||||||||||||||||||||
Скачать ГОСТ 8027-86 Фрезы червячные для шлицевых валов с прямобочным профилем. Технические условияДата актуализации: 10.08.2017
|
| Обозначение: | ГОСТ 8027-86 |
| Обозначение англ: | GOST 8027-86 |
| Статус: | действует |
| Название рус.: | Фрезы червячные для шлицевых валов с прямобочным профилем. Технические условия |
| Название англ.: | Straight-sided flank spline shaft hobs. Specifications |
| Дата добавления в базу: | 01.09.2013 |
| Дата актуализации: | 05.05.2017 |
| Дата введения: | 01.01.1988 |
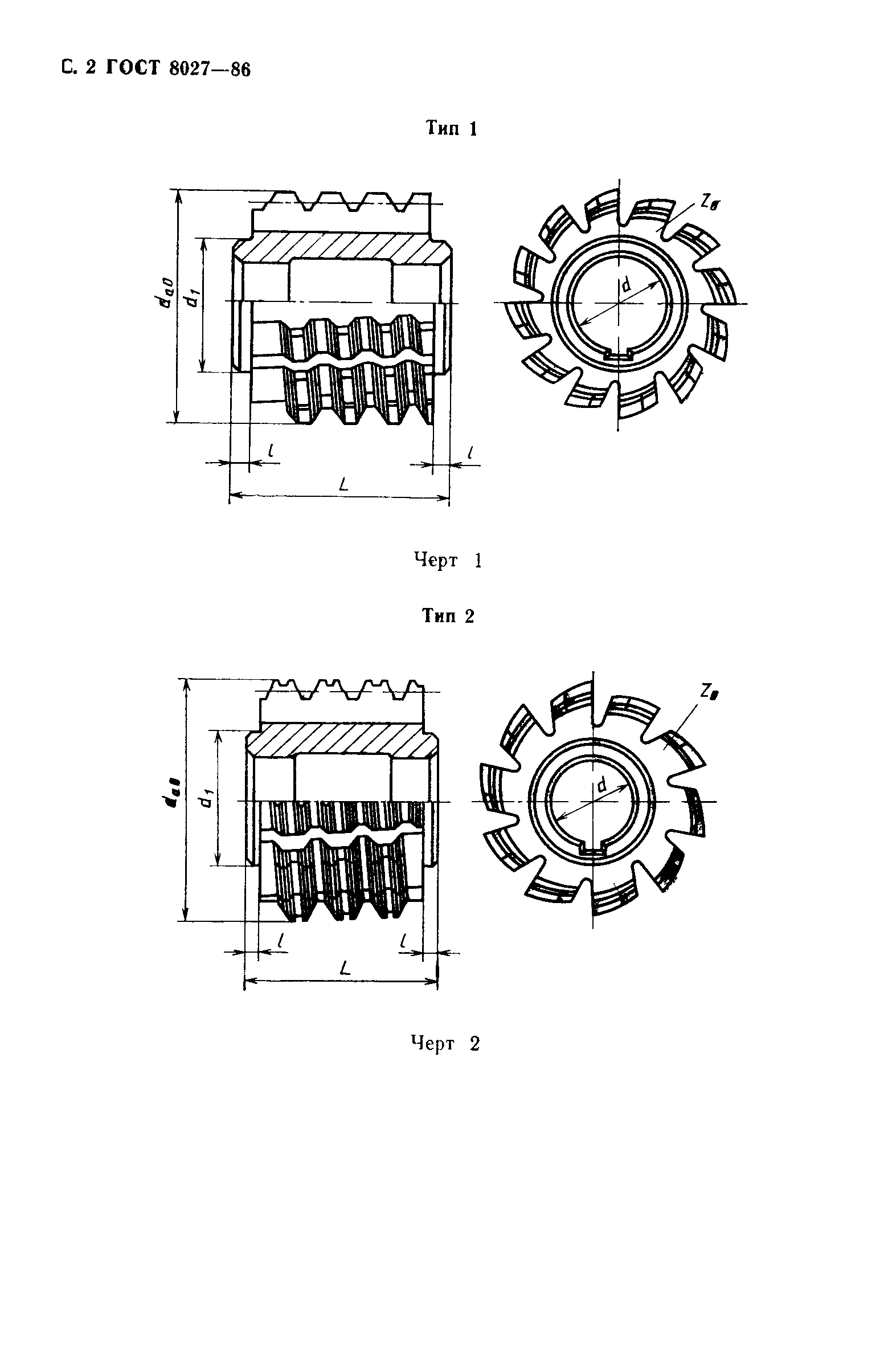
| Оглавление: | 1. Типы и основные размеры 2. Технические требования 3. Правила приемки 4. Методы испытаний 5. Маркировка, упаковка, транспортирование и хранение Приложение 1. Червячные чистовые фрезы для нарезания шлицевых валов с прямоточным профилем по ГОСТ 1139-58 Приложение 2. Заготовки для пробных колец Приложение 3. Рекомендуемое назначение фрез |
| Утверждён: | 19.12.1986 Госстандарт СССР (USSR Gosstandart 4032) |
| Расположен в: |






















