Информационная система
«Ёшкин Кот»

Скачать базу одним архивом
Скачать обновления
История создания базы
Карта сайта

Скачать ГОСТ 8.490-83 Государственная система обеспечения единства измерений. Приборы для измерения межосевого расстояния зубчатых колес. Методика поверки

Дата актуализации: 10.08.2017

ГОСТ 8.490-83

Государственная система обеспечения единства измерений. Приборы для измерения межосевого расстояния зубчатых колес. Методика поверки

Обозначение: ГОСТ 8.490-83
Обозначение англ: GOST 8.490-83
Статус:действует
Название рус.:Государственная система обеспечения единства измерений. Приборы для измерения межосевого расстояния зубчатых колес. Методика поверки
Название англ.:State system for ensuring the uniformity of measurements. Instruments for measurements of gear interaxial distance. Verification technique
Дата добавления в базу:01.09.2013
Дата актуализации:05.05.2017
Дата введения:01.07.1984
Область применения:Стандарт распространяется на приборы для измерения межосевого расстояния зубчатых колес типоразмеров S01, S02 и S01 (по ГОСТ 10387-81 и ГОСТ 5368-81) и устанавливает методику их первичной и периодической поверок.
Оглавление:1. Операции и средства поверки
2. Условия поверки и подготовка к ней
3. Проведение поверки
4. Оформление результатов измерений
Приложение 1 (справочное) Специальное приспособление
Приложение 2 (справочное) Приспособления, применяемые при определении погрешности межосемера
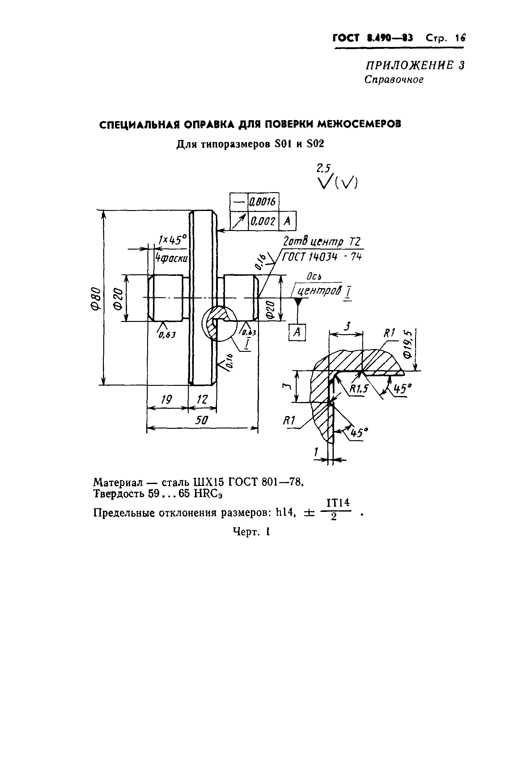
Приложение 3 (справочное) Специальная оправка для поверки межосемеров
Приложение 4 (справочное) Оправки, применяемые при определении погрешности межосемера при измерении червячных колес
Приложение 5 (справочное) Цилиндрический диск
Приложение 6 (справочное) Специальные диски для определения погрешности межосемера при измерении колес внутреннего зацепления
Утверждён:08.07.1983 Государственный комитет СССР по стандартам (USSR National Committee on Standards 3031)
Издан: Издательство стандартов (1987 г. )
Расположен в:Техническая документация Электроэнергия МЕТРОЛОГИЯ И ИЗМЕРЕНИЯ. ФИЗИЧЕСКИЕ ЯВЛЕНИЯ Линейные и угловые измерения Измерительные приборы Экология МЕТРОЛОГИЯ И ИЗМЕРЕНИЯ. ФИЗИЧЕСКИЕ ЯВЛЕНИЯ Линейные и угловые измерения Измерительные приборы
Заменяет собой:
  • МУ 338 «По поверке межцентромеров МЦ-400 Б (МЦ-320)»
  • МУ 339 «По поверке По поверке межцентромеров МЦ-320 М»
  • МУ 340 «По поверке По поверке межцентромеров МЦМ-160»
Нормативные ссылки:
ГОСТ 8.490-83ГОСТ 8.490-83ГОСТ 8.490-83ГОСТ 8.490-83ГОСТ 8.490-83ГОСТ 8.490-83ГОСТ 8.490-83ГОСТ 8.490-83ГОСТ 8.490-83ГОСТ 8.490-83ГОСТ 8.490-83ГОСТ 8.490-83ГОСТ 8.490-83ГОСТ 8.490-83ГОСТ 8.490-83ГОСТ 8.490-83ГОСТ 8.490-83ГОСТ 8.490-83ГОСТ 8.490-83ГОСТ 8.490-83ГОСТ 8.490-83ГОСТ 8.490-83ГОСТ 8.490-83ГОСТ 8.490-83

© 2013 Ёшкин Кот :-) Карта сайта