Информационная система
«Ёшкин Кот»

Скачать базу одним архивом
Скачать обновления
История создания базы
Карта сайта

Скачать ГОСТ 6039-82 Молоты ковочные и штамповочные. Размеры элементов крепления штампов и бойков в бабе и подушке

Дата актуализации: 10.08.2017

ГОСТ 6039-82

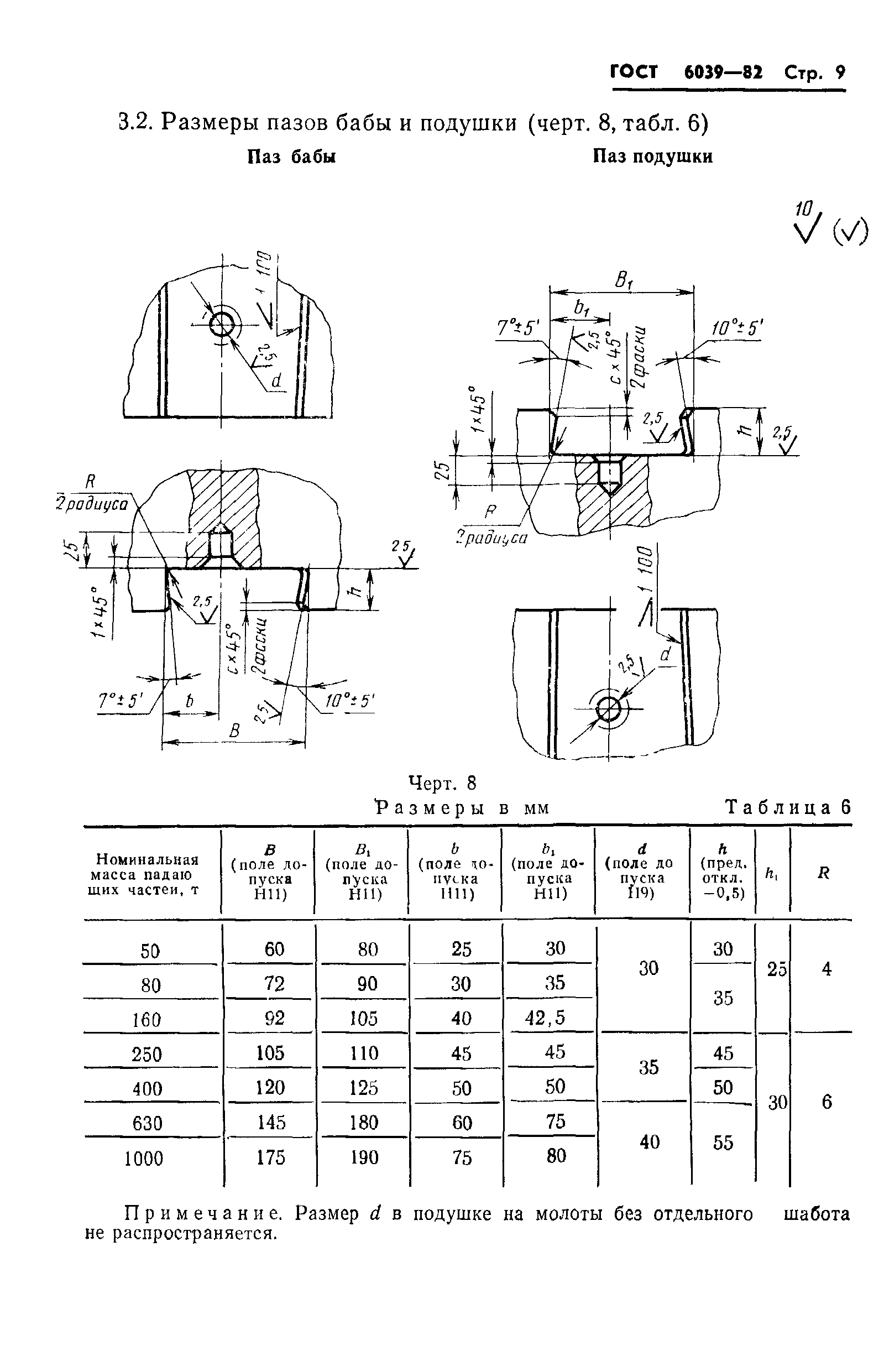
Молоты ковочные и штамповочные. Размеры элементов крепления штампов и бойков в бабе и подушке

Обозначение: ГОСТ 6039-82
Обозначение англ: GOST 6039-82
Статус:действует
Название рус.:Молоты ковочные и штамповочные. Размеры элементов крепления штампов и бойков в бабе и подушке
Название англ.:Forging and stamping hammers. Dimensions for fixing elements of hammer dies and block in tup and cushion
Дата добавления в базу:01.09.2013
Дата актуализации:05.05.2017
Дата введения:01.07.1983
Область применения:Стандарт распространяется на ковочные и штамповочные молоты для производства поковок и выполнения различных операций свободной ковкой, изготовляемые для нужд народного хозяйства и на экспорт.
Разработан: Министерство станкостроительной и инструментальной промышленности
Утверждён:03.09.1982 Госстандарт СССР (USSR Gosstandart 3521)
Издан: Издательство стандартов (1982 г. )
Расположен в:Техническая документация Электроэнергия МАШИНОСТРОЕНИЕ Оборудование для бесстружечной обработки Ковочное оборудование. Прессы. Ножницы Экология МАШИНОСТРОЕНИЕ Оборудование для бесстружечной обработки Ковочное оборудование. Прессы. Ножницы
Заменяет собой:
  • ГОСТ 6039-71 «Молоты ковочные и штамповочные. Размеры элементов крепления штаммпов и бойков в бабе и подушке»
ГОСТ 6039-82ГОСТ 6039-82ГОСТ 6039-82ГОСТ 6039-82ГОСТ 6039-82ГОСТ 6039-82ГОСТ 6039-82ГОСТ 6039-82ГОСТ 6039-82ГОСТ 6039-82ГОСТ 6039-82ГОСТ 6039-82ГОСТ 6039-82ГОСТ 6039-82ГОСТ 6039-82ГОСТ 6039-82

© 2013 Ёшкин Кот :-) Карта сайта