| ||||||||||||||||||||||||||||||||||
 Скачать ГОСТ 28345-89 Единообразные предписания, касающиеся конструкции маломестных транспортных средств общего пользованияДата актуализации: 10.08.2017
 | 
| Обозначение: |   ГОСТ 28345-89 | 
| Обозначение англ: |   GOST 28345-89 | 
| Статус: | отменен в рф | 
| Название рус.: | Единообразные предписания, касающиеся конструкции маломестных транспортных средств общего пользования | 
| Название англ.: | Uniform provisions concerning the construction of small capacity public service vehicles | 
| Дата добавления в базу: | 01.10.2014 | 
| Дата актуализации: | 05.05.2017 | 
| Дата введения: | 01.01.2002 | 
| Область применения: | Правила применяются к одноэтажным автобусам общего пользования, сконструированным в изготовленным для перевозок сидящих людей, вместимостью более восьми, но не более шестнадцати пассажиров, кроме водителя. | 
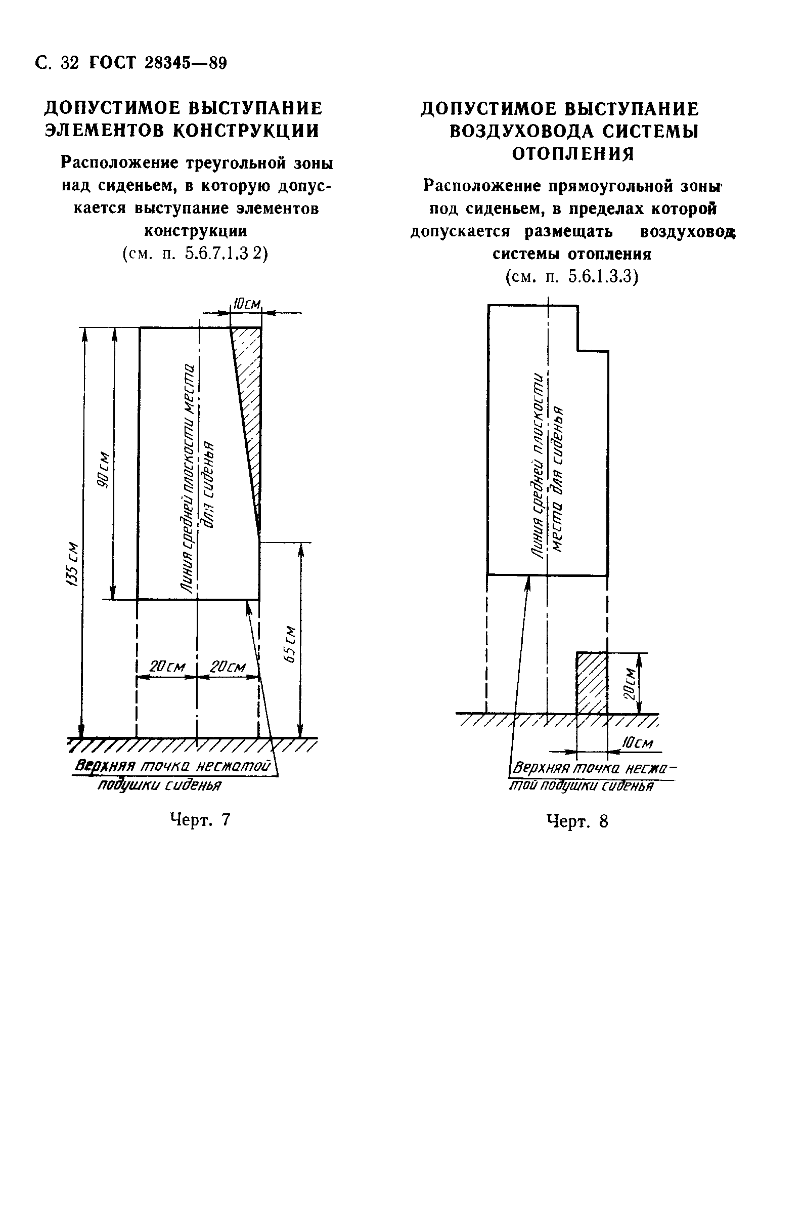
| Оглавление: | 1. Область применения 2 Определения 3. Заявка на официальное утверждение 4 Официальное утверждение 5. Технические требования 6. Регистрация автобусов 7. Изменения типа автобуса 8. Соответствие продукции 9 Санкции за несоответствие продукции 10. Прекращение производства продукции 11 Наименования и адреса технических служб, уполномоченных проводить испытания для официального утверждения, и административных органов Приложение 1. Извещение об официальном утверждении (или отказе в официальном утверждении или об отмене официального утверждения) типа автобуса в отношении характеристик его конструкции на основании Правил № 52 Приложение 2. Схемы знаков официального утверждения Приложение 3. Пояснительные схемы  | 
| Разработан: |  Министерство автомобильного и сельскохозяйственного машиностроения СССР | 
| Утверждён: | 24.11.1989 Государственный комитет СССР по управлению качеством продукции и стандартам (USSR National Committee on Standards and Product Quality Management 3440) | 
| Издан: |  Издательство стандартов (1990 г. ) | 
| Расположен в: | |
| Список изменений: | 
  | 











































  Текстовое изменение № 1 от 01.07.1995
