Информационная система
«Ёшкин Кот»

Скачать базу одним архивом
Скачать обновления
История создания базы
Карта сайта

Скачать ГОСТ 28147-89 Системы обработки информации. Защита криптографическая. Алгоритмы криптографического преобразования

Дата актуализации: 10.08.2017

ГОСТ 28147-89

Системы обработки информации. Защита криптографическая. Алгоритмы криптографического преобразования

Обозначение: ГОСТ 28147-89
Обозначение англ: GOST 28147-89
Статус:действует
Название рус.:Системы обработки информации. Защита криптографическая. Алгоритмы криптографического преобразования
Название англ.:Information Processing Systems - Cryptographic Security - Cryptographic Processing Algorithm
Дата добавления в базу:01.09.2013
Дата актуализации:05.05.2017
Дата введения:01.07.1990
Оглавление:1. Структурная схема алгоритма криптографического преобразования
2. Режим простой замены
3. Режим гаммирования
4. Режим гаммирования с обратной связью
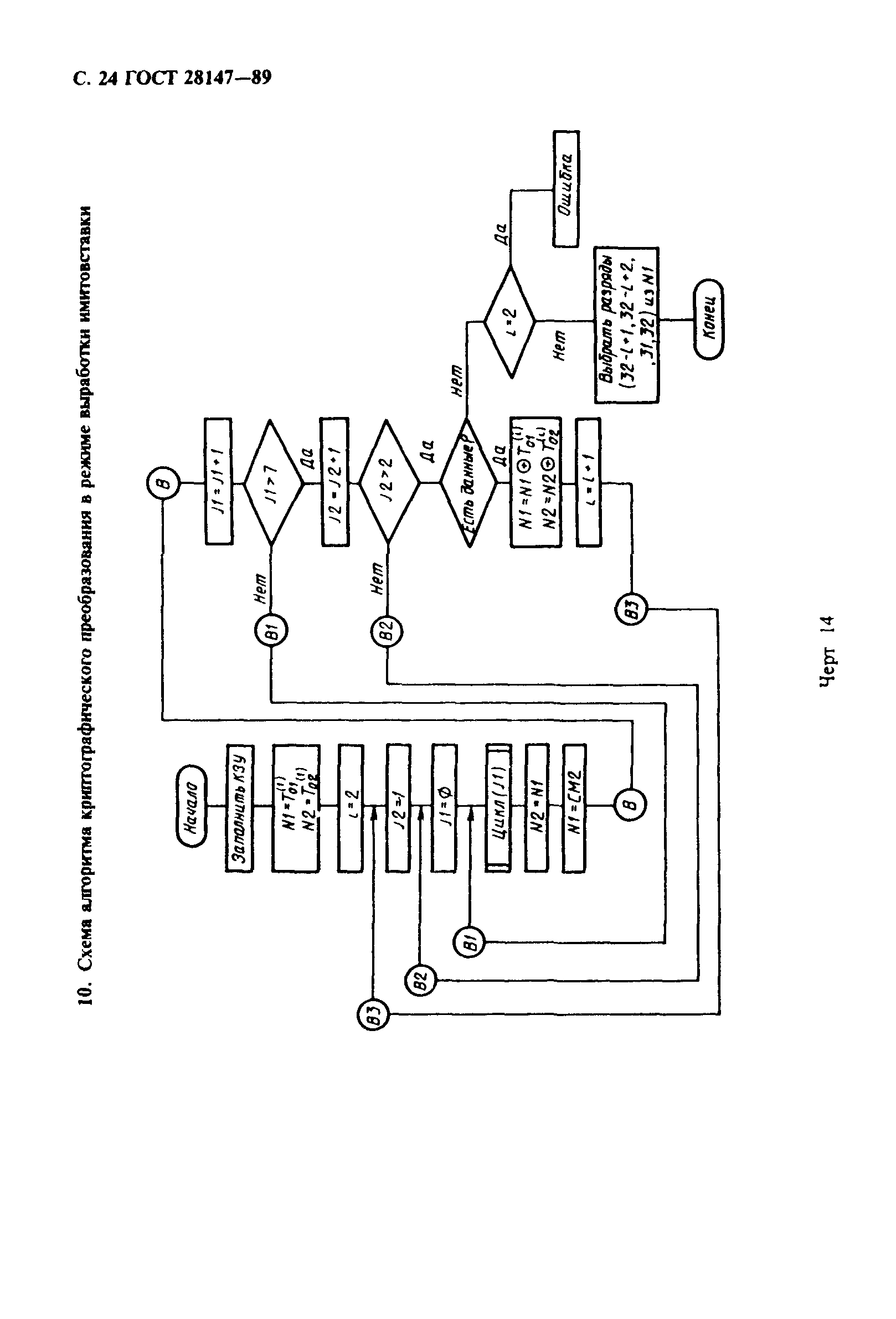
5. Режим выработки имитовставки
Приложение 1. Термины, применяемые в настоящем стандарте, и их определения
Приложение 2. Значение констант С1, С2
Приложение 3. Схемы программной реализации алгоритма криптографического преобразования
Приложение 4. Правила суммирования по модулю 2 в степени 32 и по модулю 2 в степени 32 минус 1
Утверждён:02.06.1989 Госстандарт СССР (USSR Gosstandart 1409)
Расположен в:Техническая документация Электроэнергия ИНФОРМАЦИОННЫЕ ТЕХНОЛОГИИ. МАШИНЫ КОНТОРСКИЕ Наборы знаков и кодирование информации Экология ИНФОРМАЦИОННЫЕ ТЕХНОЛОГИИ. МАШИНЫ КОНТОРСКИЕ Наборы знаков и кодирование информации
ГОСТ 28147-89ГОСТ 28147-89ГОСТ 28147-89ГОСТ 28147-89ГОСТ 28147-89ГОСТ 28147-89ГОСТ 28147-89ГОСТ 28147-89ГОСТ 28147-89ГОСТ 28147-89ГОСТ 28147-89ГОСТ 28147-89ГОСТ 28147-89ГОСТ 28147-89ГОСТ 28147-89ГОСТ 28147-89ГОСТ 28147-89ГОСТ 28147-89ГОСТ 28147-89ГОСТ 28147-89ГОСТ 28147-89ГОСТ 28147-89ГОСТ 28147-89ГОСТ 28147-89ГОСТ 28147-89ГОСТ 28147-89ГОСТ 28147-89ГОСТ 28147-89

© 2013 Ёшкин Кот :-) Карта сайта