Информационная система
«Ёшкин Кот»

Скачать базу одним архивом
Скачать обновления
История создания базы
Карта сайта

Скачать ГОСТ 27222-91 Машины электрические вращающиеся. Измерение сопротивления обмоток машин переменного тока без отключения от сети

Дата актуализации: 10.08.2017

ГОСТ 27222-91

Машины электрические вращающиеся. Измерение сопротивления обмоток машин переменного тока без отключения от сети

Обозначение: ГОСТ 27222-91
Обозначение англ: GOST 27222-91
Статус:действует
Название рус.:Машины электрические вращающиеся. Измерение сопротивления обмоток машин переменного тока без отключения от сети
Название англ.:Ratating electrical machines. Measurement of the winding resistance of an a.c. machine without switching-off net work
Дата добавления в базу:01.09.2013
Дата актуализации:05.05.2017
Дата введения:01.01.1992
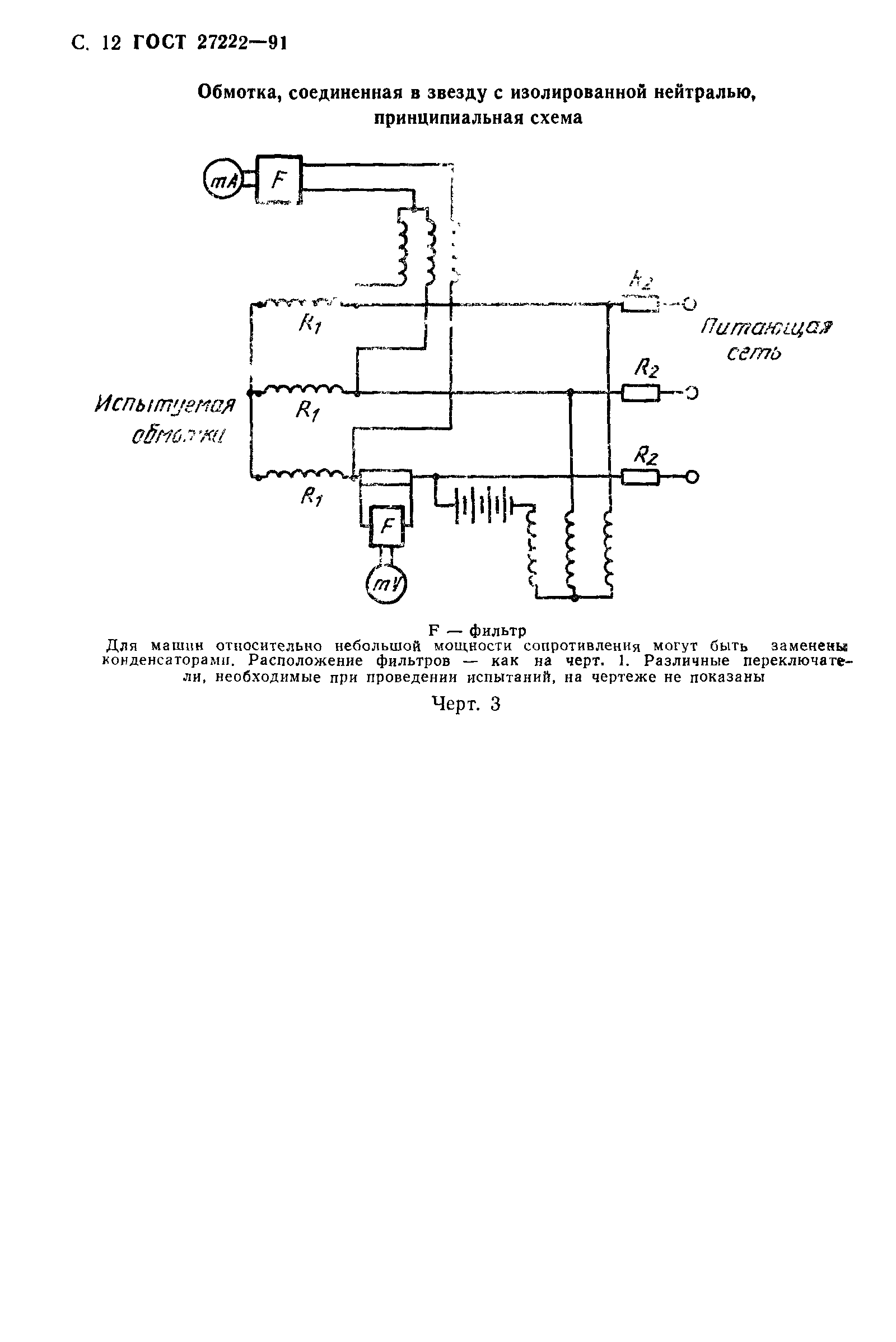
Оглавление:1 Сущность метода
2 Схемы вольтметра-амперметра
3 Схемы с использованием измерительных мостов
Приложение А - метод вольтметра-амперметра
Утверждён:30.01.1991 Госстандарт России (Russian Federation Gosstandart 74)
Расположен в:Техническая документация Электроэнергия ЭЛЕКТРОТЕХНИКА Машины электрические вращающиеся Машины вращающиеся в целом Экология ЭЛЕКТРОТЕХНИКА Машины электрические вращающиеся Машины вращающиеся в целом
ГОСТ 27222-91ГОСТ 27222-91ГОСТ 27222-91ГОСТ 27222-91ГОСТ 27222-91ГОСТ 27222-91ГОСТ 27222-91ГОСТ 27222-91ГОСТ 27222-91ГОСТ 27222-91ГОСТ 27222-91ГОСТ 27222-91ГОСТ 27222-91ГОСТ 27222-91ГОСТ 27222-91ГОСТ 27222-91ГОСТ 27222-91ГОСТ 27222-91ГОСТ 27222-91ГОСТ 27222-91

© 2013 Ёшкин Кот :-) Карта сайта