| ||||||||||||||||||||||||||||||||||||||
Скачать ГОСТ 26586-85 Бутылки стеклянные для пищевых жидкостей, поставляемых для экспорта. Технические условияДата актуализации: 10.08.2017
|
| Обозначение: | ГОСТ 26586-85 |
| Обозначение англ: | GOST 26586-85 |
| Статус: | заменен полностью по частям |
| Название рус.: | Бутылки стеклянные для пищевых жидкостей, поставляемых для экспорта. Технические условия |
| Название англ.: | Glass bottles for food liguids supplied for export. Specifications |
| Дата добавления в базу: | 01.10.2014 |
| Дата актуализации: | 05.05.2017 |
| Дата введения: | 01.01.2003 |
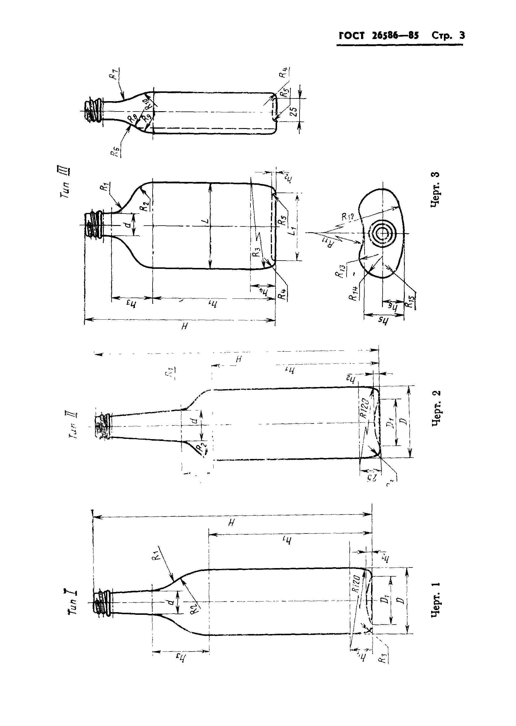
| Область применения: | Стандарт распространяется на стеклянные бутылки, предназначенные для пищевых жидкостей, поставляемых на экспорт. |
| Оглавление: | 1. Типы и размеры 2. Технические требования 3. Правила приемки 4. Методы контроля 5. Упаковка, маркировка, транспортирование и хранение Приложение 1 (обязательное) Обозначение кодов ОКП Приложение 2 (справочное) Примеры нанесения маркировки на дно бутылки |
| Разработан: | Министерство промышленности строительных материалов СССР |
| Утверждён: | 03.07.1985 Государственный комитет СССР по стандартам (USSR National Committee on Standards 2119) |
| Издан: | Издательство стандартов (1985 г. ) |
| Расположен в: | |
| Список изменений: |
|
| Чем заменён: | |
| Нормативные ссылки: |
|






















Текстовое изменение Поправка от 01.04.1999