| ||||||||||||||||||||||||||||||||||||
 Скачать ГОСТ 26384-84 Банки жестяные цилиндрические круглые для консервов. Размеры конструктивных элементовДата актуализации: 10.08.2017
 | 
| Обозначение: |   ГОСТ 26384-84 | 
| Обозначение англ: |   GOST 26384-84 | 
| Статус: | действует | 
| Название рус.: | Банки жестяные цилиндрические круглые для консервов. Размеры конструктивных элементов | 
| Название англ.: | Cylindric round tins for canned food. Sizes of constructive elements | 
| Дата добавления в базу: | 01.09.2013 | 
| Дата актуализации: | 05.05.2017 | 
| Дата введения: | 01.01.1985 | 
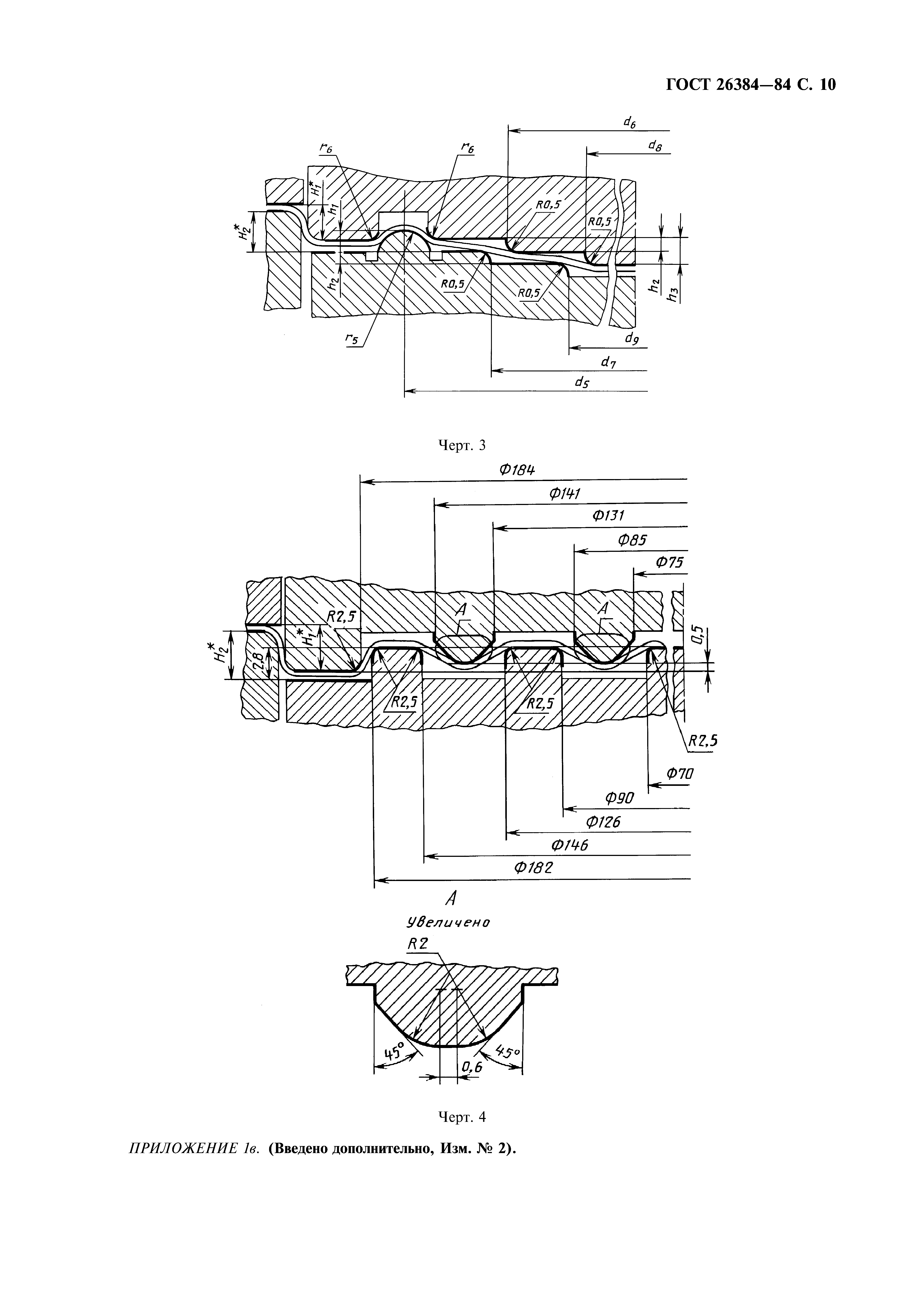
| Область применения: | Стандарт распространяется на цилиндрические круглые банки по ГОСТ 5981 и крышки к ним, изготовляемые из жести, и устанавливает форму и размеры конструктивных элементов неукупоренных банок и крышек, а также размеры профилей формующих частей штампов, предназначенных для изготовления концов. | 
| Оглавление: | Назначение и область применения Общая часть Приложение 1а Размеры профилей формующихся деталей штампов для концов Приложение 1б Диаметры режущих поверхностей матрицы и пуансона к штампам для концов Приложение 1в Размеры рельефов матриц и пуансонов к штампам для концов Приложение 2 Параметры закаточного шва Приложение 3 Размеры заготовок для изготовления корпусов банок  | 
| Разработан: |  Министерство машиностроения для легкой и пищевой промышленности и бытовых приборов СССР | 
| Утверждён: | 20.12.1984 Госстандарт СССР (USSR Gosstandart 4851) | 
| Издан: |  Издательство стандартов (1985 г. ) Стандартинформ (2008 г. )  | 
| Расположен в: | |
| Список изменений: | 
  | 
| Заменяет собой: | 
  | 
















  Текстовое изменение № 1 от 01.01.1987
  Текстовое изменение № 2 от 01.01.1988





