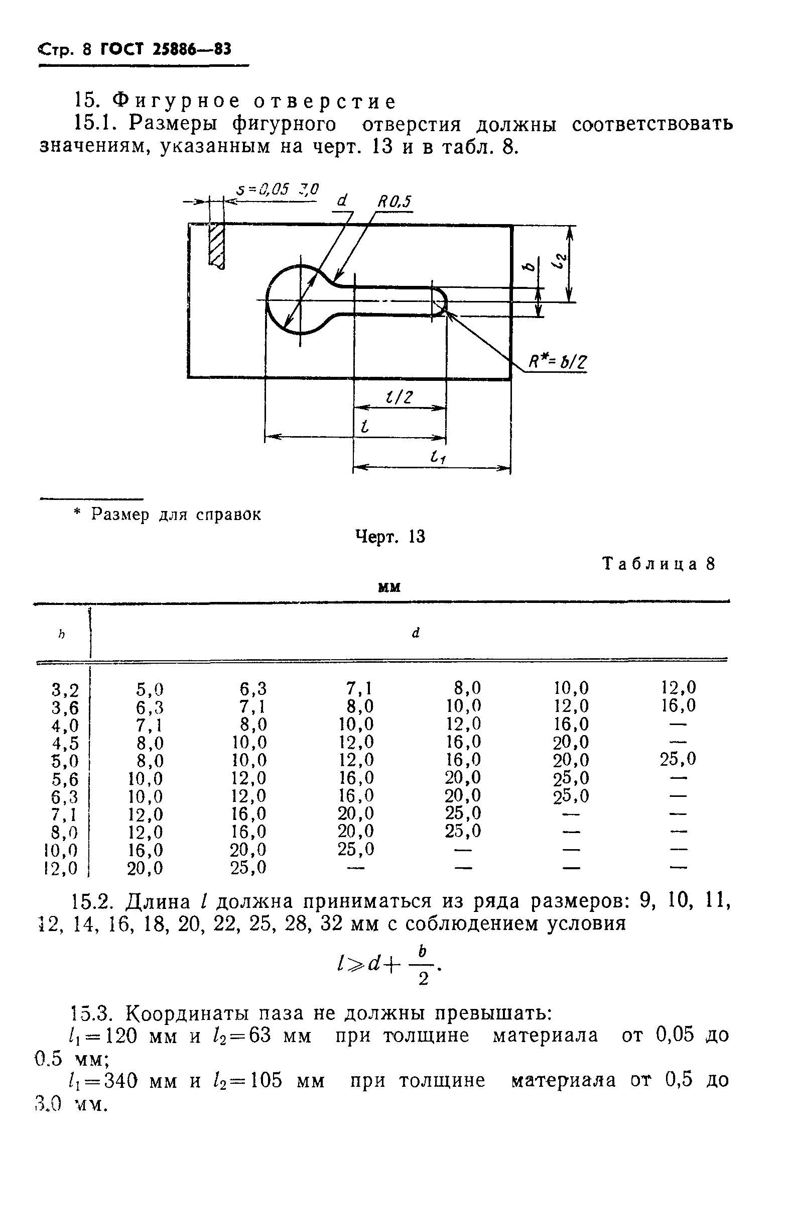
Скачать ГОСТ 25886-83 Детали из листового проката, штампуемые с применением универсально-переналаживаемых штампов. Типы, формы и размеры основных элементовДата актуализации: 10.08.2017 ГОСТ 25886-83
Детали из листового проката, штампуемые с применением универсально-переналаживаемых штампов. Типы, формы и размеры основных элементов| Обозначение: | ГОСТ 25886-83 | | Обозначение англ: | GOST 25886-83 | | Статус: | действует | | Название рус.: | Детали из листового проката, штампуемые с применением универсально-переналаживаемых штампов. Типы, формы и размеры основных элементов | | Название англ.: | Elements made of rolled sheets to be stamped by means of all-purpose readjustable dies. Types, forms and sizes of main parts | | Дата добавления в базу: | 01.09.2013 | | Дата актуализации: | 05.05.2017 | | Дата введения: | 01.01.1985 | | Утверждён: | 25.07.1983 Госстандарт СССР (USSR Gosstandart 3429)
| | Расположен в: |
|
          
|